background image

E1702S Slim Scanner Controller

Users Manual

© 2023-2026 by HALaser Systems GmbH

1

background image

Table of Contents

1  Copyright.........................................................................................................................................................................................................4
2  History..............................................................................................................................................................................................................7
3  Safety................................................................................................................................................................................................................9
4  Overview......................................................................................................................................................................................................10

4.1  Features..............................................................................................................................................................................................10

4.1.1  E1702S XY2-100/XY3-100/NX-02 Digital Laser Scanner Controller Baseboard...................................10
4.1.2  E1702 Digi I/O Extension Board....................................................................................................................................11
4.1.3  E1702 Secondary Head Extension Board..................................................................................................................11

4.2  E1701D / E1702S Comparison.................................................................................................................................................11

5  Position Within The System..................................................................................................................................................................12
6  Boards And Connectors.........................................................................................................................................................................13

6.1  E1702S XY2-100/XY3-100 / NX-02 Slim Laser Scanner Controller Baseboard.................................................13

6.1.1  Ethernet...................................................................................................................................................................................13

6.1.1.1  Ethernet Configuration With Windows 10..............................................................................................14
6.1.1.2  Ethernet Configuration With Windows 11..............................................................................................15
6.1.1.3  Ethernet Configuration With Linux.............................................................................................................15

6.1.2  USB.............................................................................................................................................................................................16
6.1.3  Power........................................................................................................................................................................................17
6.1.4  Power LED...............................................................................................................................................................................17
6.1.5  User LEDs................................................................................................................................................................................17
6.1.6  Laser LEDs...............................................................................................................................................................................18
6.1.7  Reset-Button..........................................................................................................................................................................18
6.1.8  microSD-Card........................................................................................................................................................................18

6.1.8.1  Firmware Update................................................................................................................................................25

6.1.9  Laser/Scanner Signals........................................................................................................................................................25

6.1.9.1  XY2-100(E) Operation Mode.........................................................................................................................25
6.1.9.2  XY3-100 Operation Mode..............................................................................................................................26
6.1.9.3  NX-02 Operation Mode...................................................................................................................................27
6.1.9.4  XY2-100 Connection Cable............................................................................................................................27
6.1.9.5  XY3-100 Connection Cable............................................................................................................................28

6.1.10  Extension Connectors.....................................................................................................................................................29
6.1.11  Stand-Alone Operation...................................................................................................................................................30

6.1.11.1  Stand-Alone Operation with EPR files....................................................................................................30
6.1.11.1.1  Create Stand-Alone EPR Data with BeamConstruct....................................................................31
6.1.11.2  Stand-Alone Operation with BEAMP files.............................................................................................32
6.1.11.3  Stand-Alone Configuration Parameters.................................................................................................32
6.1.11.4  Stand-Alone Control.......................................................................................................................................35

6.2  E1702 Digi I/O Extension Board..............................................................................................................................................36

6.2.1  Digi I/O......................................................................................................................................................................................36

6.2.1.1  Marking On-The-Fly Signals...........................................................................................................................38

6.2.2  Opto-Configuration............................................................................................................................................................39
6.2.3  Input State LEDs...................................................................................................................................................................39

6.3  E1702 Secondary Head Extension Board............................................................................................................................40

6.3.1  Scanner Signals......................................................................................................................................................................40

6.4  E1702Sdock Extension Board...................................................................................................................................................43

6.4.1  E1702Sdock Connectors..................................................................................................................................................43
6.4.2  E1702Sdock Wiring............................................................................................................................................................47

6.5  E170Xbase.........................................................................................................................................................................................48

7  Quick Start into E1702S.........................................................................................................................................................................49
8  Command Interface.................................................................................................................................................................................50

8.1  General Commands.......................................................................................................................................................................50
8.2  Stand-Alone Control Commands.............................................................................................................................................51

8.2.1  EPR specific commands.....................................................................................................................................................57
8.2.2  BEAMP specific commands..............................................................................................................................................57

8.3  Hardware Commands...................................................................................................................................................................58
8.4  Mark Control Commands............................................................................................................................................................59

9  Supported CNC G-Code Commands................................................................................................................................................67

2

background image

9.1  General G-Code Characters.......................................................................................................................................................67
9.2  Supported “G”-codes.....................................................................................................................................................................67
9.3  Supported “M”-codes....................................................................................................................................................................69
9.4  Supported “T”-codes......................................................................................................................................................................71
9.5  Control Protocol.............................................................................................................................................................................71

10  Programming Interfaces......................................................................................................................................................................73

10.1  E1702 Easy Interface Functions............................................................................................................................................73

10.1.1  Laser Port Specific Functions.......................................................................................................................................90
10.1.2  Ditigal IO Functions..........................................................................................................................................................92
10.1.3  Stepper Motor Motion Functions...............................................................................................................................95
10.1.4  Miscellaneous functions.................................................................................................................................................97
10.1.5  Writing of stand-alone data..........................................................................................................................................98

10.1.5.1  Example.............................................................................................................................................................101

10.1.6  Error Codes.......................................................................................................................................................................102

APPENDIX A – Wiring between E1702S and specific laser types.........................................................................................104

Wiring between E1702S and IPG YLP Series Type B, B1 and B2, GZTech YFPN series fiber laser...................104
Wiring between E1702S and JPT YDFLP series fiber laser (“MOPA”) or IPG YLP Series Type D fiber laser or 
Raycus RFL PMX/PQB Series fiber laser....................................................................................................................................105
Wiring between E1702S and IPG YLP Series Type E fiber laser.......................................................................................106
Wiring between E1702S and IPG YLP Series Type F fiber laser.......................................................................................107
Wiring between E1702S and Raycus fiber laser.....................................................................................................................108
Wiring between E1702S and MaxPhotonics MFP fiber laser...........................................................................................109
Wiring between E1702S and DAVI D-Series RF CO

2

 Laser...............................................................................................110

Wiring between E1702S and GZTECH S355 series DPSS Laser.....................................................................................111

APPENDIX B – E1701D Compatibility Adaptor............................................................................................................................112
APPENDIX C – IDC connector pin numbering...............................................................................................................................114
APPENDIX D – E1702S XY2-100 protocol description.............................................................................................................115
APPENDIX E – E1702S XY3-100 protocol description..............................................................................................................116
APPENDIX F – E1702S SL2-100 protocol description...............................................................................................................117
APPENDIX G – Board dimensions.......................................................................................................................................................118

3

background image

1 Copyright

This document is © by HALaser Systems.

E1702 base- and extension boards, their hardware and design are copyright / trademark / legal trademark of 
HALaser Systems.

IPG and other are copyright / trademark / legal trademark of IPG Laser GmbH / IPG Photonics Corporation.

Scanlab, RTC4, RTC5, SL2-100 and other are copyright / trademark / legal trademark of Scanlab AG.

SCAPS, USC1, USC2 and other are copyright / trademark / legal trademark of SCAPS GmbH.

Raylase, SP-ICE, RL3-100 and other are copyright / trademark / legal trademark of Raylase AG.

Rofin, Rofin-Sinar, Visual Laser Marker and others are copyright / trademark / legal trademark of Raylase AG.

Sunny, CSC-USB and other are copyright / trademark / legal trademark of Beijing Century Sunny Technology 
CO., LTD

CTI, Cambridge Technology, Novanta  and other are copyright / trademark / legal trademark of Novanta Inc.

Han’s, Han’s Laser and other are copyright / trademark / legal trademark of Han’s Laser Technology Industry 
Group Co., Ltd.

All other names / trademarks are copyright / trademark / legal trademark of their respective owners.

Portions of the E1702 firmware are based on lwIP 1.4.0 (or newer):

Copyright (c) 2001, 2002 Swedish Institute of Computer Science.
All rights reserved.
Redistribution and use in source and binary forms, with or without modification, are permitted provided that 
the following conditions are met:

1.Redistributions of source code must retain the above copyright notice, this list of conditions and the following 
disclaimer.
2.Redistributions in binary form must reproduce the above copyright notice, this list of conditions and the 
following disclaimer in the documentation and/or other materials provided with the distribution.
3.The name of the author may not be used to endorse or promote products derived from this software without 
specific prior written permission.

THIS SOFTWARE IS PROVIDED BY THE AUTHOR ``AS IS'' AND ANY EXPRESS OR IMPLIED WARRANTIES, 
INCLUDING, BUT NOT LIMITED TO, THE IMPLIED WARRANTIES OF MERCHANTABILITY AND FITNESS 
FOR A PARTICULAR PURPOSE ARE DISCLAIMED. IN NO EVENT SHALL THE AUTHOR BE LIABLE FOR ANY 
DIRECT, INDIRECT, INCIDENTAL, SPECIAL, EXEMPLARY, OR CONSEQUENTIAL DAMAGES (INCLUDING, 
BUT NOT LIMITED TO, PROCUREMENT
OF SUBSTITUTE GOODS OR SERVICES; LOSS OF USE, DATA, OR PROFITS; OR BUSINESS
INTERRUPTION) HOWEVER CAUSED AND ON ANY THEORY OF LIABILITY, WHETHER IN CONTRACT, 
STRICT LIABILITY, OR TORT (INCLUDING NEGLIGENCE OR OTHERWISE) ARISING IN ANY WAY OUT OF 
THE USE OF THIS SOFTWARE, EVEN IF ADVISED OF THE POSSIBILITY
OF SUCH DAMAGE.

Portions of the E1702 firmware are based on FatFS R0.10a (or newer):

FatFs module is an open source software to implement FAT file system to small embedded systems. This is a 
free software and is opened for education,  research and commercial developments under license policy of 
following terms.

4

background image

Copyright (C) 2014, ChaN, all right reserved.

The FatFs module is a free software and there is NO WARRANTY.

No restriction on use. You can use, modify and redistribute it for personal, non-profit or commercial product 

UNDER YOUR RESPONSIBILITY.

Redistributions of source code must retain the above copyright notice.

Portions of the E1702 firmware are based on StarterWare 2.0 (or newer):

Copyright (C) 2010 Texas Instruments Incorporated - http://www.ti.com/

Redistribution and use in source and binary forms, with or without
modification, are permitted provided that the following conditions are met:

Redistributions of source code must retain the above copyright notice, this list of conditions and the following 

disclaimer.

Redistributions in binary form must reproduce the above copyright notice, this list of conditions and the 

following disclaimer in the documentation and/or other materials provided with the distribution.

Neither the name of Texas Instruments Incorporated nor the names of its contributors may be used to endorse 

or promote products derived from this software without specific prior written permission.

THIS SOFTWARE IS PROVIDED BY THE COPYRIGHT HOLDERS AND CONTRIBUTORS "AS IS" AND ANY 
EXPRESS OR IMPLIED WARRANTIES, INCLUDING, BUT NOT LIMITED TO, THE IMPLIED WARRANTIES OF 
MERCHANTABILITY AND FITNESS FOR A PARTICULAR PURPOSE ARE DISCLAIMED. IN NO EVENT SHALL 
THE COPYRIGHT OWNER OR CONTRIBUTORS BE LIABLE FOR ANY DIRECT, INDIRECT, INCIDENTAL, 
SPECIAL, EXEMPLARY, OR CONSEQUENTIAL DAMAGES (INCLUDING, BUT NOT LIMITED TO, 
PROCUREMENT OF SUBSTITUTE GOODS OR SERVICES; LOSS OF USE, DATA, OR PROFITS; OR BUSINESS 
INTERRUPTION) HOWEVER CAUSED AND ON ANY THEORY OF LIABILITY, WHETHER IN CONTRACT, 
STRICT LIABILITY, OR TORT (INCLUDING NEGLIGENCE OR OTHERWISE) ARISING IN ANY WAY OUT OF 
THE USE OF THIS SOFTWARE, EVEN IF ADVISED OF THE POSSIBILITY OF SUCH DAMAGE.

Copyright (c) 2008-2010 Texas Instruments Incorporated. All rights reserved.

Software License Agreement

Texas Instruments (TI) is supplying this software for use solely and exclusively on TI's microcontroller products. 
The software is owned by TI and/or its suppliers, and is protected under applicable copyright laws. You may not 
combine this software with "viral" open-source software in order to form a larger program.

THIS SOFTWARE IS PROVIDED "AS IS" AND WITH ALL FAULTS. NO WARRANTIES, WHETHER EXPRESS, 
IMPLIED OR STATUTORY, INCLUDING, BUT NOT LIMITED TO, IMPLIED WARRANTIES OF 
MERCHANTABILITY AND FITNESS FOR A PARTICULAR PURPOSE APPLY TO THIS SOFTWARE. TI SHALL 
NOT, UNDER ANY CIRCUMSTANCES, BE LIABLE FOR SPECIAL, INCIDENTAL, OR CONSEQUENTIAL 
DAMAGES, FOR ANY REASON WHATSOEVER.

This is part of AM1808 Sitaraware USB Library and reused from revision 6288 of the Stellaris USB Library.

Portions of the E1702 firmware are based on libzint-backend 2.0 (or newer):

libzint - the open source barcode library, Copyright (C) 2008-2017 Robin Stuart <rstuart114@gmail.com>

Redistribution and use in source and binary forms, with or without modification, are permitted provided that 
the following conditions are met:

1. Redistributions of source code must retain the above copyright notice, this list of conditions and the 

following disclaimer.

2. Redistributions in binary form must reproduce the above copyright notice, this list of conditions and 

the following disclaimer in the documentation and/or other materials provided with the distribution.

5

background image

3. Neither the name of the project nor the names of its contributors may be used to endorse or promote 

products derived from this software without specific prior written permission.

THIS SOFTWARE IS PROVIDED BY THE COPYRIGHT HOLDERS AND CONTRIBUTORS "AS IS" AND ANY 
EXPRESS OR IMPLIED WARRANTIES, INCLUDING, BUT NOT LIMITED TO, THE IMPLIED WARRANTIES OF 
MERCHANTABILITY AND FITNESS FOR A PARTICULAR PURPOSE ARE DISCLAIMED.  IN NO EVENT SHALL 
THE COPYRIGHT OWNER OR CONTRIBUTORS BE LIABLE FOR ANY DIRECT, INDIRECT, INCIDENTAL, 
SPECIAL, EXEMPLARY, OR CONSEQUENTIAL DAMAGES (INCLUDING, BUT NOT LIMITED TO, 
PROCUREMENT OF SUBSTITUTE GOODS OR SERVICES; LOSS OF USE, DATA, OR PROFITS; OR BUSINESS 
INTERRUPTION) HOWEVER CAUSED AND ON ANY THEORY OF LIABILITY, WHETHER IN CONTRACT, 
STRICT LIABILITY, OR TORT (INCLUDING NEGLIGENCE OR OTHERWISE) ARISING IN ANY WAY OUT OF 
THE USE OF THIS SOFTWARE, EVEN IF ADVISED OF THE POSSIBILITY OF SUCH DAMAGE.

6

background image

2 History

Date

Changes in document

7

background image

12/2025

Description of cxcnc-mode control format added

09/2025

Wiring/configuration description for GZTECH DPSS UV laser added

08/2025

Description of new Telnet-command 

cspil

 added

08/2025

Missing/non-ambigous information about pilot laser control added/clarified

06/2025

Configration parameter 

cxcnc

 and G-code support added

06/2025

Command 

cxcnc

 and G-code support added

04/2025

Description of 

E170X_digi_set_wet_output()

 and 

E170X_digi_set_mip_output()

 

corrected

02/2025

Description of E1702Sdock added

02/2025

Added support for direct execution of BEAMP project files in stand alone mode

06/2024

Description of limitations of dynamic texts clarified

06/2024

Description of parameter “

iothres

” clarified

03/2024

Added parameter and command 

cswaf

11/2023

NX02 mode pinout added

10/2023

Windows 11 Ethernet configuration description added

08/2023

Added description of stand-alone filename structure

07/2023

Reference to header files and programming examples added

05/2023

HALdrive mounting position added to E170Xbase description

05/2023

Added description of 

E170X_digim_

-motion commands

05/2023

Description of 

E170X_execute()

 updated

03/2023

Behaviour of Alive-LED clarified

02/2023

Pinout of Secondary Head extension completed

01/2023

Initial version

8

background image

3 Safety

The hardware described within this document is designed to control a laser scanner system. Laser radiation 
may effect a person's health or may otherwise cause damage. Prior to installation and operation compliance 
with all relevant safety regulations including additional hardware-controlled safety measures has to be 
secured. The client shall solely be responsible to strictly comply with all applicable and relevant safety 
regulations regarding installation and operation of the system at any time.

Beside of that some laser equipment can be damaged in case it is controlled with wrong signals or signals 
outside a given specification. Thus it is highly recommended to check the output generated by this hardware 
using e.g. an oscilloscope to avoid problems caused by wrong configurations. This should be done prior to 
putting a system into operation for the first time, whenever some parameters have been changed or whenever 
any kind of software update was installed.

The hardware described here is shipped without any cover and without prefabricated equipment for electric 
installation. It is intended to be integrated in machines or other equipment. It is not a device for use "as is", but a 
component which is intended to be used as part of a larger device, e.g. for integration in a machine with own 
housing or within an electrical cabinet. Prior to operation compliance with all relevant electric / 
electromagnetic safety regulations including additional hardware-controlled safety measures has to be 
secured. The client shall solely be responsible to strictly comply with all applicable and relevant regulations 
regarding installation and operation of the system at any time.

The hardware described here is an electrostatic sensitive device. This means it can be damaged by common 
static charges which build up on people, tools and other non-conductors or semiconductors. To avoid such a 
damage, it has to be handled with care and including all relevant procedures (like proper grounding of people 
handling the hardware, shielding/covering to not to let a person touch the hardware unwanted, proper 
packaging in ESD-bags, ...). For more information please refer to related regulations and standards regarding 
handling of ESD devices. The EMC Directive (2014/30/EU) does not apply to this hardware as it is not intended 
for an end user (a person without knowledge of EMC) and as it is not otherwise made available on the market.

The Low Voltage Directive (2014/35/EU) does not apply to this hardware as the voltage supply is below the 
50V AC / 75V DC limit.

This document describes the E1702-hardware but may contain errors or may be changed without further 
notice.

9

background image

4 Overview

This document describes the E1702S modular scanner controller which consists of E1702S XY2-100/XY3-
100/NX-02 scanner controller baseboard plus optional extension boards.

The E1702S scanner controller board is designed for controlling galvanometric scanner systems with two axes. 
Depending on the used extension boards (which are optional) they also supply extensive signals for external 
control. The communication between the host system and the controller boards is done via Ethernet or USB.

When using E1702 series scanner controller boards, there is always one baseboard required for proper 
operation. This baseboard can be used together with different extension boards that provide additional signals 
for controlling the laser marking process. These extension boards are optional and have to be used only in 
environments where the additional signals processed by these boards are required. So depending on used type 
of laser and requirements, the minimal solution to control a laser marking system may consist of the baseboard 
only.
Normally extension boards can be combined with any baseboard and all other extension boards freely, there 
are no restrictions for usage. In case some specific extension board types can’t be operated with other boards, 
this is stated in description of the related boards below.
Normally an E1702 baseboard can be combined with several extension boards of different types but not with 
more than one board of same type. In case of special extension boards where more than one board of the same 
type can be used, this is stated in description of the related board below.

4.1 Features

Following the features of available base- and extension boards are described

4.1.1 E1702S XY2-100/XY3-100/NX-02 Digital Laser Scanner Controller Baseboard

This baseboard can be used to control 2D scanheads that come with a XY2-100, XY2-100-E, XY3-100 or NX-02 
interface, and lasers that are controlled via PWM and/or LP8 parallel interface. It can be combined with 
extension boards without any restrictions. E1702S offers following features:

XY2-100 interface to scanhead with X and Y channel

XY2-100-E interface to scanhead with X and Y channel

XY3-100 interface to scanhead with X and Y channel

NX-02 interface to scanhead with X and Y channel

100 Mbit Ethernet connection

USB 2.0 connection

wide-range 9..30V power supply

online XY grid correction with support for several correction table file formats (like SCAPS™ .ucf, 
Scanlab™ .ctb and .ct5, Raylase™ .gcd, Rofin™ .fcr, Han’s™ .crt, CTI™ .xml or Sunny™ .txt)

high-definition online XY grid correction with BeamConstruct HD correction files (.bco)

fast switching between up to 16 preloaded grid correction tables

10 microseconds vector cycle time and resolution (microstep period)

command execution time down to 0,5 microseconds

realtime processing of laser and scanner signals

26 bit internal resolution (for better quality also with 16 or 18 bit hardware output)

two laser CMOS digital outputs for usage with YAG, CO2, IPG(tm) and compatible laser types (outputs 
can provide PWM frequency, Q-Switch, FPK-pulse, CW/continuously running frequency, stand-by 
frequency) running with frequencies of up to 20 MHz

LP8 8 bit CMOS level parallel digital output e.g. for controlling laser power

LP8 latch CMOS level digital output for usage with IPG(tm) and compatible laser types

Main Oscillator CMOS level digital output for usage with IPG(tm) and compatible laser types

512 MByte DDR3 RAM

1 GHz CPU clock

support for microSD and microSDHC cards

internal command and vector data list with more than 17 million entries

continuous list concept, no need to swap between buffers

10

background image

BeamConstruct PRO license included

4.1.2 E1702 Digi I/O Extension Board

This board provides additional digital in- and outputs for synchronisation and communication with external 
equipment. It offers following features:

8 freely usable digital outputs providing either CMOS level or electrically insulated outputs via 
external power supply

8 freely usable digital inputs expecting either CMOS level or electrically insulated inputs via external 
power supply

2 digital inputs usable for quadrature encoder signals for marking on-the-fly applications

4.1.3 E1702 Secondary Head Extension Board

Using boards of this type additional heads can be connected which then work fully parallel to the first scanhead 
of E1702S baseboard. As output-only device it provides an additional XY2-100(-E), XY3-100 or NX-02 
connection.

4.2 E1701D / E1702S Comparison

Both, the E1701D scanner controller card and the E1702S controller are quite similar but differ in some 

specific points making the E1702S more suitable for a majority of applications. Following overview shows the 
major differences between both:

Feature

E1701D Digital Scanner Controller 

Card

E1702S Slim Scanner Controller 

Card

Power supply

Via USB or
external 5V via power jack

Via USB or
external 9..30V via 2,54 mm header

Support of 3D Marking

In XY2-100 mode only

Not supported

LP8/MO/Latch signals for MOPA 

lasers

Requires separate LP8 extension 
board

Supported

0..5V analogue output

1x, parallel to LP8 signal

Not supported

Dedicated pilot laser signal

Not supported

Supported

XY3-100 backchannel

Supported

Not supported

NX-02 scanner protocol

Not supported

Supported

11

background image

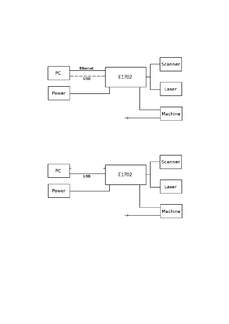
5 Position Within The System

The E1702 scanner controller system can be connected to the host via Ethernet or USB to receive laser 
marking data from BeamConstruct laser marking application or from any other application which makes use of 
one of the provided programming possibilties (as described below). When using Ethernet connection, it 
optionally can be connected via USB too. In this case USB connection is used to retrieve BeamConstruct PRO 
license from the board:

Since 100 Mbit Ethernet provides much faster data transfer than USB 2.0, this connection type is preferred. 
Especially in case complex marking data with many short lines that result in many separate jump and mark 
commands are used, Ethernet connection is more responsive.
When using USB connection with such data, time from sending data to the card until marking operation can be 
started may be longer (up to several seconds in worst case) caused by slower USB data transfer:

In both cases the board itself is connected with the scanhead to submit 2D position information to it. Beside of 
that, it is connected to a laser to submit motion-synchronous laser data. Additional communication channels 
between the E1702 scanner controller board and a connected machine can be done via separate IOs of an 
extension board.

12

background image

6 Boards And Connectors

6.1 E1702S XY2-100/XY3-100 / NX-02 Slim Laser Scanner Controller 

Baseboard

The E17022S Slim Laser Scanner Controller Baseboard provides following connectors and interfaces:

1. Ethernet – for communication with the host system, marking information are submitted via this path
2. USB – via microUSB connector for providing BeamConstruct PRO license to host system and 

optionally for submitting marking data from host to E1702S card (in case Ethernet is not used)

3. Power – connect with 6-pin header supplying power in range 9..30 V
4. Power LED – lights when power is available
5. User LEDs – show operational and error states of card
6. Laser LEDs– shows state of laser control signals
7. Reset-button – on-board button to restart the board completely
8. microSD-card (on bottom side) – storage place for firmware and extended configuration file, can be 

used to upgrade firmware, to change the card's IP and other things more

9. Laser/Scanner signals – white 26 pin laser and scanner output connector which provides XY2-100 / 

XY2-100-E / XY3-100 / NX-02 scanner signals as well as laser and marking control IOs

10. Extension connectors – extension boards can be placed here in order to add some more functionality 

and hardware interfaces to the board

6.1.1 Ethernet

This is a standard RJ45 Ethernet plug for connection of the board with the host system. When the controller 
board is accessed via this connection, all scanner and laser data are sent via Ethernet. Thus it is recommended 
for security reasons to have a separate machine network that contains the control-PC, the scanner controller 
card(s) and other Ethernet-devices for the machine, but has no physical connection to the “outer world”, means 
no access to the internet.
Ethernet connection is initialised during start-up only, thus Ethernet cable connecting E1702 board and host 
system needs to be plugged before the board is powered up.
By default the E1702 baseboard is using IP 192.168.2.254, thus the Ethernet network the card is connected 
with needs to belong to subnet 192.168.2.0/24.
PLEASE NOTE: For security reasons it is highly recommended to not to mix a standard communication network 
with an E1702 network or to connect the scanner controller card with a standard network. Here it may be 
possible someone else in that network (accidentally) connects to that scanner controller and causes laser 
emission.
The IP of the scanner controller can be changed. This is necessary e.g. in case an other subnet has to be used or 
in case the E1702 board has to be operated in multi-head environments where more than one card will be 

13

background image

accessed at the same time. The IP can be configured using e1702.cfg configuration file that is placed on 
microSD-card. To change the IP please perform the following steps:

1. disconnect E1702 board from power and USB
2. remove microSD-card
3. put microSD-card into a desktop computer, this may require a microSD- to SD-card-adapter
4. open the drive that is assigned to the card
5. open file e1702.cfg using a text editor like Notepad or kwrite
6. add a line or edit an existing line "

ip0=

", here the desired IP has to be appended (as example: when you 

want to configure IP 192.168.2.13 the line has to be "

ip0=192.168.2.13

" – without any quotation 

signs

7. save the file
8. eject the drive the card is assigned to
9. place the microSD-card in E1702 board (place without the use of force, notice correct orientation with 

connectors of microSD-card to bottom!)

10. power up card

When User LEDs do not light up as described below, please check if microSD-card is placed in board correctly.

6.1.1.1 Ethernet Configuration With Windows 10

When E1702 scanner controller is accessed via Ethernet, it is recommended to have a separate network for 
security reasons. Since the controller is working with a static IP (default is 192.168.2.254) the Ethernet port on 
host PC has to be configured with an IP of same subnet in order to allow access to it. For Windows 10 (and 
similar) this configuration has to be done using following steps:

1. right-click the network-symbol in your taskbar
2. Select “Open network and internet settings”
3. Select “Ethernet” on the left
4. find the network interface E1702 has to be connected with and select it
5. Click the “Edit” button in section “IP settings”
6. now a window opens where “IPv4” has to be turned on and that has to be configured as follows:

There you can specify an IP for your host PC. It has to belong to network 192.168.2.xxx and can be any 
number except than 192.168.2.254 (this is already the IP of the scanner card), 192.168.2.0 or 
192.168.2.255.

14

background image

6.1.1.2 Ethernet Configuration With Windows 11

When E1702S scanner controller is accessed via Ethernet, it is recommended to have a separate network for 
security reasons. Since the controller is working with a static IP (default is 192.168.2.254) the Ethernet port on 
host PC has to be configured with an IP of same subnet in order to allow access to it. For Windows 11 (and 
similar) this configuration has to be done using following steps:

1. right-click the network-symbol in your taskbar
2. Select “Network and internet settings”
3. Select “Ethernet” in the opened list
4. find the network interface E1702S has to be connected with and select it
5. Click the “Edit” button right beside “IP assignment”
6. now a window opens where “Edit IP Settings” has to be switched from “Automatic (DHCP)” to “Manual” 
7. next “IPv4” has to be turned on and the remaining parameters in this window have to be configured as 

follows:

There you can specify an IP for your host PC. It has to belong to network 192.168.2.xxx and can be any 
number except than 192.168.2.254 (this is already the IP of the scanner card), 192.168.2.0 or 
192.168.2.255.

6.1.1.3 Ethernet Configuration With Linux

When E1702 scanner controller is accessed via Ethernet, it is recommended to use a separate network for 
security reasons. Since the controller is working with a static IP (default is 192.168.2.254) the Ethernet port on 
host PC has to be configured with an IP of same subnet in order to allow access to it. For Linux (with 
NetworkManager) this configuration has to be done using following steps:

1. right-click the network-symbol in taskbar
2. click "Edit Connections..."
3. select the "Wired" network interface the scanner card is connected with and press button "Edit"

15

background image

4. go to tab-pane "IPv4 Settings" and configure it as shown below:

There you can specify an IP for your host PC. It has to belong to network 192.168.2.xxx and can be any 
number except than 192.168.2.254 (this is already the IP of the scanner card), 192.168.2.0 or 
192.168.2.255.

6.1.2 USB

This is a standard microUSB-connector for connection of the board with the host system. It is used to retrieve 
BeamConstruct PRO license and optionally – when Ethernet is not connected – to send marking data to the 
card.
PLEASE NOTE: USB 2.0 is much slower than a standard 100 Mbit Ethernet connection, so expect slower 
execution in case of complex marking data!
Required device driver is installed together with installation of the HALsetup software package (Windows) or 
comes with operating system by default (Linux). E1702 card appears as COM-interface on Windows using any 
free number for the port. With Linux it appears as /dev/ttyACMx where "x" is any number. These numbers are 
provided by the operating system automatically.
By default USB provides 5V power supply too. So whenever card has to be stopped, both USB and power have 
to be disconnected in order to shut it down completely. It is not recommended to use USB as power supply, an 
additional, external power should be connected in order to operate E1702 controller correctly. Nevertheless it 
might be possible E1702 card can be operated on USB power only. Since this highly depends on the capabilities 
of used host system, it has to be evaluated for every particular case.

When the controller is connected via USB, a BeamConstruct PRO license is provided via this interface 
automatically. This is done without the need to configure anything, and as long as following conditions are true:

physical USB connection from controller to host PC exists

the COM-port (Windows) has a number smaller than COM20

the controller is working and the Alive-LED in blinking

It is also possible to have the USB-connection for license retrieval only and to use the Ethernet-connection to 
transfer marking data to the controller, both can exist beside each other.

16

background image

6.1.3 Power

Power supply for E1702S scanner controller board is done via 6 pin header on upper left corner of the board. 
Here pairs of pins belong to same power level. An a

ppropriate fuse for circuit protection must be provided by the 

external equipment

:

Power has to be supplied via this connector by connecting to a unipolar power supply with a voltage in range 
from 9V to 30V DC, max +/- 0.15V tolerance and 1.5A (stabilised and smoothed). Do not apply voltages in 
excess of 30V or with inverted polarity to this input. The DC power supply must be grounded.
To avoid high frequency interferences from other electrical equipment or from within the power supply, it is 
recommended to place a ferrite bead at the cable close to the board. Please also check for correct shielding in 
respect to the equipment the E1702S card is used within.

ATTENTION: due to the undefined behaviour of some power supplies with high peaks in some specific 
situations, the power to the controller never should be toggled just by pulling and reconnecting a cable which is 
on power (hot-swap). Always turn off the power the regular way via the power supplies input/a regular switch. 
Otherwise this can cause serious damage to the controller card or power supply.

6.1.4 Power LED

This LED is lit as soon as the board is on some power. This means it may be functional and could emit any signals 
as soon as this LED is on but it does not necessarily need to work properly since firmware may not be started 
yet. Please refer section below for LEDs that show functional state of the board.

6.1.5 User LEDs

The real operational state of the card is shown by four additional LEDs described here from inner to outer 
position:

1. Boot- and Alive-LED – this LED is turned on permanently as soon as the card was powered up and the 

firmware boots properly. When it is not turned on after some seconds, please check if the microSD-
card is placed properly and if it contains a working firmware file (for details please refer below). After 

boot process has completed successfully, it starts blinking slowly. This is an alive-notification, as long as 
it blinks, the board is working and ready for operation. During marking operations the blink frequency 
may change. Only in case it does not blink for more than 20 seconds, the board has died for some 
reason and should be restarted.
Please note: during start-up and when no configuration parameter “eth=0” or “eth=1” is set in 
e1702.cfg, the blinking frequency can be much slower. This is the case as long as the controller tries to 

17

background image

detect an Ethernet connection. It ends and switches to faster blink frequency as soon as this detection 
is timed-out or as soon as a connection via Ethernet or USB is established.

2. Marking Active LED – this LED is turned on as long as a marking operation is running. This LED does 

not correspond to the laser gate signal, comparing to it it’s also enabled during jumps when laser is 
turned off but marking operation itself is active.

3. Stop LED – this LED is lit as long as a valid external stop signal is detected.
4. Error-LED – this LED is turned on in case a fatal error occurs that normally should never happen. When 

it is on, in most cases board can't continue with operation until the reason for error is removed and the 
board is restarted. In case this LED is turned on please:
- check if you are using exactly one baseboard
- check if you are using E1702 extension boards only (and no other 3rd party hardware)
- check if you are using latest firmware and host software
- check all connections and cables
- undo your latest changes in hardware and configuration
If these steps do not help, please contact HALaser Systems for further assistance.

6.1.6 Laser LEDs

These LEDs shows modulation state of the laser (signal of laser gate output) and the signal state of the main 
oscillator output.
Here the red LED is lit as long as the laser is turned on and the laser gate is HIGH. This LED does NOT signal the 
same like the marking active LED described above since it will be turned off during jumps.
The yellow LED is lit as long as the main oscillator output of the scanner/laser signal connector is at HIGH.

6.1.7 Reset-Button

When this button is pressed for at least 20 milliseconds, it restarts the card completely, a current marking 
operation is cancelled, all signals are disabled and all remaining marking data are dropped. After releasing this 
button, the board is rebooted and firmware is started again.

6.1.8 microSD-Card

The microSD card is the storage place for firmware and configuration files. Here SD and SDHC cards are 
supported.
To remove the microSD-card, first disconnect all power from the E1702 board completely (including USB, 
Power LED has to go off). Next press microSD card gently into the board until you can hear a click-noise. Then 
you can pull it out of the board. To place a microSD card, the same has to be done in reverse order: place it into 
the E1702 board’s card slot and press it gently until a noise signals locking of the card. Now the board can be 
powered.
E1702 baseboard is shipped with a card containing firmware and configuration files:

e1702.fwi – firmware file that is used to operate the board, to be replaced when a firmware update is 
provided

e1702.cfg – configuration text file, can be edited using a text editor in order to modify cards 
configuration

e1702.dat – additional data file that is used to operate the board, to be replaced when a firmware 
update is provided

To use an other microSD card than the one shipped with the board, following conditions have to be met:

SD or SDHC card

FAT32 formatted

using only one partition

BOOT-flag is set

E1702.fwi and e1702.dat file available on card

The E1702.cfg file contains plain ASCII text, acts as configuration file and can contain several parameters and 
its values which are separated by an equal-sign. Every of the possible parameter/value pairs has to be located in 
an own line. Following configuration parameters are possible within this file:

18

background image

Parameter

Description

Example

ip0

Configures IP of Ethernet port. Here only IPs in xxx.xxx.xxx.xxx 
notation are allowed but no host or domain names.

ip0=192.168.2.100

specifies IP 192.168.2.100 
to be used for Ethernet 
interface on next startup

corrtable0

Specifies a correction table file 
in .ctb, .ct5, .ucf, .gcd, .xml, .crt, .txt, .fcr or .bco format to be 
loaded on start-up. When this parameter is set, the specified 
correction table is used exclusively and all correction data 
possibly sent from the host are ignored. The correction file itself 
has to be located on microSD-card too.
This method has also to be used when running the controller in 
stand-alone mode with .EPR files that require such a correction.
When the Error-LED is turned on after a correction table file was 
configured, E1702 baseboard was not able to load it for some 
reason.

corrtable0=0:/

D2_200.ctb

use file D2_200.ctb as 
correction file and ignore 
all correction tables 
possibly sent from host 
application

corrtable<i
dx>

Specifies one of up to 16 correction table file 
in .ctb, .ct5, .ucf, .gcd, .xml, .crt, .txt, .fcr or .bco format to be 
loaded on start-up. When this parameter is set, the specified 
correction table is used exclusively and all correction data 
possibly sent from the host are ignored. The correction file itself 
has to be located on microSD-card too.
This method has also to be used when running the controller in 
stand-alone mode with .EPR files that require such a correction.

When the Error-LED is turned on after a correction table file was 
configured, E1702 baseboard was not able to load it for some 
reason.

<idx>

 can be any value in range 0..15 and specifies the storage 

location index of the correction file to be loaded. Later the 
related correction file can be used via command 

cscor

.

corrtable7=0:/200_2

00.bco

use file 200_200.bco as 
correction file at index 
position 7 and ignore all 
correction tables possibly 
sent from host application

passwd

Specifies an access password that is checked when card is 
controlled via Ethernet connection. This password corresponds 
to password specified with function 

E170X_set_password()

please refer below for a detailed description.
When a client computer connects to the card without sending 
the correct password, Ethernet connection to this host is closed 
immediately.
PLEASE NOTE: this password does not replace any network 
security mechanisms and does not give the possibility to operate 
E1702 controller via insecure networks or Internet! It is 
transferred unencrypted and therefore can be "hacked" easily. 
Intention of this password is to avoid unintended collisions 
between several E1702 cards that operate in same network and 
are accessed by several software instances.
Maximum allowed length of the password is 48 characters. It is 
recommended to not to use any language-specific characters.

passwd=myCardPwd

set a password 
"myCardPwd"

standalone

This command can be used to disable or enable a specific stand-
alone operation mode. For a detailed description of possible 
parameters, operation modes and usage please refer related 
section “6.1.11 Stand-Alone Operation” below.

iolatch

When using one of the digital-input-controlled stand-alone 
modes, this option can be used to latch the digital states in via 
DIn7 of the DigiIO Extension Board. For details please refer to 

section “6.1.11 Stand-Alone Operation” below

iolatch=1

enable the latch-function 

via DIn7

19

background image

Parameter

Description

Example

iothres

In stand-alone mode there are two conditions that cause a 
loaded EPR file to be ready: it is fully loaded into the secondary, 
marking buffer or a minimum amount of data is available in 
secondary buffer.
Something similar is true for host-controlled operating mode: 
here marking starts when 

E170X_execute()

 is called or when 

a minimum amount of data has been transmitted to the 
controller.
That minimum amount of marking data can be modified with the 
parameter “iothres”. The smaller this value is, the faster marking 
will start, but in this case it also may happen there are not 
enough data available so that interruptions occur during 
marking. So a balance between speed and a secure, non-
interrupted marking process need to be found when this value is 
modified.
By default “iothres” is 80000 which should fit to most 
applications, the maximum allowed value is 280000 and it should 
not become smaller than 10000

Iothres=120000

Set the threshold for 

availability of the stand-

alone marking data to 

120000

haltedloopt
imeout

This parameter is used in stand-alone modes “haltedloop” and 
“iohaltedloop” (please refer to section “6.1.11 Stand-Alone 
Operation” for detailed information). It defi
nes a timeout for the 
laser in unit seconds. If the current operation is active for a 
longer time, the laser is turned off. It then can be turned on only 

by toggling the enable-input (ExtStart) again.

haltedlooptimeout=5

sets the laser timeout to 5 

seconds

haltedloop
buffer

This parameter is used in stand-alone modes “haltedloop” and 
“iohaltedloop” (please refer to section “6.1.11 Stand-Alone 
Operation” for detailed information). It defi
nes a maximum 
buffer size for the marking data. The buffer size should have a 
size of 17000000 at max. The minimum size depends on the 
specific application, in fact, when it is set to some too small 
values, drop-outs in marking operation may occur.
Data which are already buffered in this marking mode can't be 
modified any longer. So any change on marking speed, power or 
similar (done e.g. by commands “

cjsor

”, “

cmsor

” or “

cpwor

”) 

will apply only to data which are not yet buffered. And as bigger 
as this buffer is, as longer it takes until the first new data after 
change of any of these parameters can be emitted.

haltedloopbuffer=10

0000

set the buffer to a 

maximum size of 100000 

commands which is similar 

to data for about 1 second 

marking time

autofile

Loads a special .EPR or .BEAMP stand-alone file from SD-card in 
some specific stand-alone modes. For a detailed description of 
possible parameters, operation modes and usage please refer 
related section below.

autofile=0:/
markdata.epr

loads a file markdata.epr 

from disk; here 0:/ specifies 

the SD-card to be used. 

The .EPR-file itself can be 

generated within 

BeamConstruct out of a 

normal .BEAMP project 

file.

iobuff

Pre-loads one or more .EPR or .BEAMP files to the RAM of the 
controller to allow faster switching in “ioselect” or “idxselect” 
stand-alone mode. This command can not be used to load file 
“0.EPR”

iobuff=1
iobuff=3

pre-load files 1.EPR and 

3.EPR on board start-up

mipout

Configure a Digi I/O output pin (requires the DigiI/O Extension 

Board) to be used as “mark in progress”-signal by default; here an 
output bit number in range 0..7 has to be configured which will 
be set to HIGH as long as a marking operation is in progress, the 
value given here can be overwritten by API-function 

E170X_digi_set_mip_output()

Starting with firmware version 4 it is also possible to use the 
LaserB pin as output. This requires the tune-flag 128 (0x80) 

mipout=1

use DOut1 for mark-in-

progress signal

20

background image

Parameter

Description

Example

being set and mipout being used with a value of 33.

wetout

Configure a Digi I/O output pin (requires the DigiI/O Extension 
Board) to be used as “wait for external trigger”-signal by default; 
here an output bit number in range 0..7 has to be configured 
which will be set to HIGH as long as a marking operation is in 
progress and the controller is waiting for an external trigger 
signal to arrive at ExtStart input, the value given here can be 
overwritten by API-function 

E170X_digi_set_wet_output()

Starting with firmware version 4 it is also possible to use the 
LaserB pin as output. This requires the tune-flag 128 (0x80) 
being set and wetout being used with a value of 33.

wetout=0

use DOut0 for mark-in-

progress signal

digiinit

Initialises the digital outputs of the Digi I/O Extension Board on 
firmware start-up with the given defaults. This overrides the 
hardware defaults. The default digital values set here are NOT 
available on power up but a few seconds later after firmware has 
been loaded and started.

digiinit=2

set DOut1 to HIGH initially 

and all other outputs to 

LOW

digimask

Masks the digital inputs of the Digi I/O Extension Board and 
specifies which inputs can be read. All input bits which are 
ignored by this command by setting the related value to 0, are no 
longer read. This may be useful for applications where encoder 
inputs are used together with a IOSelect stand-alone operation 
and where the random state of the encoder has to be masked 

out.

digimask=253

use only DIn2..DIn7 as 

input and ignore DIn0 and 

DIn1

digidebc

Sets a debouncing time / filter time for the digital inputs of the 
Digi I/O Extension Board in order to not to let the inputs react on 
noise or bouncing of mechanical inputs. The debouncing value is 
given in time-units where every time-unit is equal to 31 usec. By 
default 7 time-units are set.

digidebc=10

set the debounce-time to 

310 usec

lasergate

By default, the laser on/off information is provided via the 
LaserGate output and with CMOS logic voltage level. With this 
parameter, a digital output of the Digi I/O extension board can be 
specified, to provide the laser gate signal in parallel.
Please refer to “6.2 E1702 Digi I/O Extension Board” for further 
details about the digital interface.

lasergate=3

Use DOut3 to provide the 

laser gate signal

tunereadyo
ut

In stand-alone modes, the ready-state of a loaded stand-alone 
project is signalled via DOut0 by default (please refer to section 
6.1.11.4 Stand-Alone Control” for further details). Using this 
parameter, the used output can be changed. Here following 
values can be given:

0 – DOut0 (Digi I/O Extension Board, default)

1 – LaserA (has to be configured as GPO via the related 
tune-flag)

2 – LaserB (has to be configured as GPO via the related 
tune-flag)

tunereadyout=1

use LaserA to signal state 

“ready” in stand-alone 

mode

tunemarko
ut

In stand-alone modes, the ready-state of a loaded stand-alone 
project is signalled via DOut1 by default (please refer to section 
6.1.11.4 Stand-Alone Control” for further details). Using this 
parameter, the used output can be changed. Here following 
values can be given:

0 – DOut1 (Digi I/O Extension Board, default)

1 – LaserA (has to be configured as GPO via the related 
tune-flag)

2 – LaserB (has to be configured as GPO via the related 
tune-flag)

tunemarkout=2

use LaserB to signal state 

“ready” in stand-alone 

mode

tune

Enables special functions and features that are not activated by 
default. As parameter a number can be handed over that 
specifies the functions to be enabled. Optionally the number can 

tune=1

disables ExtStart input and 

switches over external 

trigger function to DIn7 

21

background image

Parameter

Description

Example

also be specified as hexadecimal value when it is prefixed with 
“0x”. Following numbers can be logically OR-concatenated (aka 
by adding their values):
1 (0x01) – use DIn7 of Digi I/O Extension Board as external 
trigger, this disables ExtStart input of E1702 Baseboard

2 (0x02) – use additional marking encoder inputs on DIn2 and 
DIn3 for 2D on-the-fly operations

4 (0x04) – enable storage of serial number count values to 
microSD card; this option is useful in case of stand-alone 
operation mode when dynamic data with serial number counting 
is used. When it is set, the current count value of all used serial 
numbers is stored and reloaded on next power up. Thus their 
values are not get lost when power was turned off. The values 
are stored in a file with the same name like the "autofile" or the 
currently loaded .epr file but with extension ".ser".
ATTENTION: The file is saved on the FatFS formatted microSD 
card. FatFS is NOT fault-proof, means it can be corrupted when 
power is turned off during writing. So when this option is 
enabled, user has to ensure power is NOT turned of while the 
card writes to disk. Writing of serial number states is always 
done in case they have changed, then it is started when state 
LED of E1702 board is switched off. Write operation is finished 
when this LED is turned back on the next time. So to ensure data 
are written successfully, it is recommended to let this LED blink 
two times after last mark operation has been finished. In 
automated environment this can be ensured by following 
procedure:

1. stop all marking operations
2. ensure no new marking operation is triggered
3. wait for 2 seconds
4. turn power off

ATTENTION: due to this limitation it is not recommended to 
work with this option but to save the state of the serial numbers 
by sending ASCII command "

cssta

" instead (please refer below 

for details)!

8 (0x08) – invert LaserGate output to work as active HIGH 
signal; when this option is set, logic of LaserGate-LED changes 
too, it is on as long as laser is turned off and it is off as long as 
laser is on

16 (0x10) – invert LaserA output to work as active HIGH signal

32 (0x20) – invert LaserB output to work as active HIGH signal

64 (0x40) – use LaserA output as GPO (general purpose output 
pin); when this flag is set, LaserA output is no longer able to emit 
a frequency but can be used as digital output pin; when this value 
is set, a tune-value of 0x10 (invert LaserA) is ignored. This flag 
has to be set e.g. when LaserA has to be used together with 

tunereadyout

 or 

tunemarkout

 parameter.

128 (0x80) – use LaserB output as GPO (general purpose output 
pin); when this flag is set, LaserB output is no longer able to emit 
a FPK pulse but can be used as digital output pin; when this value 
is set, a tune-value of 0x20 (invert LaserB) is ignored. This flag 
has to be set e.g. when LaserA has to be used together with 

input

tune=0x1000

force the acanner output 

to use XY2-100E mode

22

background image

Parameter

Description

Example

tunereadyout

 or 

tunemarkout

 parameter.

4096 (0x1000) – operate in enhanced XY2-100 18 bit mode; 
when this value is added to the tune-parameter, the controller 
outputs more accurate 18 bit position data instead of the 
standard 16 bit values in normal operation mode

8192 (0x2000) – operate in XY3-100 mode; when this value is 
added to the tune-parameter, the controller outputs more 
accurate position data instead of the standard 16 or 18 bit values 
in normal operation mode

32768 (0x8000) – invert the mark-in-progress signal

65536 (0x10000) – invert the wait-external-trigger signal

524288 (0x80000) – inverts the logic of the ExtStop input; by 
default, the stop-input is LOW and has to be set to HIGH in order 
to stop a running operation. When this flag is set, this is inverted, 
ExtStop has to kept HIGH for normal operation and a stop is 
performed as soon as it goes to LOW.

2097152 (0x2000000) – halt the current marking operation 

when ExtStart input is at LOW; with this tune-flag set, the 
ExtStart input not only reacts on the rising edge to mark when 
waiting for an external trigger, it also requires to be HIGH in 
order to continue marking. So ExtStart acts as some kind of 
“enable” input.

4194304 (0x400000) – invert the LP8 signal

8388608 (0x800000) – invert the MO (main oscillator) signal

16777216  (0x1000000) – inverts the logic of the ExtStart input. 
By default, the start-input reacts on a rising edge. When this flag 
is set, this is inverted and a falling edge is expected to release an 
external trigger. This also has an effect on the behaviour of tune-
flag 0x2000000, it is inverted too.

sntp0

Allows to specify the IP of an SNTP time server. This option can 
be used in case of Ethernet usage to synchronise controller with 
an external time source. E1702 tries to connect to this server 
after initialisation of Ethernet interface and – if not successful – 
a few more times. These additional connection attempts are 
done whenever the Alive-LED is switched on.
ATTENTION: when this function has to be used, the network or 
host-computer the controller is connected with needs to be able 
to route this request. This is a potentially dangerous operation 
because a connection between encapsulated machine network 
and open and dangerous Internet has to be established. Since 
this is NOT RECOMMENDED in general, this option should be 
used ONLY when it is 100% sure there is no possibility for people 
from outside to intrude the machine network! Instead of that it is 
recommended to set system time manually using host-computer 
and ASCII command "cstime" (please refer below). Alternatively 
it is also possible to contact an own, network-internal NTP-
server.
When this option is used, the gateway and netmask have to be 
configured for the controllers Ethernet interface

sntp0=83.170.1.42

 – 

IP of time server at 

3.de.pool.ntp.org is used 

for SNTP time retrieval 

(not recommended since 

this requires a connection 

to potentially dangerous 

Internet!)

23

background image

Parameter

Description

Example

sntp0offset This value corresponds to sntp0 parameter above, it is used 

when system time is retrieved from an external time server to 
set an offset to the time returned from this server. The offset has 
to be specified in unit seconds.

sntp0offset=-3600

 – 

specifies an offset of minus 

one hour to the time 

returned from timeserver. 

So when the time server 

would return a current 

time of 11:42:17, the 

system time of the 

controller would be set to 

10:42:17 with this value

gw0

Specifies a gateway-address for the scanner controllers Ethernet 
interface. This option belongs to parameter "ip0" and has to be 
set in case "sntp0" is used.

gw0=192.168.2.1

 – use 

192.168.2.1 as gateway

nm0

Specifies the netmask for the scanner controllers Ethernet 
interface. This option belongs to parameter "ip0" and has to be 
set in case "sntp0" is used.

nm0=255.255.255.0

 – 

use upper 24 bits of 

current IP for netmask

node0

Specifies the IP of an external HALnode Compact Ethernet IO 
module to be used for additional 8 digital in- and outputs (lower 
8 bits of an additional 16-bit IO port). Once configured, the 
HALnode’s digital ports are used as they were a part of the 
controller. This functionality requires firmware version 21 or 
newer.

node0=192.168.1.253 

– use the digital IOs of the 

HALnode at the IP 

192.168.2.253

node1

Specifies the IP of an external HALnode Compact Ethernet IO 
module to be used for additional 8 digital in- and outputs (upper 
8 bits of an additional 16-bit IO port). Once configured, the 
HALnode’s digital ports are used as they were a part of the 
controller. This functionality requires firmware version 21 or 
newer.

node1=192.168.1.252 

– use the digital IOs of the 

HALnode at the IP 

192.168.2.252

eth

This parameter specifies the behaviour of the Ethernet interface. 
Here following values can be set:

0 – Ethernet network interface is disabled completely. 
This means it is no longer possible to connect to E1702 
via Telnet or via BeamConstruct. All SNTP-
functionalities are disabled too. This option can be used 
to suppress illegal access to Ethernet, to save several 
seconds of startup-time and to save some power.

1 – this mode enables the Ethernet interface and checks 
once at the beginning if some Ethernet hardware is 
connected to the controller card; when the “eth”-
parameter is not specified at all, the resulting behaviour 
is the same

2 – this enables Ethernet polling mode; instead of 
checking for an Ethernet device only once during boot, 
in this mode the interface is polled regularly until an 

electrical connection is detected. As long as the 
controller is polling, the Alive-LED blinks very slow and 
toggles once in about 20 seconds, when an Ethernet 
device was detected, the blink frequency changes to 
normal speed;
PLEASE NOTE: when this mode is used, access via USB is 
delayed too, so “eth” should be set to “2” only when no 
communication via USB is intended.

eth=0

 – turn off Ethernet 

interface completely

24

background image

Parameter

Description

Example

pethd

When Ethernet connection is used, it has to be established on 
power-up of the controller card as this connection is set-up and 
configured by the controller only once during boot. There may be 
situations where the other side of the Ethernet connection can 
not boot up as fast as E1702. In such cases this parameter can be 
used. It delays initialisation of Ethernet by the time given as 
parameter. The time is specified in unit “delayticks” where one 
“delaytick” is equal to about 0,5 seconds.
As long as the controller is halted during initialisation due to this 

parameter, this is signalled by the Stop-LED (please refer to 6.1.5
 User LEDs for details).

pethd=20

 - halt 

initialisation of the 

controller for about 10 

seconds prior to 

initialisation of Ethernet 

interface

cswaf

Sets a factor in unit bits per mm that is used with all commands 
that specify some distance or position (such as cspof). When this 
factor is set to a proper value, the given positions/distances can 
be specified in unit um instead of bits.
This parameter requires a firmware version 2 or newer.

cswaf=671089

 – set the 

conversion factor from bits 

to mm for a 100x100 mm 

working area

cxcnc

Configure the controller to accept G-Code data at the Ethernet-
interface (via Telnet communication) or at the USB-serial 
interface instead of regular commands. When this option is set, 
the controller can be operated with a stream of G-Code data. 
Different to the command “

cxcnc

” (as described in section “8.2 

Stand-Alone Control Commands” below) this one is permanent, 
means the G-Code operation mode stays active also when the 

current CNC-program is marked to being complete by the code 
M2.
This parameter requires a firmware version 20 or newer.

cxcnc=1

enable the G-Code 

reception mode for the 

controller card

6.1.8.1 Firmware Update

As described above the firmware is located on microSD-Card and therefore can be updated easily:

1. remove  the microSD-Card as described above
2. download a new firmware from 

https://halaser.systems/download/Firmware/E1702

 (the higher the 

number in the file name, the newer the firmware is)

3. copy the contents of this ZIP-file to microSD-Card (please take care about e1702.cfg in case it contains 

a changed configuration)

4. reinsert microSD-Card as described in previous section

6.1.9 Laser/Scanner Signals

6.1.9.1 XY2-100(E) Operation Mode

The white 26 pin connector provides several signals to be used to control up to two galvos of a scanhead and a 
laser source. It can be connected to an XY2-100 or XY2-100-E compatible scanner system via an adapter cable 
which splits XY2-100 and laser/input control signals. The connector provides following signals:

25

background image

Upper 

Row Of 

Pins

Signal

Voltage

Remarks

Lower 

Row Of 

Pins

Signal

Voltage

Remarks

1

CLK-

XY2-100- / 
XY2-100-E-
compatible 
signals

2

CLK+

XY2-100- / 
XY2-100-E-
compatible 
signals

3

SYNC-

4

SYNC+

5

X-

6

X+

7

Y-

8

Y+

9

LP8_0

CMOS, 0/5V, 
max 8 mA

Laser power 
control 
signals

10

GND

GND

11

LP8_1

12

ExtStart

CMOS, 0/5V

Input control 
signals

13

LP8_2

14

ExtStop

15

LP8_3

16

Pilot

CMOS, 0/5V, 
max 8 mA

Laser control 
signals

17

LP8_4

18

MO

19

LP8_5

20

LaserGate

21

LP8_6

22

LaserA

23

LP8_7

24

5V

5V

25

LP8 Latch

26

LaserB

CMOS, 0/5V, 
max 8 mA

Laser Gate provides laser modulation signal, turns on the laser during marks and off during jumps.

LaserA usage depends on software configuration and control, it is able to output a pulse-width modulated 
frequency (e.g. for controlling CO

2

 lasers), CW/continuously running frequency (e.g. for fiber lasers) or Q-

Switch signal (e.g. for YAG lasers) in range 25 Hz..20 MHz.

LaserB can be used for emitting a FPK pulse (e.g. for YAG lasers).

ExtStart expects a CMOS-level input signal in respect to GND and can be used as external trigger signal to start 
operations when a HIGH-signal is detected at input pin.

ExtStop expects a CMOS-level input signal in respect to GND and can be used as external stop-signal in order 
to stop a running marking operation by using a HIGH-signal at input pin.

LP8_0...LP8_7 provide parallel 8 bit output signal (e.g. for power control with MOPA lasers).

LP8 Latch pin signals valid output at LP8_0..LP8_7 by submitting a latch pulse of software-controlled length.

MO can be used to enable main oscillator (e.g. for MOPA lasers).

6.1.9.2 XY3-100 Operation Mode

The E1702S can operate in XY3-100 mode too. The controller can be connected to an XY3-100 compatible 
scanner system via an adapter cable which splits XY3-100 and laser/input control signals. The white connector 
of the E1702S provides following signals:

26

background image

Upper 

Row Of 

Pins

Signal

Voltage

Remarks

Lower 

Row Of 

Pins

Signal

Voltage

Remarks

1

SYNC-

XY3-100 
signals

2

SYNC+

XY3-100 
signals

3

CLK-

4

CLK+

5

X-

6

X+

7

Y-

8

Y+

9

LP8_0

CMOS, 0/5V, 
max 8 mA

Laser power 
control 
signals

10

GND

GND

11

LP8_1

12

ExtStart

CMOS, 0/5V

Input control 
signals

13

LP8_2

14

ExtStop

15

LP8_3

16

Pilot

CMOS, 0/5V, 
max 8 mA

Laser control 
signals

17

LP8_4

18

MO

19

LP8_5

20

LaserGate

21

LP8_6

22

LaserA

23

LP8_7

24

5V

5V

25

LP8 Latch

26

LaserB

CMOS, 0/5V, 
max 8 mA

Except for the XY3-100 signals, in this mode, pinout and signals are the same as described in section “6.1.9.1 
XY2-100(E) Operation Mode” abo
ve.

6.1.9.3 NX-02 Operation Mode

Beside the two operation modes described above, the E1702S can operate in NX-02 operati0n mode too. Here 

the complete scanner control signals are transmitted via two single wires, thus this mode is recommended to be 
used in environments where not enough space is available for the thicker XY2/XY3 cables. In NX-02-mode the 
white connector of the E1702S provides following signals:

Upper 

Row Of 

Pins

Signal

Voltage

Remarks

Lower 

Row Of 

Pins

Signal

Voltage

Remarks

1

DATA+

NX-02 
output signal

2

DATA-

NX-02 
output signal

3

Do not use

4

Do not use

5

Do not use

6

Do not use

7

Do not use

8

Do not use

9

LP8_0

CMOS, 0/5V, 
max 8 mA

Laser power 
control 
signals

10

GND

GND

11

LP8_1

12

ExtStart

CMOS, 0/5V

Input control 
signals

13

LP8_2

14

ExtStop

15

LP8_3

16

Pilot

CMOS, 0/5V, 
max 8 mA

Laser control 
signals

17

LP8_4

18

MO

19

LP8_5

20

LaserGate

21

LP8_6

22

LaserA

23

LP8_7

24

5V

5V

25

LP8 Latch

26

LaserB

CMOS, 0/5V, 
max 8 mA

Except for the NX-02 data output wires, in this mode, pinout and signals are the same as described in section 
6.1.9.1 XY2-100(E) Operation Mode” above.

6.1.9.4 XY2-100 Connection Cable

E1702S scanner controller board can operate an XY2-100-compatible scanner system directly. Here an 
adapter-cable is required that splits XY2-100 signals and additional laser/input control signals. Using such a 
cable, the white 26 pin connector described above, should be converted to a female, XY2-100-compatible, 25 
pin SUB-D connector (to connect with scanhead) and an other connector (which provides laser signals and 
start/stop inputs).

Pinout of a D-SUB25 XY2-100 connector should be conform to the standard. GND is not required for signal 
transmission and therefore is optional:

27

background image

1 – CLK-

2 – SYNC-

3 – X-

4 – Y-

14 – CLK+
15 – SYNC+
16 – X+
17 – Y+
18 – GND (optional)

XY2-100 status signals from scanhead are not used for E1702S.

Pinout of a limited D-SUB15 XY2-100 connector depends on used scanhead but typically looks like this:

1 – CLK-

2 – SYNC-

3 – X-

4 – Y-

5 – Z-

9 – CLK+
10 – SYNC+
11 – X+
12 – Y+
13 – GND (optional)

XY2-100 status signals from scanhead are not used for E1702S.

6.1.9.5 XY3-100 Connection Cable

The E1702S scanner controller board can operate an XY3-100 scanner system directly. Here an adapter-cable 
is required that splits XY3-100 signals and additional laser/input control signals. Using such a cable, the white 
26 pin connector described above, should be converted to a female, XY3-100-compatible, 25 pin SUB-D 
connector (to connect with scanhead) and an other connector (which provides laser signals and start/stop 
inputs).

Pinout of a D-SUB25 XY3-100 connector should be conform to the standard. GND is not required for signal 
transmission and therefore is optional:

28

background image

1 – SYNC-

2 – CLK-

3 – X-

4 – Y-

14 – SYNC+
15 – CLK+
16 – X+
17 – Y+
18 – GND (optional)

6.1.10 Extension Connectors

The two extension connectors on each side of the board can be used to place extension boards with additional 
peripheral interfaces. The extension connectors are designed to place/remove boards from time to time but 
they are not intended for constant hardware changes. So changing extension boards repeatedly and often e.g. 
as permanent part of a production process is not recommended.

Key pin closed on lower connector and missing in upper board to ensure correct orientation

PLEASE NOTE: when placing a new extension board
1.check correct orientation and position of the key pin which is closed in connector
2.place the pins of the extension boards onto the extension connectors exactly
3.move down the extension board by pressing on its extension connectors gently; DO NOT PRESS THE BOARD 
ITSELF BUT ONLY THE CONNECTORS!

29

background image

PLEASE NOTE: When removing an extension board DO NOT pull on the extension connectors but hold both 
boards on their long side directly at the PCBs edges:

Due to of the large number of pins, it is easy to plug in an extension but more difficult to pull it out. So when 
removing an extension board, it is recommended to be very slow and to carefully pull each side up just a little bit 
to avoid bending of the pins as they exit. 

6.1.11 Stand-Alone Operation

E1702 scanner controller cards can be operated in stand-alone mode. In this mode all marking data are stored 
on SD-card and the board can operate without direct control of a host-PC that sends the data to be marked. 
Such stand-alone marking data can be created e.g. in BeamConstruct marking software.

The names of these stand-alone files are allowed to have a maximum length of 30 characters (including the dot 
and the file extension). There are two possibilities to have stand-alone data on the SD-card:

BEAMP project files like they are used within BeamConstruct (requires firmware version 3 or higher)

EPR files which can be generated in BeamConstruct out of a BEAMP project file

These two variants differ in its possibilities:

EPR files are optimised for the target system within BeamConstruct, so they are smaller, and load 
faster in stand-alone mode for the price of limited features and functions

BEAMP files support more functions and features and are less limited, but for the price of not being 
optimised, so loading of these files from SD-card is slower compared to EPR files

6.1.11.1 Stand-Alone Operation with EPR files

The base-stand-alone file comes with a file-extension .EPR. In case the stand-alone file contains dynamic data, a 
second file with the same filename but the extension .DAT is created (for details about dynamic stand-alone 
data please refer to section “6.1.11.1.1 Create Stand-Alone EPR Data with BeamConstruct”). When a stand-
alone-mode of type “ioselect” is used, the filename has to follow some specific rules too, here it typically has to 

30

background image

be a number which corresponds to the selection done at the digital inputs (for details about the different stand-
alone modes and their behaviour please refer to section “6.1.11.3 Stand-Alone Configuration Parameters”).

6.1.11.1.1 Create Stand-Alone EPR Data with BeamConstruct

To use BeamConstruct for generation of stand-alone EPR data for E1702 scanner controllers, the card has to be 
fully configured (including all scanner, laser and pen-parameters). Next the marking data to be stored on SD-
card have to be created. To generate stand-alone data, menu "Processing", sub-menu "Write Marking Data to 
File" or "Send Named Marking Data" has to be selected.

First one gives the possibility to write the data to microSD card when E1702 is switched off and the microSD 
card is plugged into host PC. Here it is recommended to use file extension ".EPR" for the file generated by 
BeamConstruct. Next it is also recommended to always let BeamConstruct write to microSD card directly 
because sometimes more than only one file is created. Direct write operation to BeamConstruct ensures all 
files are available on microSD and no data can be forgotten to be copied.

The second variant allows to download the stand-alone data to the controller while it is connected and running. 
Precondition for sending data to a running controller are:

no mark operation is in progress (controller is idle)

no stand-alone project is loaded (please refer to description of ioselect-mode and stand-alone control 
commands below).

a valid name is given in style 0:/filename.epr

This operation creates the .EPR-file and all additional files on microSD card of the running controller 
automatically.

PLEASE NOTE: such an .EPR-stand-alone file can NOT be converted back to vector data that could be edited in 
BeamConstruct! Creating these files is a one-way-conversion of your projects. Thus it is recommended to save 
these projects twice – once as normal .BEAMP-File which can be loaded and modified later and once as .EPR-
file which has to be used on SD-card. This also means such .EPR-files are protected so that it is possible to give 
away designs to some end-users which shall not be able to modify them.

E1702 controller supports all static data in stand-alone mode (like all kinds of static geometries, output signals, 
waiting for input commands, waiting for trigger, all laser- and scanner parameters). But it does not store the 
vector data using a possibly configured correction table! To get a valid correction for stand-alone operations, 
the related correction file has to be saved on microSD card and needs to be activated using parameter 
"corrtable0" in e1702.cfg configuration file (please refer to description above).

Next E1702 scanner card supports dynamic content (means content which can be changed later when running 
in stand-alone mode) when following conditions are met:

a text element uses one of the laser vector font families "Roman", "Script" or "Times" and it makes use 
of an input element or

a text element makes use of a TrueType font and it makes use of an input element; here any available 
TrueType font can be used and several hatch-patterns can be applied

 for both types of text some limitations apply (only left t

o right orientation, no 

scaling/rotation/slant/mirroring is applied to the font and only the characters 

' ', !, ", #, $, 

%, &, \, (, ), *, +, ,, -, ., /, 0, 1, 2, 3, 4, 5, 6, 7, 8, 9, :, ;, <, =, 
>, ?, @, A, B, C, D, E, F, G, H, I, J, K, L, M, N, O, P, Q, R, S, T, U, V, 
W, X, Y, Z, [, \, ], ^, _, `, a, b, c, d, e, f, g, h, i, j, k, l, m, n, o, 
p, q, r, s, t, u, v, w, x, y, z, {, |, }

 and 

~

 can be used, BeamConstruct version 4.8 

or newer is required); or

a barcode element uses type "DataMatrix" with option "MergeCells" disabled and it makes use of an 
input element

any kind of hatch and combined hatches can be applied to a barcode element (but not to a text element)

marking output is neither XY-flipped nor mirrored nor rotated or slanted

when an input element of type “Serial Number” is used, serial number counting is done according to the 
settings of the related element

when an input element of type “CSV File Data” is used, elements out of a CSV-table can be read and 
used for the dynamic element:

31

background image

the CSV-file itself needs to be placed on the SD-card and has to use the same name like the EPR file but 
with extension CSV (so when the stand-alone file is named “data.epr”, the CSV-file needs to be named 
“data.csv”), resulting from that one EPR file can handle exactly one CSV file;
supported parameters of the CSV input element are the column separator, the data column to read the 
data from and the “Endless loop” option (for details please refer to the manual of BeamConstruct)

when any input element is used, the contents of the text/barcode can be changed via command 

cstxt

”, in this case the automatic updating of the input element has no effect

When these conditions are met, a text or barcode can be modified during stand-alone operation either via 
stand-alone control commands as described below or via a Serial Number input element that is applied to it in 
BeamConstruct. Here all serial number, time, date and formatting functions of this input element are 

supported. To get a valid time in stand-alone mode, it needs to be set after boot-up via stand-alone control 
commands (as described below) or a SNTP time server has to be configured to retrieve current time from an 
external source (please refer to description e1702.cfg parameters above).

6.1.11.2 Stand-Alone Operation with BEAMP files

This feature requires a firmware version 3 or newer:

When BEAMP-project files have to be used, no special conversion is necessary. Here as only precondition the 
BEAMP-project file itself needs to be configured for usage with the E1702S controller card. Once this was done 
and the project works properly out of BeamConstruct, it can be saved and the BEAMP file can be copied to the 
SD-card of the controller card.

As BeamConstruct provides a GUI and user interaction which is not available in stand-alone mode, some 
limitations apply to BEAMP project files too. So all functions, which are related to hardware or devices which 
are not the E1702S controller, are ignored. Same is true for all functions that cause something being displayed 
to the user. Furthermore no Unicode data/characters are supported, so one should strictly use only plain ASCII-
characters everywhere within a BEAMP project.

Following features are supported when a BEAMP project file is executed in stand alone mode:

full support of all primary elements that contain geometries including commands for manipulating 
these elements position, rotation, size,…

support of control primary elements as long as the related hardware is accessible (such as Delay, 
External Trigger, Custom Input, Custom Output – other elements are available on request)

support of Text elements including the possibility to dynamically change the contents of the text 
element via an input element or a command without further preconditions (currently only Laser Vector 
fonts are supported)

support of Barcode elements including the possibility to dynamically change the contents of the text 
element via an input element or a command without further preconditions (currently DataMatrix and 
QR barcodes are supported, additional barcode types are available on request)

Support of input elements to automatically change the contents of a superior element (such as 
Serial/Date/Time, other input elements are available on request)

Support of post-processing elements to update the geometries of a superior element when it was 
modified (such as Curve Distortion, other post-processing elements are available on request)

Support of the Hatcher additional element to update the hatch of a superior element when it was 
changed (support of all line-style hatch types, no beam-compensation and no inner/outer lines are 
supported as well as the hatch tiling)

support of all custom dot styles which applies to elements that are updated via input elements or 
external commands

6.1.11.3 Stand-Alone Configuration Parameters

Within e1702.cfg configuration file of E1702 scanner controller one of the following stand-alone operation 
modes can be selected via the configuration parameter "standalone":

standalone=off

32

background image

Stand-alone mode is fully disabled, the card acts as normal, host-PC-controlled device and all .EPR- 
and .BEAMP-files on the SD-card are ignored. Digital outputs are not toggled since no stand-alone operational 
states have to be signalised here (please refer next section).

standalone=auto

Stand-alone mode is enabled, a file specified by and additional parameter "autofile" is loaded and prepared for 
marking. Marking of this file is started only when an external trigger signal is detected. The file itself has to be 
specified via additional configuration parameter that gives the filename of the stand-alone file to be loaded. As 
an example a parameter: "

autofile=0:/myfile.epr

" would try to load the file "myfile.epr" from SD-card 

and prepare it for marking. In this mode the digital outputs are toggled as described in next section.

standalone=loop

This is the same like mode "auto" described above, but using "loop" the E1702 controller does NOT wait for an 
external trigger signal! So when no trigger points are set in stand-alone datafile itself, in this mode marking 
would be done in an infinite loop, repeating the given "

autofile

" again and again.

standalone=haltedloop

This is the same like mode "loop" described above, but marking does not start immediately. By default the 
controller is in state “halt” until the ExtStart input is set to HIGH level. Marking continues only as long this input 
stays at HIGH. When it goes back to LOW, marking is continued until the laser is turned off the next time 
(defined by the geometry which is currently loaded) and it is halted again. Next time ExtStart goes to HIGH, 
marking continues at the position where it was halted before.
Please note: for this mode it is recommended to have marking data with vectors that are interrupted by jumps 
from time to time. When ExtStart gows to LOW, marking continues until the next jump is found. This means, 
when the controller processes a complex, long-lasting vector, marking will continue for the whole time this 
vector needs although ExtStart is already wt LOW. So the laser is never interrupted and turned off within a 
mark operation.
In this mode the timeout-parameter “

haltedlooptimeout

” is used.

standalone=iohaltedloop

This mode is a combination out of "haltedloop" described above and “ioselect” described below (please refer 
there for usage details). In this mode a project can be selected via digital inputs of Digi I/O Extension Board but 
it is started immediately and marked in an endless loop as long as ExtStart input is HIGH (so the level at 
ExtStart is checked, not the rising edge of an applied signal). When a different project is selected by applying a 
different input pattern at DIn digital inputs, the current project is cancelled and the new one is started in a loop 
again.
In this mode the timeout-parameter “

haltedlooptimeout

” is used.

standalone=ioselect

This mode requires Digi I/O Extension Board (please refer below). Here it is possible to select one of 256 stand-
alone marking jobs via the digital inputs. The number that results out of the input pattern of the Digi I/O input 
lines specifies the filename of the marking job that has to be loaded from SD card:

Selected input(s)

Stand-alone file loaded from SD-card

All inputs set to LOW (not recommended to be used)

0.epr / 0.beamp

DIn0 set to HIGH

1.epr / 1.beamp

DIn1 set to HIGH

2.epr / 2.beamp

DIn0 and DIn1 set to HIGH

3.epr / 3.beamp

DIn2 set to HIGH

4.epr / 4.beamp

DIn0 and DIn2 set to HIGH

5.epr / 5.beamp

DIn1 and DIn2 set to HIGH

6.epr / 6.beamp

33

background image

DIn0, DIn1 and DIn2 set to HIGH

7.epr / 7.beamp

DIn3 set to HIGH

8.epr / 8.beamp

DIn4 set to HIGH

16.epr / 16.beamp

DIn5 set to HIGH

32.epr / 32.beamp

DIn6 set to HIGH

64.epr / 64.beamp

DIn7 set to HIGH

128.epr / 128.beamp

All inputs set to high

255.epr / 255.beamp

PLEASE NOTE: 0.epr or 0.beamp (no inputs set to HIGH) can be used but it is not recommended to do that. This 
value should be reserved for "no job active" to set the card into an inactive mode also in stand-alone operational 
mode. This may be necessary e.g. when new project data are downloaded to the controller without removing 
the SD-card.

Marking of a IO-selected job is started by external trigger signal (ExtStart input). When the input pattern at 
DIn0..DIn7 changes during marking, the currently running operation is continued and the other stand-alone job 
is loaded after marking operation has finished. In this mode the digital outputs are toggled as described in next 
section.

In stand-alone mode “ioselect” and “idxselect” .EPR-files or .BEAMP-file are loaded from microSD card as soon 
as a new input pattern is detected at digital inputs or as soon as a new index is loaded by command “clepr”. 
Depending on the size of the .EPR file/depending on the size and complexity of the .BEAMP-file and the speed 
of the microSD card, this may take a time that is too long for high-speed applications. Thus it is possible to 
operate such projects from controller's RAM completely: in e1702.cfg the numbers of the files to be loaded 
have to be specified with parameter “iobuff”, it can be used up to 20 times and expects the number of the file (so 
a line “iobuff=3” would be responsible for preloading file “0:/3.epr” or “0:/3.beamp”), file “0.epr”/”0.beamp” can 
not be loaded by this command.

Now these files are loaded into RAM and switching from one to an other is done much faster since toggling 
between them is done controller-internal and no more disk-operations are necessary for that. For .BEAMP files, 
the load time from SD-card is eliminated by this function, but the preprocessing time after loading wil still be 
there.
PLEASE NOTE: when too much too large .EPR/.BEAMP files are selected for preloading, this may exceed the 
available memory on card. This is signalled by the Error LED turned on and an appropriate message is stored in 
log buffer. In such a case a proper operation is no longer guaranteed.

standalone=idxselect

This mode works exactly like the mode “ioselect” (described above), but it does not need the Digi I/O Extension 
board. Instead of that, loading of a file can be done via an index number and the command 

clepr

. There the 

number of the file to be loaded has to be given. For a full description of all functions and features of mode 
“idxselect”, please refer the “ioselect” description above.

iolatch=1

This option can be enabled for one of the digital-input-controlled stand-alone modes “ioselect”, “idxselect” and 
“iohaltedloop”. When this option is set to 0 or when it does not exist in e1702.cfg, the digital input bitpattern at 
DIn0..DIn7 is used as new input value as soon as it is detected. When it is enabled, DIn7 is used as latch-bit. 
Then the digital input bitpattern at DIn0..DIn6 is used only when DIn7 is set to HIGH. So a proper method of 
selecting a digital input bitpattern with latch enabled would be:

34

background image

ensure DIn7 is at LOW

apply the desired bitpattern at DIn0..DIn6

wait for the maximum time the input bits may need to settle (depends on the external hardware and its 
capabilities)

set DIn7 to HIGH

wait until DOut0 goes to LOW

wait until DOut0 goes back to HIGH (when a valid bitpattern was applied that corresponds to an 
existing EPR file) or until loading timeout has elapsed (when a bitpattern has been applied where no 
EPR file exists for

set DIn7 to LOW

So as long as DIn7 is at low, state-changes at DIn0..DIn6 are ignored and the last detected bitpattern is used. In 
this mode only 127 different input bitpatterns are possible as DIn7 is used as latch bit.

6.1.11.4 Stand-Alone Control

The current stand-alone operational state is signalised via digital outputs (requires Digi I/O Extension Board):

DOut0

 – ready for marking – this output goes to HIGH as soon as a stand-alone job could be found on disk, was 

loaded successfully and is ready for marking. So external start signal should not be given until this output is 
HIGH. When a new stand-alone file is selected (e.g. via digital inputs in "

ioselect

"-mode) this output goes to 

LOW. It is switched back to HIGH only when the new file could be loaded successfully too.
This signal can be mapped to a different hardware output using configuration parameter 

tunereadyout

 and 

the related tune-flag.

DOut1

 – marking active – as long as this output is HIGH, a marking operation is in progress. When a different 

stand-alone file is selected (e.g. via digital inputs) as long as this output is HIGH, marking is continued and the 
new file is NOT loaded. Once the current marking operation is completed, the output goes to LOW. After that 
the board continues with current marking data (when no new ones have been selected), or it tries to load new 
ones (when a new file was selected).
This signal can be mapped to a different hardware output using configuration parameter 

tunemarkout

 and 

the related tune-flag.

35

background image

6.2 E1702 Digi I/O Extension Board

The E1702 Digi I/O Extension Board can be used with the E1702S baseboards and provides following features:

1. Digi I/O – electrically insulated digital in- and outputs
2. optional inputs for 90 degree phase shifted encoders to be used with marking on-the-fly operations
3. Opto-Configuration – choose operation mode for Digi I/Os
4. Input state LEDs – displaying of HIGH/LOW state of used inputs

In case more extension boards are used on E1702S, Digi I/O extension always has to be placed on top.

6.2.1 Digi I/O

The 20 pin connector provides 8 lines for input and 8 lines for output of digital signals that can work on CMOS 
level (non-insulated mode) or via opto-couplers (electrically insulated mode with external power supply) 
optionally. The operation mode depends on jumper settings described below. The connector is used as follows:

36

background image

Upper 

Row Of 

Pins

Signal

Voltage

Remarks

Lower 

Row Of 

Pins

Signal

Voltage

Remarks

1

V

ext

5..24V

Input voltage to 
be used in opto-
insulated mode 
only

2

GND

ext

GND

External ground

3

DOut0 CMOS, 0/5V 

or 0/V

ext

Default level: 
LOW 

1)

4

DIn0

CMOS, 0/5V 
or 0/V

ext

Encoder-input A1 
for marking on-
the-fly

5

DOut1 CMOS, 0/5V 

or 0/V

ext

Default level: 
LOW 

1)

6

DIn1

CMOS, 0/5V 
or 0/V

ext

Encoder-input B1 
for marking on-
the-fly

7

DOut2 CMOS, 0/5V 

or 0/V

ext

Default level: 
LOW 

1)

8

DIn2

CMOS, 0/5V 
or 0/V

ext

Second encoder-
input A2 for 
marking on-the-
fly

9

DOut3 CMOS, 0/5V 

or 0/V

ext

Default level: 
LOW 

1)

10

DIn3

CMOS, 0/5V 
or 0/V

ext

Second encoder-
input B2 for 
marking on-the-
fly

11

DOut4 CMOS, 0/5V 

or 0/V

ext

Default level: 
HIGH 

1)

12

DIn4

CMOS, 0/5V 
or 0/V

ext

13

DOut5 CMOS, 0/5V 

or 0/V

ext

Default level: 
HIGH 

1)

14

DIn5

CMOS, 0/5V 
or 0/V

ext

15

DOut6 CMOS, 0/5V 

or 0/V

ext

Default level: 
HIGH 

1)

16

DIn6

CMOS, 0/5V 
or 0/V

ext

17

DOut7 CMOS, 0/5V 

or 0/V

ext

Default level: 
HIGH 

1)

18

DIn7

CMOS, 0/5V 
or 0/V

ext

19

V

5V

Board voltage, 
to be used only 
when not 
operating in 
insulated mode

20

GND

GND

Board-internal 
ground

1) 

Please note the wiring scheme and the resulting, inverted logic below: a level of LOW means, the output is 

pulled to GND and a load that is connected from V to this pin is turned on. An level of HIGH means, the output is 
pulled to V and a properly wired load if turned off.

V

ext

 and GND

ext

 depend on opto-configuration as described below. In opto-insulated mode (opto-configuration 

jumpers not set) external power supply has to be connected to these inputs. Then DIn0..DIn7 and 
DOut0..DOut7 work in respect to this external power.
WARNING: When no opto-insulated mode is selected (opto-configuration jumpers are set), do NOT FEED ANY 
POWER into V

ext

, this would cause damage to the E1702 board! In this case V

ext

 is equal to V (5V) of the board 

and GND

ext

 is connected to boards ground GND.

Maximum current for every output is 15 mA when internally powered (non-insulated mode), here it is 
recommended to use an external power supply.
Maximum current for outputs DOut0..DOut3 is 50 mA when externally powered (V

ext

 in insulated mode).

Signal output lines DOut0..DOut7 operate in open collector mode and have to be wired as follows:

37

background image

Here “DOutx” symbolises one of the digital outputs DOut0..DOut7. V+ is either V (5V internal, non-insulated 
mode) or V

ext

 (up to 24V external, insulated mode). GND is either GND (non-insulated mode) or GND

ext

 

(insulated mode). The internal resistor of the connected device is not allowed to have less than 490 Ohms in 
order to not exceed the given current limits.
DOut0..DOut3 provide LOW signal level by default, DOut4..DOut7 provide HIGH level by default. These levels 
are valid immediately on power-up of the card.

6.2.1.1 Marking On-The-Fly Signals

Digital inputs 0 and 1 can be used as position encoder signal inputs for marking on-the-fly applications. Here 90 
degree phase-shifted input pulses are expected signalling motion direction and position change:

When these pulses are generated from a motion stage that moves the working piece, the resulting position 
information is used in marking on-the-fly mode to correct the marking positions accordingly. Resulting from 
that, marking will follow motion as far as available scanhead range and working area allows it.
The pulses generated out of the encoder signals have to be multiplied with a factor reflecting the resolution of 
the used encoder. To set up and adjust a marking on-the-fly-system properly, following steps have to be 
performed:

1. Connect encoder signals A1 and B1 to DigIn0 and DigiIn1 and configure E1702 controller for encoder 

usage (either from within BeamConstruct or via programming interface as described below)

2. Mark a square without any encoder signals feed into the controller
3. When the square does not have exact size and/or is distorted, modify correction table and/or gain 

settings

4. Mark the same square with a slow motion (using encoder pulses)

38

background image

5. When the square is damaged (means open on one side or compressed) the on-the-fly-factor has to be 

changed (set to a smaller or higher value)

6. Mark the same square with a fast motion (using encoder pulses)
7. When the square is damaged (means open on one side or compressed) the on-the-fly-factor has to be 

changed (set to a smaller or higher value)

The on-the-fly-factor controls the strength of compensation and is the relation between speed of external 
device/encoder pulses and card-internal compensation calculation. When this factor is wrong, the marking 
results are distorted. For a square (as recommended to be used in calibration steps above) following results are 
imaginable:

The left drawing shows an over-compensated system, here the internal compensation is too strong, the factor is 
too big. The right drawing shows an under-compensated set-up, here the factor is too small causing a too weak 
compensation. Only when marking result is really a square, the on-the-fly-factor is correct.

When “tune”-flag 2 is set, a second encoder can be used for 2D marking on-the-fly applications. In this mode 
digital inputs 0 and 1 (encoder inputs A1 and B1) correspond to X axis and on-the-fly factor for X direction. 
Additionally digital inputs 2 and 3 (encoder inputs A2 and B2) correspond to Y axis and on-the-fly factor for Y 
direction. Operation principle is the same as for 1D on-the-fly described above: the incremental values received 
from the encoders for X and Y are added to the current X and Y coordinates to be marked. Procedure for 
adjusting the encoder factor is also the same, here it is recommended to perform this operation for X and Y 
movements separately and finally try both motion directions together.

6.2.2 Opto-Configuration

Using these jumpers the operation mode for digital I/Os 0..7 can be chosen. When they are set, the opto-
couplers are powered internally. In this mode it is not working in opto-insulated mode and I/Os are using CMOS 
level signals.

When they are not set, external power and ground has to be provided at 20 pin connector (as described above) 
and these digital I/Os are working in electrically insulated, opto-coupled mode.

6.2.3 Input State LEDs

These 8 yellow LEDs show the state of corresponding 8 digital inputs. As long as a HIGH signal is detected on an 
input, the related LED is turned on.

39

background image

6.3 E1702 Secondary Head Extension Board

The E1702 Secondary Head Extension Board can be used up to three times with the same E1702S Baseboard 
to have a scanner controller system with a total of up to four heads connected. These additional scanheads 
work fully parallel to the primary scanhead of E1702S baseboard.

It provides following features:

1. XY2-100 or XY3-100 signals to scanhead
2. Extension connectors – more extension boards can be placed here in order to add some more 

functionality and hardware interfaces to the board, please refer to related section in description of 
baseboard above

6.3.1 Scanner Signals

The white 26 pin connector provides XY2-100-compliant signals to be used to control up to two galvos of a 
scanhead. It can be connected to an XY2-100 compatible scanner system directly and without further 
modifications when a 1:1 connection to a D-SUB25 connector is used.
The connector provides following signals:

Upper 

Row Of 

Pins

Signal

Voltage

Remarks

Lower 

Row Of 

Pins

Signal

Voltage

Remarks

1

CLK-

XY2-100- / 
XY2-100-E-
compatible 
signals

2

CLK+

XY2-100- / 
XY2-100-E-
compatible 
signals

3

SYNC-

4

SYNC+

5

X-

6

X+

7

Y-

8

Y+

9

do not 
connect!

10

do not 
connect!

11

12

13

14

15

16

17

18

19

20

GND

GND

21

GND

GND

22

GND

GND

23

do not 
connect!

24

do not 
connect!

25

26

Comparing to E1702S Baseboard this connector does not provide any laser signals (like LaserGate, LaserA or 
LaserB). Since this scanner output works completely parallel to the one from E1702S Baseboard it has to be 
used together with the same laser using beam splitters.

40

background image

When operated in XY3-100 mode, the related signals are provided at the white 26 pin connector. It can be 
connected to an XY3-100 compatible scanner system directly and without further modifications when a 1:1 
connection to a D-SUB25 connector is used. 
The connector provides following signals:

Upper 

Row Of 

Pins

Signal

Voltage

Remarks

Lower 

Row Of 

Pins

Signal

Voltage

Remarks

1

SYNC-

XY3-100-
signals

2

SYNC+

XY3-100-
signals

3

CLK-

4

CLK+

5

X-

6

X+

7

Y-

8

Y+

9

do not 
connect!

10

do not 
connect!

11

12

13

14

15

16

17

18

19

20

GND

GND

21

GND

GND

22

GND

GND

23

do not 
connect!

24

do not 
connect!

25

26

Comparing to E1702S Baseboard this connector does not provide any laser signals (like LaserGate, LaserA or 
LaserB). Since this scanner output works completely parallel to the one from E1702S Baseboard it has to be 
used together with the same laser using beam splitters.

When working in NX-02 mode, the related signals are provided at the white 26 pin connector.

The connector provides following signals:

41

background image

Upper 

Row Of 

Pins

Signal

Voltage

Remarks

Lower 

Row Of 

Pins

Signal

Voltage

Remarks

1

DATA+

NX-02 
output signal

2

DATA-

NX-02 
output signal

3

do not 
connect!

4

do not 
connect!

5

6

7

8

9

10

11

12

13

14

15

16

17

18

19

20

GND

GND

21

GND

GND

22

GND

GND

23

do not 
connect!

24

do not 
connect!

25

26

Comparing to E1702S Baseboard this connector does not provide any laser signals (like LaserGate, LaserA or 
LaserB). Since this scanner output works completely parallel to the one from E1702S Baseboard it has to be 
used together with the same laser using beam splitters.

42

background image

6.4 E1702Sdock Extension Board

The E1702Sdock is an expansion board which either can be mounted on very top of the E1702S (using hex-
stands or distance bolts) or which can be mounted near to it (e.g. by using a second E170Xbase). It has to be 
wired with simple 1:1 flat-belt cables to the E1702S controller card. Dependent on which extension boards are 
available, the E1702Sdock provides some easy to use interfaces for connecting external equipment without the 
need to have own, complex wiring. Or in other words: when E1702Sdock is used, it acts as some kind of 
breakout-board, lasers and scanheads can be connected quite easy, only a few 1:1 cables need to be plugged.

PLEASE NOTE: prior to using the E1702Sdock, please ensure the pinout of the connectors (as described below) 
really fit to your specific variant of your used laser. Elsewhere irreversible damage are possible at laser and/or 
scanner controller card.

PLEASE NOTE: when using the digital signals (from Digi IO extension board) in parallel, you need to ensure they 
are not used twice, out of both connectors. This may otherwise result in an undefined and unwanted behaviour 
as they work parallel and can’t be switched separately. When a parallel usage is intended, please double-check 
the current consumption of connected devices as the total current that can be provided by these lines does not 
double but is the same total value for two connections then. Exceeding the total maximum allowed current of a 
E1702S-signal may cause an irreversible damage to the controller otherwise.

6.4.1 E1702Sdock Connectors

On top side the E1702Sdock provides the following connectors:

1.

E1702S baseboard input connector

This connector has to be wired with a 1:1 connection to the E1702S baseboard (laser and scanner 
connector as described in section “6.1.9 Laser/Scanner Signals”)

2.

E1702S NX-02 output connector

This interface can be used to connect an NX-02 or SL2-100™ scanhead directly via a 1:1 connection 
when E1702S operates in NX-02 mode. It provides the following pinout:

Pin Description

Pin Description

1

NX-02 DATA+

2

NX02-DATA-

3 Do not connect!

4

Do not connect!

5 Do not connect!

6

Do not connect!

7 Do not connect!

8

Do not connect!

9 Do not connect!

10 Do not connect!

3.

E1702S Digi I/O input connector

This connector has to be wired with a 1:1 connection to the Digi IO extension boards interface (as 
described in section “6.2.1 Digi I/O”); in case additional signals of the Digi I/O extension need to be used 

elsewhere, a flat-belt cable can be used that comes with three IDC-plugs on it. Then one plug can be 
connected to the Digi IO extension board, one to the E1702Sdock and one to some additional 
hardware making use of this interface. In this case please ensure no signals are double-used and no 
short-circuits are caused on input lines, otherwise the controller card, the E1702Sdock and/or the 
connected hardware may be damaged irreversibly!

The Digi I/O connector needs to be wired only in case
- a MOPA laser is connected and at least one of the alarm feedback signals is used or
- A YAG/CO

2

 laser is connected and the shutter control signal is used

PLEASE NOTE:

 depending on the connected laser and the jumpers (8), some of the digital inputs are 

used from within the E1702Sdock! In this case the related signals should not be used for anything else, 
otherwise the controller card, the E1702Sdock and/or the connected hardware may be damaged 
irreversibly by a short-circuit! For more details please refer to the pinout of the laser connectors (5 and 

43

background image

6) and the description of the jumpers (8) below.

4.

XY2-100/XY3-100 output connector

In case the E1702Sdock is used with the E1702S controller card in XY2-100 or XY3-100 mode, this 
interface can be used to connect a XY2-100/XY3-100 scanhead directly. Here only a 1:1 D-SUB25 
cable is needed. On this connector both, the XY2-100/XY3-100 signals as well as the optional power 
from the screw terminal (10) are provided. When a scanhead does not support power supply via the D-
SUB25 cable, the power input at the screw terminal (10) can be left unused. This connector provides 
the standard pinout for XY2-100/XY3-100 connectors so that all compliant scanheads can be 
connected directly:

XY2-100 pinout

XY3-100 pinout

CLK-

SYNC-

X-

Y-

+V
+V

GND

-V
-V

CLK+
SYNC+

X+
Y+

+V
GND
GND
-V

A-
B-

C-

D-

+V
+V

GND

-V
-V

A+
B+

C+
D+

+V
GND
GND
-V

5.

MOPA laser output connector

This connector of the E1702Sdock can be used with most MOPA/fiber lasers such as IPG YLP interface 
types G (without SPI serial interface and pin 12 alarm signal), E (without APD indexing), D, D1, B, B1, 
MaxPhotonics MFP, JPT YDFLP, Raycus RFL-PMX, Raycus RFL-PQB, GZTech YFPN series and 
compatible laser types. Connection between E1702Sdock and laser is done mainly via a 1:1 D-SUB25 
cable. The connector provides the following pinout:

Pin Description

Pin Description

1 LP8_0 laser power signal, CMOS, max 8mA

14 GND

2 LP8_1 laser power signal, CMOS, max 8mA

15 Not connected

3 LP8_2 laser power signal, CMOS, max 8mA

16 DIn6 laser alarm pin 16, available at DIn6 of 

Digi I/O extension only when jumper 
„DIn6/ER16“ is set (refer to description 
below)

4 LP8_3 laser power signal, CMOS, max 8mA

17 Not connected

5 LP8_4 laser power signal, CMOS, max 8mA

18 MO main oscillator signal, CMOS, max 8mA

6 LP8_5 laser power signal, CMOS, max 8mA

19 LaserGate power amplifier signal, CMOS, max 

14mA

7 LP8_6 laser power signal, CMOS, max 8mA

20 LaserA 5V pulse repetitive signal, CMOS, max 

14mA

8 LP8_7 laser power signal, CMOS, max 8mA

21 DIn7 laser alarm pin 21, available at DIn7 of 

Digi I/O extension only when jumper 
„DIn7/ER21“ is set (refer to description 
below)

9 LP8 Latch laser power latch, CMOS, max 8mA 22 Pilot signal used to switch the pilot laser, 

CMOS, max 14mA

10 GND

23 Emergency input, connected to screw 

connector (10), has to be pulled to HIGH for 
different laser types to enable operation

11 DIn5 laser alarm pin 11, available at DIn5 of 

Digi I/O extension only when jumper 
„DIn5/ER11“ is set (refer to description below)

24 Not connected

44

background image

12 Not connected

25 Not connected

13 Not connected

The signals on this connector are available only when LP8 extension and optionally Digi I/O extension 
is used.

6.

YAG/CO

2

 laser output connector

This is a connector for direct connection to laser. A connection can be established using a standard 1:1 
D-SUB-cable. This connector provides the following pinout which is typically to most common YAG or 
CO

2

 lasers:

Pin Description

Pin Description

1 Not connected

14 Not connected

2 Not connected

15 Not connected

3 GND

16 Not connected

4 Emergency input, connected to screw 

connector (10) and has to be pulled to HIGH 
for different laser types to enable operation

17 GND

5 GND

18 GND

6 GND

19 GND

7 Shutter control, this pin is connected to 

DOut7 of the Digi IO extension

20 LaserB first pulse killer signal (FPK/QKILL for 

YAG lasers) or pilot laser output (for CO2 
lasers), CMOS, max 14mA

8 GND

21 AOut1 power control, analogue signal in range 

0..10V, max 15mA

9 AOut0 frequency control, analogue signal in 

range 0..5V, max 15mA; this signal is 
hardware-divided by 2 comparing to the 
original AOut0

22 LaserA 5V output, CMOS, max 14mA

10 GND

23 MO used to switch the pilot laser, CMOS, max 

8mA

11 GND

24 LaserGate non-inverted/high-active laser-on 

signal, CMOS, max 14mA

12 LaserGate inverted/low-active laser-on signal, 

CMOS, max 40mA

25 LaserA negative +-5V output of differential 

PWM signal (PWM-, also connected to shield 
of BNC-connector/9)

13 LaserA positive +-5V output of differential 

PWM signal (PWM+, also connected to core of 
BNC-connector/9)

All the signals on this connector are available only when the optional Digi I/O extension is used.

7.

Start/Stop input connector

This connector can be used only together with E1702S controller board and provides easy access to 
the ExtStart and ExtStop input pins (as described in section “6.1.9 Laser/Scanner Signals”). The 

connector requires a JST PH3P type plug and comes with following pinout:

1 2 3

1 – ExtStart input
2 – ExtStop input
3 - +5V output to be used with ExtStart and ExtStop

8.

MOPA alarm signal jumpers

These jumpers can be set when a MOPA laser is connected via (5) and the alarm feedback signal of this 
laser has to be used. For each of the lasers alarm lines that is intended to be read back, the related 
jumper has to be set (for details please refer to the pinout of connector 5 above and the manual of your 
laser).
PLEASE NOTE: when a jumper is set here, the related digital input of the Digi IO extension can’t be 

45

background image

used as input any more! Doing so can cause a short-circuit and may damage the scanner controller 
card, the E1702Sdock and/or the external equipment feeding a signal into DIn5/DIn6/DIn7.
Reading back the laser alarm signals requires the Digi IO extension

9.

BNC-connector for PWM/tickle-signal

It provides a differential +-5V LaserA signal which is also available as PWM+/PWM- at the D-SUB25 
connector (pins 13 and 25 of connector 6) and which can be used for all PWM-controlled lasers such as 
YAG or CO

2

10.

Power supply and enable signal connector

This connector can be used to supply power to a connected XY2-100/XY3-100 scanhead. It has 
following pinout:

Pin Name

Description

5

-9..-30V Power supply to scanhead, to be used only with E1701D controller board, is directly 

connected to pins 9, 10 and 22 of (4); this input voltage does 

NOT

 supply the controller 

board

4

GND

Common and scanhead ground, is directly connected to pins 11, 23 and 24 of (4)

3

+9..30V Power supply to scanhead, to be used only with E1701D controller board, is directly 

connected to pins 12, 13 and 25 of (4); this input voltage does 

NOT

 supply the 

controller board

2

5V

5V output from scanner controller card, can be used e.g. to feed EMRG input (e.g. via 
contact of a relay). Please note: The “5V” pin of this screw connector is not allowed to 

be used for supplying power to any other peripherals.

1

EMRG

Emergency/enable input for lasers, this pin is directly connected to pin 4 of YAG/CO

2

 

connector (6) and pin 23 of MOPA connector (5).

In case the three inputs 3, 4 and 5 are connected to a bipolar power supply providing +-12..+-30V to 
power the connected scanhead, the input voltage is feed to the scanhead directly via the 
XY2-100/XY3-100 connector but not to the scanner controller card. Here the input voltage has to be 
equal to the voltage required by the scanhead (typically +-15V or +-24V). Power supply needs to 
provide 1A plus current required for connected scanhead.

When no power supply with symmetric/bipolar outputs is available, it is possible to combine two 
standard power supplies. Here GND of the first power supply has to be connected with +V of the 
second power supply and with the GND-screw-connector of E1702Sdock according to following 
scheme:

ATTENTION: When connecting wires to the screw terminals, do not transmit any force to the PCB 
where the green connector is soldered at! While screwing tight the wires, hold the connector by hand 
to catch the force but 

do not hold the PCB only!

11. On bottom side (marked in blue) there is a solder jumper “JP17” which applies +5V to pin 17 of the 

MOPA laser connector when closed. This jumper should be closed ONLY when the connected laser 

46

background image

expects a voltage input at this pin in order to operate some internal functions.
ATTENTION: Closing this pin when the connected laser does not expect this voltage input may cause 
irreversible damage to the hardware!
Right beside the solder jumper there is a pinhole which can be used to solder in a wire 

when the solder 

jumper is not closed

. This pinhole, named as P17, is directly connected to pin 17 of the MOPA D-

SUB25 connector. It can be used to apply any other, custom signal to that pin (depending on what the 
laser expects here).
ATTENTION: applying any other signal to P17 while JP17 is closed may cause a short circuit with the 
5V rail of the controller and may cause irreversible damage to the hardware!

When you are unsure about the usage of the JP17 solder jumper and/or the P17 wire soldering point, 

please contact HALaser Systems first!

12.

Power output connector

This is an additional connector which can be used to simplify power wiring of the E1702S. When power 
is applied to connector (10), the same power is provided as output at the pins of this connector. It can 
be used to establish a connection to the power input pins of the E1702S (as described in section “6.1.3 
Power”). The power output connector pro
vides the following pinout which allows a simple 1:1 
connection to the power plug of the E1702S baseboard:

Pin Description

Pin Description

1 +9..+30V

2

+9..+30V

3 GND

4

GND

5 -9..-30V

6

-9..-30V

6.4.2 E1702Sdock Wiring

The E1702Sdock can be mounted on top of a E1702S-stack using hex-stands or distance bolts. E1702S is 
typically mounted on an E170Xbase (optional) to make use of a DIN-/C45-rail while the E1702Sdock is placed 
on very top. Connection between E1702S controller and its extension boards is done via short, 1:1 flat belt 
cables.

47

background image

6.5 E170Xbase

The E170Xbase extension is a mounting help for easy installation on DIN rails/C45 rails and other possibilities 
of mechanical integration into machines:

RED

 – mounting positions for DIN/C45 rail locks/DIN/C45 rail adapters (bottom side). Pairs of locks can be 

mounted in one of 2 possible orientations. Here locks of type Phoenix Contact 1201578 or similar can be used. 
With these locks the board then can be clamped on a DIN/C45 rail.

BLUE

 – mounting holes for the E1702S scanner controller card on top of the E170Xbase in one of two possible 

orientations. These holes are symmetrically arranged so that the board can be mounted by 180 degrees 
rotated. Here Hex stands/distance bolts with M3 threads (or similar) can be screwed in where the controller 
card is mounted on top.

GREEN

 – optional; mounting holes for a HALdrive converter board (top side) instead of an E170X scanner 

controller card, here Hex stands/distance bolts with M2 threads (or similar) can be screwed in where the 
HALdrive is mounted on top.

Mounting procedure for E170Xbase:

1. Identify suitable positions (

RED

) for two DIN/C45 rail locks and mount them on bottom side (two or 

three screws from top side into the lock on bottom)

2. Mount hex-stands or distance bolts in four of the given mounting holes (

BLUE

).

3. Mount E1702S on top of these hex-stands/distance bolts
4. Clamp the board on your DIN/C45 rail

Without the DIN/C45 rail clamps the board also can be used as top-cover for the E1702S.

48

background image

7 Quick Start into E1702S

Following a few steps are described that give users the possibility to quick start into usage of E1702S scanner 
controller. It makes use of BeamConstruct and the (slow) USB connection. For this quick start manual it is 
assumed correct wiring of the controller is already done according to the description above. For more detailed 
information about BeamConstruct usage please also refer to quick start manual from 

https://halaser.systems/download/manual_quickstart.pdf

 and to full user manual which is available at 

https://halaser.systems/download/manual.pdf

.

To start with E1702S controller:

1.

SECURITY CHECK:

 The following steps describe how to set up E1702S scanner controller card and 

how to control laser equipment with them. Thus all laser safety rules and regulations need to be 
respected, all required technical security mechanisms need to be available and active prior to starting 
with it.

2. Install latest software version from 

https://halaser.systems/download.php

 – for Windows this package 

contains all required drivers, for Linux no separate drivers are needed.

3. Connect E1702S controller via USB.
4. Now the Alive-LED should light up and then start blinking after some time. When this does not happen, 

please turn power off, check if the microSD-card is placed correctly and then try again.

5. Evaluate the serial interface the controller is connected with – for Windows the Device Manager (can 

be found in Control Panel) will list a new COM-port (e.g. “COM3”); for Linux type “dmesg” in console to 
find out to which interface it was connected with (typically “/dev/ttyACM0”).

6. Start BeamConstruct laser marking software.
7. Go to menu “Project”   “Project Settings...”, then tab-pane “Scanner”.

8. Now you can select “E1702S” as scanner controller card in the related combo box.
9. Press the “Configure”-button to get into the settings dialogue for E1702S plug-in.
10. Enter the serial interface name in field “IP/Interface” (e.g. “COM3” or “/dev/ttyACM0”).
11. Leave everything with “OK”.
12. Draw some geometries as described in “BeamConstruct Quick Start Manual”.
13.

SECURITY CHECK:

 Next the scanner controller card will be accessed for the first time. That means it is 

opened and initialised and all connected equipment may start working now. Thus it is very important to 
ensure all security regulations are met and nobody can be injured and no damage can be caused also in 
case laser output or other motion starts spontaneously and unexpectedly!

14. Press “F2” or go to menu “Process”   “Mark” to open the mark dialogue.

15. Start marking by pressing the yellow button with the laser-symbol

49

background image

8 Command Interface

When E1702 scanner card is connected via USB and the USB-connection is NOT used for transmitting marking 
information, it can be used to send control commands to the card. Some of them are independent of the current 
operating mode and some of them can be used only in case the controller is operating in stand-alone mode.
Beside the USB serial connection, these control commands can also be sent via Telnet using Ethernet 
connection. Here a Telnet-client has to connect to port 23 using the IP of the scanner controller. This Telnet 
client should work in passive mode. So when E1702 scanner card is connected via Ethernet and the Ethernet-
connection is NOT used for transmitting marking information, it can be used to send control commands to the 
card. Some of them are independent of the current operating mode and some of them can be used only in case 
the controller is operating in stand-alone mode.
Such a control command always consists of ASCII-text. An appropriate client has to connect to the serial port 
(COMx for Windows and /dev/ttyACMx for Linux where “x” is a number identifying the specific serial interface 
or TCP/IP port 23). As soon as the connection is established, commands can be sent to the card. All commands 
come with following structure:

cxxxx <parameter(s)>

The commands always start with character “c”. Next four characters identify the command itself. Depending on 
the command one or more optional or mandatory parameters may follow. The command always returns with an 
"OK" or with an error.

8.1 General Commands

The following commands can be used in all scenarios, they do not depend on a specific operation mode of the 
card. Nevertheless it is recommended to not to send commands excessively during card is marking, to not to 
influence marking operation.

cvers

"

vers

ion" – return version information of the controller card. This command returns a version string 

specifying version of hard- and firmware in style 

vFF-H

 where “

FF

” is the version of the firmware and “

H

” 

specifies the hadware revision of the controller.

cecho <0/1>

"

echo

" – when typing commands in a serial console communicating with the controller, all the typed 

characters are echoed, means they are sent back to the host so that a user can see what is typed. This may be an 
unwanted behaviour when an application communicates with this interface. Using this command the serial 
echo mode can be turned off (parameter 0, only return values are sent back) or on (parameter 1, all data are 
sent back). When called with no parameters, the current echo mode value is returned.
Example: 

cecho 0

 – turn off echo mode

cgbds

"

g

et 

b

oar

ds

" – get an identifier value for the connected boards. This command returns a decimal 

number which depends on the connected extension boards and can be used to identify them. The returned 
value is a sum consisting of the following numbers:
257 – XY2-100/XY3-100 baseboard (E1702S) is available
512 – Digi I/O Extension Board is available

cglog

"

g

et 

log

line" – returns a single logging line. This command has to be called repeatedly until an error is 

returned to get logging information from the controller. On each call of this function one logging line is 
returned. When "

cglog

" isn't used for a longer time it may be possible the internal log-buffer has overrun. In 

this case "

cglog

" will not return all log information, previous log data may be overwritten.

50

background image

cgbsr

"

g

et 

b

oard 

s

e

r

ial number" – returns the serial number of the card. This number is an unique, internal 

value that is used e.g. to identify a controller on host PC when more than one scanner card is used.

8.2 Stand-Alone Control Commands

Following commands are useful in case scanner controller is operating in stand-alone mode where marking data 
are loaded from microSD-card using special EPR-fileformat.

cstop

"

stop

" – stop marking as fast as possible. A running marking operation is stopped and LaserGate is 

turned off.

chalt <0/1>

"

halt

" – halts or continues the processing and output of marking data. When given parameter is equal 

to 1, marking is stopped next time the laser is off but no vector data are dropped. On continue (parameter equal 
0) controller continues processing at the point where halt occurred. When marking is stopped with 

cstop

 the 

halt-condition is cleared too, means on next transmission of new marking data they are processed without the 
need to explicitly continue operation by calling 

chalt 0

.

cstrt

"

st

a

rt

" – start marking operation. This command can be called only when no marking operation is 

running and when a valid project (.epr) file was loaded. In this case the currently loaded project is marked once.

ctrig

"

trig

ger" – send an external trigger signal by software. When scanner card is in state "marking" but 

waiting for an external trigger, this command releases this trigger. So behaviour is the same like a rising edge on 
the ExtStart input of the controller card.

cstat

"

stat

e" – return the current state of the card. This command returns one of the following texts 

identifying the operational state:

marking

 – card is processing some marking data currently, means either actively outputting them or 

waiting for an external trigger to start marking

stand-alone

 – controller is in stand-alone mode

idle

 – card is waiting and not marking

waiting

 – a project file was loaded, is ready for execution and waits for a trigger signal (either via 

ExtStart input or via command "

ctrig

")

cxcnc

“e

x

ecute 

CNC

 data” – switch to a mode where G-Code process data are accepted via Telnet/serial 

interface. When this command is set, the G-Code reception mode stays active until a command “M2” (end of G-
Code program) is detected. Only with M2 received, the controller returns to normal operation mode and again 
accepts native “c”- and “d”-commands.
This command can be used to send CNC-commands to the controller in order to let them be executed 
automatically like some direct control commands. These G-codes are executed like a stream of commands. So 

cxcnc

” provides an other possibility to send operation data to the controller. When enough data have 

provided to the controller, it starts marking automatically. In case of only very few CNC data that aren’t enough 
to let the controller start marking, this is done at the end of the CNC stream of data: after all the available G-
Code data have been transferred and transmission has been ended with “M2”, marking of these data is started.
To successfully send G-Code data, some preconditions have to be met. For data transmission via Telnet:

a G-Code line is limited to 255 characters maximum and always has to end with carriage return and/or 
line feed

51

background image

when transferring more than one line at the same time, the maximum packet size is 1460 bytes, at the 
end of such a packed a G-Code line has to end too and it is recommended to flush the full output buffer 
in order to invoke a data transmission over TCP/IP; this procedure is recommended in order to have an 
as fast as possible data transfer independent from the implementation a TCP/IP stack really uses

For data transmission via USB serial interface:

a G-Code line is limited to 255 characters maximum and always has to end with carriage return and/or 
line feed

The structure and supported G-Code commands are described in section “9 Supported CNC G-Code 
Commands
“ below.
This function requires firmware version 4 or newer.

cgtin

"

g

et 

t

rigger 

in

puts" – get the state of the external input signals. This command is not related to digital 

inputs of Digi I/O extension board but provides information regarding signal state of external start and stop. It 
returns a value that specifies which of these input signals are currently HIGH:
0 – ExtStart and ExtStop are both LOW
2 – ExtStart is HIGH
4 – ExtStop is HIGH
6 – ExtStart and ExtStop are both HIGH

cscor <idx>

s

et 

cor

rection” - specifies a new index for a previously loaded correction file (see description of 

configuration parameter 

corrtable

 in section “6.1.8 microSD-Card” above). The parameter 

idx

 can be a 

value in range 0..15 and needs to correspond to a previously loaded correction table. The newly set correction 
table applies to all vector data which are processed after this call. Thus it is recommended to use it only when 
marking operation was stopped – elsewhere it is not predictable how many vector data already have been pre-
calculated with the previous correction table and starting with which vector data the new correction file is 
used.
When a 

idx

-value is set which corresponds to no correction file data, no more correction is performed on 

vector data.

cgcor

g

et 

cor

rection” - this command is the counterpart of 

cscor

 and displays the index number of the 

currently used correction file 

clepr <path>

"

l

oad 

epr

" – loads an EPR stand-alone file from microSD card for outputting it on next marking 

operation. This command can be executed in stand-alone mode only.

When operating in stand-alone mode “idxselect”, the command expects a number as parameter which specifies 
the index file to be loaded.
When operating in stand-alone mode “ioselect” or “iohaltedloop”, the command is not supported.
When operating in any other stand-alone mode, the command expects the path to the file to be loaded as 
parameter. Since this is the only parameter, no quotes are allowed for the pathname. The pathname itself has to 
be in format

0:/filename.epr

where 

0:/

 specifies the microSD-card and 

.epr

 is the standard extension of E1702 stand-alone marking data 

files (this name is a shortcut for "

E

1702 

Pr

ocessing Data"). During loading the ready-for-marking output signal 

is turned off and it is turned on only in case the file could be loaded successful (please refer to related section 

above).
Examples: 

clepr 0:/test.epr

 – loads a stand-alone file "test.epr" from microSD card

cgepr

g

et 

epr

” – returns the name of the currently loaded stand-alone file or an error “no file specified” when 

no file is loaded.

52

background image

cdepr <path>

"

d

elete 

epr

" – deletes an EPR stand-alone file and all related, additional files from microSD card. This 

command can be executed in stand-alone mode only.

When operating in stand-alone mode “idxselect”, the command expects a number as parameter which specifies 
the index file to be loaded.
When operating in stand-alone mode “ioselect” or “iohaltedloop”, the command is not supported.
When operating in any other stand-alone mode, the command expects the path to the file to be delete as 
parameter. Since this is the only parameter, no quotes are allowed for the pathname. The pathname itself has to 
be in format

0:/filename.epr

where 

0:/

 specifies the microSD-card and 

.epr

 is the standard extension of E1702 stand-alone marking data 

files (this name is a shortcut for "

E

1702 

Pr

ocessing Data"). Deleting is done asynchronously, so the returned 

“OK” only verifies the command was accepted. Successful deletion of the file can be assumed after 0,5 seconds.
Examples: 

cdepr 0:/test.epr

 – deletes a stand-alone file "test.epr" from microSD card. When additional 

files 

test.dat

 (which may contain related dynamic data) and 

test.ser

 (which may hold serial number 

information) exist, they are deleted by this command too.

csbuf <idx> <path>

s

et 

buf

fer” - this command works similar to the configuration parameter “iobuff” and can be called in 

stand-alone modes “ioselect” and “idxselect”. It can be used to preload EPR stand-alone data files into memory 
so that they can be accessed faster and without additional accesses of the SD card. The first parameter 

<idx>

 

is mandatory and specifies the slot the EPR file has to be loaded to. Different to parameter “iobuff” where the 
slot number is given automatically and where the index value can be in range 1..255, here the slot number and 
the index number are always the same and are in range 1..20. So only the first 20 index values can be used 
together with this dynamic loading function. When only 

<idx>

 is given, the loaded file is 

0:/<idx>.epr

Optionally also a file name 

<path>

 can be given in format 

0:/file.epr

. In this case the given file is loaded to 

the slot specified by 

<idx>

 and can be accessed with the related index number. After every call to 

csbuf

 the 

command 

cgbuf

 has to be executed repeatedly until it returns -1.

Examples:

csbuf 3

 – loads the file 

0:/3.epr

 from SD-card and stores it in slot number 3 so that it can be accessed 

either via “

clepr 3

” (in stand-alone mode “idxselect”) or via a digital input pattern at the Digi I/O Extension 

representing a 3 (in stand-alone mode “ioselect)

csbuf 5 0:/markme.epr

 – loads the file 

0:/markme.epr

 from SD-card and stores it in slot number 5 so 

that it can be accessed either via “

clepr 5

” (in stand-alone mode “idxselect”) or via a digital input pattern at 

the Digi I/O Extension representing a 5 (in stand-alone mode “ioselect)

cgbuf

g

et processed 

buf

fer” - returns the index number of the buffer that is currently processed by a 

previous call to 

cgbuf

. As long as this command returns a value greater than -1, no other calls to 

csbuf

 are 

allowed. The returnend number specifies the index/slot number that is currently filled with data. When 

cgbuf

 

returns -1, the loading operation has been finished.

cjsor <percentage>

j

ump 

s

peed 

o

ver

r

ide” – changes the speeds of all jump speed values by the given factor. Here 

parameter 

percentage

 has to be given in unit 1/100%. The override-value specified by this command remains 

active until it is set back to normal value by calling “

cjsor 10000

” or until the controller is rebooted. The 

value given here is active for all processed data including host-controlled marking projects and stand-alone files 
loaded from microSD card.

cmsor <percentage>

53

background image

m

ark 

s

peed 

o

ver

r

ide” – changes the speeds of all mark speed values by the given factor. Here 

parameter 

percentage

 has to be given in unit 1/100%. The override-value specified by this command remains 

active until it is set back to normal value by calling “

cmsor 10000

” or until the controller is rebooted. The 

value given here is active for all processed data including host-controlled marking projects and stand-alone files 
loaded from microSD card.

cpwor <factor>

p

o

w

er 

o

verw

r

ite” - this command modifies the actual power by using the given factor (in unit 1/100%). 

All operations make use of the changed power until a factor of 10000 is set or until the controller is restarted. 
This is true for both, stand-alone applications where an .EPR-file is loaded from microSD-card and for host-
controlled marking operations (via libe1702 or BeamConstruct).
This command influences following methods of setting laser power:

pulse width, here user has to ensure the resulting pulse width is smaller than the period of the related 
frequency, elsewhere the output will be a continuous signal

LP8 laser port

cfror <factor>

fr

equency 

o

verw

r

ite” - this command modifies the actual frequency by using the given factor (in unit 

1/100%). All operations make use of the changed power until a factor of 10000 is set or until the controller is 
restarted. This is true for both, stand-alone applications where an .EPR-file is loaded from microSD-card and for 
host-controlled marking operations (via libe1702 or BeamConstruct).
This command is not available for lasermodes CO

2

 or YAG

cpuor <factor>

pu

lse-width 

o

verw

r

ite” - this command modifies the actual pulse-width by using the given factor (in 

unit 1/100%). All operations make use of the changed pulse-width until a factor of 10000 is set or until the 
controller is restarted. This is true for both, stand-alone applications where an .EPR-file is loaded from 
microSD-card and for host-controlled marking operations (via libe1702 or BeamConstruct).
This command is not available for lasermodes CO

2

 or YAG, there the pulse-width is changed via command 

cpwor

.

cgmtx

g

et 

m

atri

x

” - return the four elements of the 2x2 output matrix. The members of the matrix are 

returned as four integers with a factor of 1000. So returned values of “1200 0 0 1200” are equal to a matrix

1,2 0,0
0,0 1,2

Which itself defines a scale factor of 1,2 in both, X and Y direction of the output.

csmtx <m11 m12 m21 m22>

s

et 

m

a

t

ri

x

” - set a 2x2 matrix which is used for the global output of the scanner card. This means, the 

values applied here influence the whole project which is currently be marked. Such a 2x2 matrix can be used to 
modify the X- and Y-scale, the rotation and the X- and Y-slant of the output. The matrix members m11, m12, 
m21 and m22 have to be given as integers which represent the matrix elements multiplied by 1000.
As soon as a custom matrix is set via this command, all matrix values out of a loaded EPR file are ignored and 
only the matrix-values currently set are used. This includes gain and rotation correction settings which may be 
set in such an EPR file.
Example: 

csmtx 996 -87 87 996

 – rotate the output by 5 degrees; these values are generated out of the 

unity matrix {1000, 0, 0, 1000} which was multiplied with the rotation matrix {cos(5)*1000, -sin(5)*1000, 
sin(5)*1000, cos(5)*1000}

cswaf <factor>

54

background image

Sets a factor in unit bits per mm that is used with all commands that specify some distance or position (such as 

cspof

). When this factor is set to a proper value, the given positions/distances can be specified in unit um 

instead of bits. When a factor of 1000 is specified, the functionality is reset back to the default behaviour where 
position values have to be given in unit bits.
This parameter requires a firmware version 2 or newer.

cspof <x y z>

s

et 

p

osition 

of

fset” – sets a n position offset for the complete output. This function expects three parameters 

for the offset to be set in X, Y and Z-direction. The values to be given here are signed 26 bit, means they need to 
be in range -33554431..33554432. To reset the offset for one or more directions, a value of 0 has to be set.
Please note: this offset is set prior to the matrix calculations which may be done when a custom output matrix is 
set using command 

csmtx

. Resulting from that, the matrix calculation also applies to the offset defined here. So 

when the matrix e.g. defines a scale factor for the output, the offset values specified here are scaled by the same 
factor.
Example: 

cspof -16777216 0 0

 – shift the output by a quarter of the whole available working area to the 

left.

csser <"elementname"> <cnt>

"

s

et 

ser

ial number" – sets a new serial count value to an element in currently loaded project. The 

element name for this command has to be given with quotes ("). Setting a new count is possible only for dynamic 
elements like Datamatrix barcodes or texts that have a serial number input element assigned. Setting the value 
has to be handled with care, here every value can be specified independent if it fits to possibly exiting beat 
count values.
Example: 

csser "Text 2" 42

 – set a new serial number count value 42 for element with the name "Text 2"

cgser <"elementname">

"

g

et 

ser

ial number" – gets the current serial count value from an element in loaded project. The 

element name for this command has to be given with quotes ("). Getting the count is possible only for dynamic 
elements like Datamatrix barcodes or texts that have a serial number input element assigned. 

ciser <"elementname">

"

i

ncrement 

ser

ial number" – increments the current serial count value of an element according to its 

serial number parameters. The element name for this command has to be given with quotes ("). Incrementing 
the count is possible only for dynamic elements like Datamatrix barcodes or texts that have a serial number 
input element assigned. This function is more secure than forced setting of a new count value with "csser" since 
it can't violate the counting rules.

cdser <"elementname">

"

d

ecrement 

ser

ial number" – decrements the current serial count value of an element according to its 

serial number parameters. The element name for this command has to be given with quotes ("). Decrementing 
the count is possible only for dynamic elements like Datamatrix barcodes or texts that have a serial number 
input element assigned. This function is more secure than forced setting of a new count value with "csser" since 
it can't violate the serial number counting rules.

crser <"elementname">

"

r

eset 

ser

ial number" – resets the current serial count value of an element to its start-value (according 

to its serial number parameters). The element name for this command has to be given with quotes ("). Resetting 
the count is possible only for dynamic elements like Datamatrix barcodes or texts that have a serial number 

input element assigned. This function is more secure than forced setting of a value with "csser" since it can't 
violate the predefined serial number parameters and automatically uses the correct reset value.

cstim <seconds>

"

s

et 

tim

e" – this command sets the system time to the value specified with the parameter. Here the 

55

background image

number of seconds have to be specified that have elapsed since 01.01.1970 at 00:00:00. After sending this 
command the controller card operates at the given time. The time value is lost after next power cycle and has to 
be set again.
Example: 

cstim 1420113600

 – set the internal time of E1702 controller to 01.01.2015 12:00:00, here 

1420113600 represets the number of seconds that have been elapsed between 01.01.1970 00:00:00 and 
01.01.2015 12:00:00

crtim

"

r

etrieve 

tim

e" – this command schedules time retrieval from an SNTP server asynchronously. It always 

returns with "OK" since the command is scheduled for execution during next working cycles. To use this 
command, controller has to be configured with IP, netmask, gateway and SNTP server IP correctly and needs to 
be able to access this SNTP server from its position in network. For details please refer to description of 
configuration parameters in section about microSD card above.

cgtim

"

g

et 

tim

e" – returns the current time of the board in number of seconds that have elapsed since 

01.01.1970 at 00:00:00. After powering up the board and before a valid time has been set, this value is 
undefined.

cftim

"

g

et 

f

ormatted 

tim

e" – returns the current time of the board as formatted string in style DD.MM.YYYY 

hh:mm:ss. After powering up the board and before a valid time has been set, this value is undefined.

cstyr <year>

"

s

et 

t

ime 

y

ea

r

" – sets the year of the current system time to the value given as parameter. This value 

has to be in range 1900..2038

cstmo <month>

"

s

et 

t

ime 

mo

nth" – sets the month of the current system time to the value given as parameter. This 

value has to be in range 1..12 according to the number of the month.

cstdy <day>

"

s

et 

t

ime 

d

a

y

" – sets the day of the current system time to the value given as parameter. This value has 

to be in range 1..28, 1..30 or 1..31 according to the length of the current month. To avoid invalid combinations it 
is recommended to set the month (using command 

cstmo

) before setting the day.

csthr <hour>

"

s

et 

t

ime 

h

our" – sets the hour of the current system time to the value given as parameter. This value 

has to be in range 0..23.

cstmi <minute>

"set time minute" – sets the minute of the current system time to the value given as parameter. This 

value has to be in range 0..59.

cstsc <second>

"

s

et 

t

ime 

s

e

c

ond" – sets the second of the current system time to the value given as parameter. This 

value has to be in range 0..59.

cgsta

"

g

et 

s

erial s

ta

te" – this command applies only when working in stand-alone mode with dynamic serial 

number data that change on every mark operation. It returns information if the state of serial numbers has 

56

background image

changed and is not yet saved (in this case "pending" is returned) or if they have been saved and therefore do not 
get lost when power is turned off now ("saved" is returned in this case).

cssta

"

s

ave 

s

erial s

ta

te" - this command applies only when working in stand-alone mode with dynamic serial 

number data that change on every mark operation. When it is called, a command to save the current state of 
serial numbers is enqueued and will be processed as soon as controller is able to store these data. So when this 
command returns with "OK" that doesn't necessarily means the serial number states are saved now. The 
current save state still has to be checked by calling 

cgsta

 after 

cssta

 has been issued.

crrrr

"

r

eboot" – perform a warm reboot of the hardware and restart the firmware. Reboot is done 

immediately, means this command does not return anything but connection to the board will be interrupted as 
soon as it has been sent.

8.2.1 EPR specific commands

The following commands and their syntax applies to stand-alone modes with an EPR file loaded.

cstxt <"elementname"> <"text">

"

s

et 

t

e

xt

" – set a new text value to an element in currently loaded project. The parameters for this 

command both have to be given with quotes ("). Setting a text is possible only for dynamic elements like 
Datamatrix barcodes or texts. Here 

"elementname"

 is the name of the element that has to be modified (this is 

the same name like shown in element tree of BeamConstruct) and the new text to be set. The 

"text"

 itself can 

be a format string as used within BeamConstruct when a serial number input element is involved
Example: 

cstxt "Barcode 1" "Hello :-)"

 - sets a new text "Hello :-)" for the element with name 

"Barcode 1"

cgtxt <"elementname">

"

g

et 

t

e

xt

" – gets the currently used text value of an element in loaded project. The parameter for this 

command has to be given with quotes ("). Getting a text is possible only for dynamic elements like Datamatrix 
barcodes or texts.

Example: 

cgtxt "Barcode 1"

 – gets the text from the element with name "Barcode 1"

8.2.2 BEAMP specific commands

The following commands and their syntax applies to stand-alone modes with an BEAMP file loaded. These 
commands require a firmware version 3 or higher.

The following commands all are related to specific elements within a loaded .BEAMP project file. So to modify 
properties of these elements, they first have to be selected:

csele <elementname>

Sel

ect an 

e

lement by using the name it has within the BEAMP project file. Only when an element is 

selected, it can be modified by one of the element-specific commands as specified below.

Example: 

csele Text 3

 – selects the element out of the BEAMP project file that has the name “Text 3”. All 

further element-specific commands will be applied to this text element.

ctrnx <x>
ctrny <y>
ctrnz <z>

Tr

a

n

slate a selected element by the given amount of micrometers in 

x

/

y

/

z

 direction

57

background image

crotx <x>
croty <y>
crotz <z>

Rot

ate a selected element by the given amount of 1/1000 degrees around the 

x

/

y

/

z

 axis

csclx <x>
cscly <y>
csclz <z>

Sc

a

l

e a selected element by the given factor which comes with a resolution of 1/1000, so a value of 

1000 is equal to a factor of 1.0 which means no scaling

cslyx <x>
cslzx <y>
cslxy <z>
cslzy <z>
cslxz <z>
cslyz <z>

Sl

ant a selected element by the given factor of 1/1000’s along the 

yx

/

zx

/

xy

/

zy/xz/yz

 axis

cstxt <text>

"

s

et 

t

e

xt

" – set a new text value to the currently selected element. This function can be used only with 

elements that are able to accept texts, such as Text or Barcode primary elements

cgtxt

"

g

et 

t

e

xt

" – gets the currently used text value of the selected element. This command can retrieve a 

text only from element  types, which internally hold some text data, such as Text or Barcode primary elements

8.3 Hardware Commands

These commands can be used to access hardware signals directly. When these hardware outputs are set or 
unset while a marking operation is running, they may have no effect as they may be overridden immediately. 
Thus it is recommended to execute them only when the controller card is idle and no other operations are in 
progress. But also in this case, when a hardware output is set to a specific state, any operation (especially 
marking cycle) that is executed afterwards, may override that specific state-changes. Following hardware-
specific commands are supported:

cginp

"

g

et 

inp

ut" – get the current state of the digital inputs (in case a Digi I/O extension is available). The 

input state is returned as a decimal number representing the bitpattern at the inputs. So when e.g. a value "15" 
is returned, this means the lower four inputs are set to HIGH while the upper ones are at LOW level

csout <value>

"

s

et 

out

put" – set the state of the digital outputs (in case a Digi I/O extension is available). The output 

to be set is specified as a decimal number representing the bitpattern. When no parameter is given, the 
behaviour is undefined.
Example: 

csout 128

 – set DOut7 at the Digi I/O extension board to HIGH while all others stay at LOW

cslgt <value>

s

et 

L

aser

G

a

t

e” – set the state of the LaserGate output either to HIGH (value is set to 1) or to LOW (value is set 

to 0).

58

background image

cslmo <value>

s

et 

MO

” – set the state of the main oscillator output either to HIGH (value is set to 1) or to LOW (value is set to 

0).

cspil <value>

s

et 

pil

ot” – set the state of the dedicated pilot laser output either to HIGH (value is set to 1) or to LOW (value is 

set to 0).
This command requires firmware version 4 or newer.

cslp8 <value>

s

et 

LP8

” – set the state of the LP8 output port to the value given as parameter. Here value is allowed to be in 

range 0..255, the related bits of the LP8 output are set according to the bitpattern of the specified number.

8.4 Mark Control Commands

The following section describes commands that can be used to send marking data (including vector data and 
laser/scanner parameters) to the controller. These commands can be mixed with the commands described 
above but have a different structure:

they always start with a character "d"

the total length of one frame (means one command) is always 14 bytes

they mustn't be terminated with CR/LF, the end of a frame is determined by its size of 14 bytes

they contain binary, means not human-readable data and therefore can't be sent manually

Different to the programming interface (“10.1 E1702 Easy Interface Functions”) mentioned below, this 
possibility to send control and marking data is completely independent from any host operating system and 
from any additional software or libraries. It gives the possibility to send marking data to the card right via some 
binary data which can be sent via Ethernet connection (Telnet) or USB serial interface.

PLEASE NOTE: when using Network/Telnet connection and when switching from a Mark Control Command 
("d"-command) to a general command ("c"-command as described above) it is recommended to completely 
transmit all preceding output before sending a command of other type.

These commands always have the following structure:

dCAAAABBBBEEEE

d

 – marks starting point of a frame and identifies a mark control command with a fixed length of 14 bytes 

(including this character)

C

 – 8 bit value that specifies what command has to be executed

AAAA

 – 32 bit little-endian value, it's meaning and usage depends on "C"

BBBB

 – 32 bit little-endian value, it's meaning and usage depends on "C"

EEEE

 – 32 bit little-endian value, it's meaning and usage depends on "C"

It is recommended to collect commands before they are sent to the controller, especially in case Ethernet 
connection is used. In case of TCP/IP the used payload length of a TCP-frame is 1460 bytes which should be 
filled as much as possible in order to avoid additional data transfers. So when sending larger amounts of data to 
the controller, up to 104 command frames should be collected and then sent all together (104 * 14 = 1456 bytes 
which is close to 1460).

From time to time the controller sends back an answer to give back some state information. In case of 
Ethernet/Telnet connection this answer is not sent periodically but as response to a complete block of data sent 
to the card. Since the size of such a block is not specified and depends on the underlying TCP/IP implementation 
(in case of Ethernet connections), no predictions can be made after what amount of data a response frame is 
sent. Thus it is recommended to try to receive such a response frame every time some data have been 
transmitted until at least one frame was received. When host software is idle, it can try to read response frames 

59

background image

permanently. To trigger transmission of a new response frame, "ping" control command 

0x0A

 can be used (for 

details please refer below).
In case of USB/serial connection this response is sent automatically after every 14 byte frame submitted, so it is 
necessary to always read them in order to avoid overrun of receive buffers.
Such a response frame gives back information about the current operational state of the card and comes in 
following structure:

dRLLLLSSSSIIII

d

 – marks starting point of a response frame with a fixed length of 14 bytes (including this character), this 

character can be used to re-synchronise

R

 – 8 bit value, currently always 0xFF; this value has to be checked for future compatibility, in case it is not 0xFF 

the frame has to be ignored!

LLLL

 – 32 bit little-endian value, here the amount of free command buffer space is returned; sending 

application has to ensure this bufer never overruns, so it is recommended to always leave a space of at least 200 
commands (recommended: 1000), new commands should be sent only when there is more space than this left 
in this buffer

SSSS

 – 32 bit little-endian value, signalling operational state; this calue can consist of following or-

concatenated flags:

0x00000001

 – card is currently marking

0x00000002

 – the external start input is currently HIGH

0x00000004

 – the external stop input is currently HIGH

0x00000008

 – the external start input was set to HIGH after last response frame, this value is set 

only once for every rising edge on this input

0x00000010

 – the external stop input was set to HIGH after last response frame, this value is set 

only once for every rising edge on this input

0x00000080

 – the controller has received some data which may result in a marking operation; 

these data are currently processed but marking has not yet started

0x00000400

 – card is active but currently waiting for an external trigger to continue operation

0x00004000

 – card is active, writing some datat to the microSD card

IIII

 - 32 bit little-endian value, lower 8 bit show the actual state of digital inputs (in case Digi I/O Extension 

Board is a available), the upper 24 bits are reserved for future use.

Currently following mark control commands (identified by the 8 bit hexadecimal value for position "

C

" in a 

frame) can be sent to the controller:

Jump to Position

Move to a given coordinate position using the current jump speed and with laser turned off

C = 0x00
AAAA = x-position to move to in range 0..67108863
BBBB = y-position to move to in range 0..67108863
EEEE = z-position to move to in range 0..67108863

Mark to Position

Move to a given coordinate position using the current mark speed and with laser turned on

C = 0x01
AAAA = x-position to move to in range 0..67108863
BBBB = y-position to move to in range 0..67108863
EEEE = z-position to move to in range 0..67108863

Start output

This command has to be called at the end of every marking sequence to ensure marking output really 

starts. This is important in case only a few vectors are sent to ensure marking is started but it is recommended 
to always use this command.
C = 0x02

60

background image

AAAA = unused, set to 0
BBBB = unused, set to 0
EEEE = unused, set to 0

Wait for external trigger

Set a trigger point to current position of stream; emission of output data will stop until an external 

trigger signal is detected
C = 0x03
AAAA = unused, set to 0
BBBB = unused, set to 0
EEEE = unused, set to 0

Set speed values

Specify the speeds to be used during jump or mark movements (invoked by commands 0x00 and 0x01)

C = 0x04
AAAA = jumpspeed in unit bits per microsecond
BBBB = markspeed in unit bits per microsecond
EEEE = unused, set to 0

Set laser delays

Specify the delays to be used when laser is turned on or off

C = 0x05
AAAA = laser on delay in unit microseconds and in range -10000000..10000000
BBBB = laser off delay in unit microseconds and in range 0..10000000
EEEE = unused, set to 0

Set scanner delays

Specify the delays to be used before and after mark and within a polygon

C = 0x06
AAAA = jumpdelay in unit microseconds
BBBB = markdelay in unit microseconds
EEEE = in-polygondelay in unit microseconds

Stop marking

Tries to halt, continue or stop current output depending on the chosen option

C = 0x07
AAAA = stop option:

0 - tries to stop operation as fast as possible and rejects all data that still may be enqueued for 
execution
1 - marking is stopped next time the laser is off but no vector data are flushed, card is still active
2 - controller continues processing at the point where halt occured (requires a previously called 
command 0x07 with stop option 1)

BBBB = unused, set to 0
EEEE = unused, set to 0

Set wobble parameters

Specify the wobble settings to be used for next marking operations

C = 0x08

AAAA = wobble amplitude in X-direction using unit bits and with maximum range of 0..10000000 bits
BBBB = wobble amplitude in Y-direction using unit bits and with maximum range of 0..10000000 bits
EEEE = wobble frequency in unit Hz*100 and in range 1..2500000

Set LP8 outputs

61

background image

Set LP0..LP7 output pins

C = 0x09
AAAA - bitpattern to be set on LP0..LP7 output pins, here only lower 8 bits are used.
BBBB = unused, set to 0
EEEE = unused, set to 0

Ping

This command can be used to let the controller send back a state-information. So it can be used to 

check if the card is still operating or not.
ATTENTION: this command should not be sent repeatedly and without any delay! This could cause E1702S 
scanner controller to stall because the massive data transfer has to be handled. So it is recommended to have a 
delay of at least 150 msec between every ping.
C = 0x0A
AAAA - unused, set to 0
BBBB = unused, set to 0
EEEE = unused, set to 0

Set digital outputs

Set DOut0..DOut7 output pins on Digi I/O Extension Board

C = 0x0B
AAAA – bitpattern of the bits to be set on DOut0..DOut7 output pins, here only lower 8 bits are used.
BBBB – bitpattern of the bits to be cleared on DOut0..DOut7 output pins, here only lower 8 bits are used.
EEEE = unused, set to 0

Set lasermode

Specify the laser mode the card has to operate with

C = 0x0C
AAAA - flags specifying the laser mode, here following values have to be or-concatenated to specify the 
behaviour of a laser:

0x40000000

 - laser frequency on LaserA output is turned on immediately and together with laser gate 

signal, this flag can't be used together with 

0x20000000

 

0x20000000

 - laser frequency on LaserA output is turned on after FPK time, this flag can't be used 

together with 

0x40000000

 

0x10000000

 - laser supports FPK on LaserB output

0x08000000

 - laser frequency has to be turned off and switched to standby-frequency

0x04000000

 – a frequency can be emitted at LaserB permanently, the related frequency can be 

specified with command 0x15.

Using these flags following laser types can be configured:

CO2-laser:

0x40000000 + 0x08000000

YAG-laser with FPK:

0x40000000 + 0x08000000 + 0x10000000

 or

0x20000000 + 0x08000000 + 0x10000000

laser with continuously running frequency:  

0x40000000

BBBB = unused, set to 0
EEEE = unused, set to 0

Set marking on-the-fly parameters

Specify the parameters used for marking on-the-fly applications

C = 0x0D
AAAA = marking on-the-fly resolution in X-direction in unit bits per encoder increment
BBBB = marking on-the-fly resolution in Y-direction in unit bits per encoder increment
EEEE = unused, set to 0

62

background image

Set laser frequency

Specify the frequency the laser has to be operated with during marks, usage of these parameters 

depends on the lasermode specified with command 0x0C
C = 0x0E
AAAA = frequency in unit Hz and in range 25..20000000 Hz
BBBB = pulse-width in unit microseconds and in range 1..65530 usec
EEEE = unused, set to 0

Set laser standby frequency

Specify the frequency the laser has to be operated with during jumps, usage of these parameters 

depends on the lasermode specified with command 0x0C
C = 0x0F
AAAA = frequency in unit Hz and in range 25..20000000 Hz
BBBB = pulse-width in unit microseconds and in range 1..65530 usec
EEEE = unused, set to 0

Set first pulse killer

Specify the pulse width of the FPK signal when laser is turned on, usage of these parameters depends 

on the lasermode specified with command 0x0C
C = 0x11
AAAA = FPK pulse width in unit microseconds*100
BBBB = the time the laser frequency has to be started after beginning of FPK using unit microseconds*2, this 
value is used only when lasermode flag 0x20000000 is set
EEEE = unused, set to 0

Switch MO-output

Turns the MO-output on or off

C = 0x12
AAAA = turn MO output on when equal 1, turn it off when 0
BBBB = unused, set to 0
EEEE = unused, set to 0

Release external trigger

When card is waiting for an external trigger this command can be sent to release this external trigger 

by software and to continue execution without the need to receive a real external signal
C = 0x13
AAAA = unused, set to 0
BBBB = unused, set to 0
EEEE = unused, set to 0

Wait for external input signal

Stop execution until a defined input bitpattern is detected at configurable input pins DIn0..DIn7 of Digi 

I/O Extension Board
C = 0x14
AAAA = a bitpattern specifying which signals LOW or HIGH have to be detected at digital input pins
BBBB = a bitpattern specifying which of the digital input pins have to be watched for a signal, these bits that are 
set to 0 are ignored while these bits, that are set to 1 have to get the state specified in previous parameter in 
order to let operation of card continue
EEEE = unused, set to 0

Set LaserB frequency

Specify the frequency LaserB output has to emit; this function can only be used when operating using a 

laser mode with flag 

0x04000000

 set (see command 0x0C above). 

C = 0x15

63

background image

AAAA = frequency in unit Hz and in range 25..20000000 Hz
BBBB = pulse-width in unit microseconds and in range 1..65530 usec
EEEE = unused, set to 0

Wait until on-the-fly-increments have been elapsed

This command adds some special kind of delay to the application. It can be used only when marking on-

the-fly is enabled (by setting the on-the-fly factors), and halts laser marking not for a given time but for a given 
distance. Marking is continued only when the given number of increments has elapsed. When no or not enough 
increments are counted by the controller, operation only can be stopped.
C = 0x16
AAAA = positive or negative number of increments to wait for until operation continues; here it depends on the 
used counting direction of the encoder if the given distance-value has to be positive or negative, when sign of 
the number and counting direction of the encoder do not fit to each other, the controller will halt at this 
position for a very long time
BBBB = unused, set to 0
EEEE = unused, set to 0

Insert a delay into the stream of data

This command adds a delay and lets the controller wait for the given time of ticks until the next 

command is executed. One tick is equal to 0,5 usec.
C = 0x18
AAAA = number of ticks to wait for
BBBB = unused, set to 0
EEEE = unused, set to 0

Switch LP8-Latch-output

Turns the LP8-Latch-output on or off.

C = 0x19
AAAA = turn Latch output on when equal to 1, turn it off when 0
BBBB = unused, set to 0
EEEE = unused, set to 0

Specify output for MIP-signal

Specify a single output pin of Digi I/O Extension Board to be used for "Mark in progress"-signal, this 

output pin will be HIGH as long as a marking operation is in progress.
C = 0x2A
AAAA = the number (not a bitpattern!) of the digital output pin to be used for MIP-signal (in range 0..7)
BBBB = unused, set to 0
EEEE = unused, set to 0

Halt/continue current marking operation

Stops the current marking operation on very next appearance of a jump or continue a previously halted 

operation.
C = 0x2F
AAAA = 1 to halt marking and 0 to continue a halted operation
BBBB = unused, set to 0
EEEE = unused, set to 0

Specify output for WET-signal

Specify a single output pin of Digi I/O Extension Board to be used for "Wait External Trigger"-signal, 

this output pin will be HIGH as controller is waiting for an external trigger.
C = 0x33
AAAA = the number (not a bitpattern!) of the digital output pin to be used for WET-signal (in range 0..7)
BBBB = unused, set to 0

64

background image

EEEE = unused, set to 0

Set first row of 2x2 output matrix

Specify the elements m11 and m12 of a 2x2 output matrix which is applied to all coordinate values as 

soon as the second half is applied with command 0x41. This matrix can be used to scale, slant, rotate and mirror 
the input coordinates in respect to the output positions. For details please check out description of command 
0x41 below
C=0x40
AAAA = the m11 part of the 2x2 matrix multiplied with 1000000
BBBB = the m12 part of the 2x2 matrix multiplied with 1000000
EEEE = unused, set to 0

Set second row of 2x2 output matrix

Specify the elements m21 and m22 of a 2x2 output matrix which is applied to all coordinate values 

together with the first row of matrix data which has to be set using command 0x40 in a preceding call. This 
matrix can be used to scale, slant, rotate and mirror the input coordinates in respect to the output positions. 
Assumed a matrix bases on an 4-elements array, it has following structure:

{m11, m12, m21, m22}

then these matrix values can be used and even combined with each other by multiplying them:

rotation:

{cos(angle), -sin(angle), sin(angle), cos(angle)}

scaling:

{factorX, 0.0, 0.0, factorY}

slant X:

{1.0, 1.0/tan(angle), 0.0, 1.0}

slant Y:

{1.0, 0.0, 1.0/tan(angle), 1.0}

mirror X:

{-1.0, 0.0, 0.0, 1.0}

mirror Y:

{1.0, 0.0, 0.0, -1.0}

C=0x41
AAAA = the m21 part of the 2x2 matrix multiplied with 1000000
BBBB = the m22 part of the 2x2 matrix multiplied with 1000000
EEEE = unused, set to 0

Download new firmware

Download a new firmware file to the controller and write it to the microSD-card so that it can be used 

after next reboot. The binary data of the new firmware have to be appended directly to this command. This 
command has to be used in a specific sequence in order to ensure the current firmware file is updated correctly:

ensure the card is idle (state-flag 

SSSS

 is 0)

send command 0x45 with length of firmware data and checksum

send binary firmware data directly after this command

wait until card state returns “active” (by repeatedly sending ping-commands), now in state flag 

SSSS

 bit 

0x4000 (

E170X_CSTATE_WRITING_DATA

) is set

wait until card state returns “idle” again (by repeatedly sending ping-commands), the flag 0x4000 no 
longer should be set in state flag 

SSSS

check if an error occurred: when flags 0x8000 (

E170X_CSTATE_WRITING_DATA_ERROR

) is set in 

state flag 

SSSS

, downloading or writing or checksum calculation failed and the original file was not 

replaced; for debugging in such a case the command “cglog” can be called repeatedly until the related 
error text was found; when this error flag is set it can be reset only by using command 0x45 again

reboot the controller

check if the version of the firmware has changed

C = 0x45
AAAA = the length of the firmware file in bytes
BBBB = checksum for verification of the downloaded data, only when this checksum is correct, the old firmware 

file will be replaced; the checksum can be calculated using following function (C example code):

unsigned int crc32b(const char *buf,size_t len)

65

background image

{
   int          k;
   unsigned int crc=0xFFFFFFFF;

   while (len--)
   {
      crc^=*buf++;
      for (k=0; k<8; k++)
       crc=crc&1 ? (crc>>1) ^ 0x82f63b78 : crc>>1;
   }
   return ~crc;
}

EEEE = specifies the file which has to be overwritten by the current data download:

0 – overwrite file 0:/version.txt when downloading of data was successful

1 – overwrite file 0:/e1702.fwi when downloading of data was successful

2 – overwrite file 0:/e1702.dat when downloading of data was successful

3 – overwrite file 0:/e1702.cfg when downloading of data was successful

Set Position Offset

Set a positive or negative offset which then applies to all following position commands submitted via 

command 0x00 or 0x01.
C = 0x4A
AAAA = x-position offset in range -33554432..33554432
BBBB = y-position offset in range -33554432..33554432

EEEE = z-position offset in range -33554432..33554432

Reset the board

This function performs a warm reboot of the hardware and restarts the firmware. Reboot is done 

immediately, means this command does not return anything but connection to the board will be interrupted as 
soon as it has been sent.
C = 0xFF
AAAA = unused, set to 0
BBBB = unused, set to 0
EEEE = unused, set to 0

66

background image

9 Supported CNC G-Code Commands

Starting with firmware version 4 the E1702 supports G-codes sent to the controller via USB serial interface or 
Telnet. Such a data transfer has to be started with command “

cxcnc

” (for details please refer to description 

above).

Starting with firmware version 4 the controller can also be configured to be in G-Code reception mode 
permanently by adding a parameter “

cxcnc

” to the e1702.cfg configuration file.

When one of these direct control modes is active, a calling application can watch the execution state either via a 
digital output which is configured by using the configuration parameter 

wetout

, or via a specific G-Code 

control protocol that is described in section 9.5 Control Protocol below.

To allow fast and efficient processing of a CNC file within E1702, some points have to be noticed. So in order to 
improve loading performance it is recommended to:

not to have lots of leading or trailing spaces

not to make use of large comments

have exactly one space between code and related parameter

Beside of that it is mandatory to

have a space or CR/LF between two different codes (so e.g. “

G21 G90

” is valid but “

G21G90

” will result 

in an error)

have no space within a code or within a parameter of a code (so e.g. “

G0 X-0.5 Y.75 Z10

” is valid 

but “

G 0 X-0 .5 Y. 75 Z 10

” is not and will result in an error)

use a dot as separator in floating point variables (so e.g. “

T1 F6000.0

” is valid but “

T1 F6000,0

” is 

not and will result in an error)

Following the G-Code commands are described which are supported.

9.1 General G-Code Characters

Following codes and identifiers are supported by E1702 G-Code interpreter:

Code

Description

Example

%

Marks the begin of a G-Code file, this code is optional and does 
not have any effect

;

Begin of a comment, the remaining line is ignored;
in order to improve loading speed of a G-Code file comments 
and spaces at the end of a line should be removed

G21 ; set unit to mm

( )

Encapsulate a comment, all data within the brackets are 
ignored;
in order to improve loading speed of a G-Code file comments 
and spaces at the end of a line should be removed

G21 (set unit to mm) G90 
(use absolute 
positioning)

G

G-commands, please refer below for a description

G1 X25.75 Y31 Z0.25

M

M-commands, please refer below for a description

M3

T

T-commands, please refer below for a description

T1 F3000

9.2 Supported “G”-codes

Following “G” codes and identifiers are supported by E1702 G-Code interpreter:

67

background image

Code

Description

Example

G0

Jump to a specified position using predefined unit mm or inch 
and with maximal speed or – when set with command M704 – 
with the jump speed that was defined before. The position to 
jump to is specified by two or three parameters X, Y and Z. This 
movement is done with the laser turned off and by taking laser 
and scanner delays into account.

G0 X0 Y0 Z0

G1

Move to a specified position using predefined unit mm or inch 
and with a default or – when set with command M704 – with 
the mark speed that was defined before. The position to move 
to is specified by two or three parameters X, Y and Z. This 
movement is done with the laser turned on and by taking laser 
and scanner delays into account.

G1 X10 Y10.5 Z11.75

G2

A

dds a clockwise arc move with the laser turned on. An arc 

move starts at the current position and ends at the given XY 
coordinate, pivoting around a centre point offset given by the 
coordinates I and J or specified by the radius R. This command 
has two forms:

IJ-form

I and J specifiy an X and Y offset, at least one of them is 
always required

mixing I or J with R will result in an undefined 
behaviour

R-form

R specifies the radius, X and Y is mandatory

X or Y must be different from the current position

mixing I or J with R will result in an undefined 
behaviour

Requires firmware version 20 or newer

G2 X12.5 Y30 I10 J10

G2 X19 Y22.5 R 10

G3

Same as G2 but performs counter-clockwise movements, for 
details please refer above.

Requires firmware version 20 or newer

G3 X12.5 Y30 I10 J10

G3 X19 Y22.5 R 10

G4

When followed by a parameter „P“ execution is delayed by the 
given time (in unit seconds)

G4 P0.002

G17

Select the XY plane for marking operations. This means, given 
jump or movement coordinates in X and Y directions are 
applied to X and Y plane, optional Z coordinate is applied to 
remaining Z direction.

G17

G18

Select the ZX plane for marking operations. This means, given 
jump or movement coordinates in X and Y directions are 
applied to Z and X plane, optional Z coordinate is applied to 
remaining Y direction.

G18

G19

Select the YZ plane for marking operations. This means, given 
jump or movement coordinates in X and Y directions are 
applied to Y and Z plane, optional Z coordinate is applied to 
remaining X direction.

G19

G20

Set measurement unit to inch, means all positions handed over 
e.g. with G0 or G1 will be followed by coordinates in inch. In 
reality this has no effect for E1702 since calculation of marking 
positions is done based on the given working area which has to 
be defined with command M709

G20

68

background image

Code

Description

Example

G21

Set measurement unit to mm, means all positions handed over 
e.g. with G0 or G1 will be followed by coordinates in mm. In 
reality this has no effect for E1702 since calculation of marking 
positions is done based on the given working area which has to 
be defined with command M709

G21

G70

Set measurement unit to inch, means all positions handed over 
e.g. with G0 or G1 will be followed by coordinates in inch. In 
reality this has no effect for E1702 since calculation of marking 
positions is done based on the given working area which has to 
be defined with command M709

G70

G71

Set measurement unit to mm, means all positions handed over 
e.g. with G0 or G1 will be followed by coordinates in mm. In 
reality this has no effect for E1702 since calculation of marking 
positions is done based on the given working area which has to 
be defined with command M709

G71

G90

Enable absolute positioning, means all positions handed over 
e.g. with G0 or G1 will be followed by absolute coordinates 
according to the used coordinate system.

G90

G91

Enable relative positioning, means all positions handed over e.g. 
with G0 or G1 will be followed by coordinates that are relative 
to the previously used position in used coordinate system.

G90

9.3 Supported “M”-codes

Following “M” codes and identifiers are supported by E1702 G-Code interpreter, here all codes in range 
700..799 are specific to the E1702 and contain all laser-related parameters and values:

Code

Description

Example

M2

End of program. When this code is found, parsing of the CNC 
file is stopped and all following codes are ignored

M2

M3

Set laser on. This command does NOT turn on the laser but sets 
the internal state to „on“. This can be used to set e.g. the mark 
speed by a following command T1.

M3

M5

Set laser off. This command does NOT turn on or off the laser 
but sets its internal state to „off“. This can be used to set e.g. the 
jump speed by a following command T1.

M5

M700

Set the used laser type. This command is mandatory and has to 
be called prior to every laser-related command. As parameter it 
expects a decimal number which corresponds to the lasermode-
types 

E170X_LASERMODE_xxx

 as described in section „10.1 

E1702 Easy Interface Functions“

M700 1073741831

M701

Set the frequency for the laser in unit Hz. This command is a 
place holder and has no effect when used with E1702. Instead 
of that, the frequency has to be set lasertype-dependent via 
pulse length parameter of commands M715 (stand-by 
frequency) and M718 (mark or continuously running 
frequency)

M701 25000

69

background image

Code

Description

Example

M702

Set the laser power in unit 1/1000%. This command has to be 
used only in case of specific lasermodes. Resulting from the 
mode the effect is different:

E170X_LASERMODE_MOPA

 – used in case of an IPG-laser, the 

power-value is latched out at LP8 laserport

M702 75555

M703

Set laser-on-delay (at parameter A) and laser-off-delay (at 
parameter B) in unit usec.

M703 A100 B200

M704

Set jump-speed (at parameter A) and mark-speed (at parameter 
B) in unit mm/min.
By default, when no value has been specified, a jump speed of 
1000 mm/sec and a mark speed of 10 mm/sec is assumed.

M704 A8936.592 B3000.00

M705

Set jump-delay (at parameter A), mark-delay (at parameter B) 
and in-polygon-delay (at parameter C) in unit usec.

M705 A500 B200 C2500

M707

Set the working area left position (at parameter X), top position 
(at parameter Y) and depth position (at optional parameter Z) in 
unit specified with commands G70 or G71. Together with M709 
this command specifies the valid working field, all positioning 
parameters handed over with e.g. G0 and G1 need to be located 
within this area.

M707 X-50 Y50

M709

Set the working area width (at parameter X), height (at 
parameter Y) and depth (at optional parameter Z) in unit 
specified with commands G70 or G71. Together with M707 this 
command specifies the valid working field, all positioning 
parameters handed over with e.g. G0 and G1 need to be located 
within this area.
By default, when no value has been specified, a working area 
size of 100x100x100 mm is assumed.

M709 X-50 Y50

M710

IPG pulse length value in unit nsec. This command is for future 
use and currently does not have any effect.

M710 10000

M711

Set wobble distance in X-direction (at parameter X), Y-direction 
(at parameter Y) in unit specified by commands G70 or G71 and 
wobble frequency (at parameter C) in unit Hz. When all values 
are set to 0, wobble marking is disabled completely.

M711 X2.5 Y2.5 C10000

M713

Set first pulse killer value (FPK) for YAG laser types using unit 
usec

M713 10000

M715

Set standby-frequency (at parameter A) in unit Hz and standby-
pulsewidth (at parameter B) in unit nsec.

M715 A50000 B1000

M717

Set waveform number for SPI laser types latched out at LP8 
laser port.

M717 17

M718

Set laser frequency (at parameter A) in unit Hz and pulsewidth 
(at parameter B) in unit usec.

M718 A50000 B10

M719

Switch main oscillator on (1) or off (0). This command can be 
used together with SPI or IPG laser types prior to starting a 
mark operation to turn MO on or afterwards to turn it off. 
Required delays to turn on the MO are handled by E1702 
internally.

M719 1

M720

This command is valid for CNC-operations only, that are 
invoked by the command “

cxcnc

”.

It flushes the currently collected CNC data and starts the 
related marking operation (if not already active).

70

background image

Code

Description

Example

M721

This command can be used to set custom default values for 
scanner movements. By default, X and Y axes are assumed to be 
centred within their working range and Z is assumed to be at 
the very bottom. At the very beginning, all movements with G0 
or G1 commands will start at these positions causing a hard 
jump of the scanner when its default position is different. So 
using this command, an other default/starting position can be 
specified which fits to the default position of the scanner. This 
command has to be used after setting the working area scale 
value with M709, after setting the metric working area offset 
with M707 and prior the very first usage of G0/G1.
This command requires firmware version 4 or newer.

M721 Z2.5

9.4 Supported “T”-codes

Following “T” codes and identifiers are supported by E1702 G-Code interpreter:

Code

Description

Example

T1

Set jump or mark speed to be used with commands G0 and G1 
in unit mm/min. Here it depends on a previous M-command if 
this value specifies the mark-speed (M3) or the jump speed 
(M5).

T1 F6000.0

9.5 Control Protocol

While the G-Codes, its syntax and meaning are standardised, the communication protocol that is used to 
evaluate the current state of the CNC-like operation, is not defined. Here several different control standards 
and protocols exist that are not compatible to each other. So this controller makes use of a very common, slim 
and easy to interpret control protocol: the one which is known from the GRBL free software. Due to the 
different type of controller, there are some changes which are described here.

Following commands can be sent in between a stream of G-code data (different to GRBL they all have to be 
completed with a CR/LF in order to let the client software transmit the command to the controller properly):

?

 - check the current state of processing. Here a string is returned which makes use of following syntax:

<STATE|WPos:x,y,z|Pn:0x00000000>

Here state can be “Idle” (when no marking operation is in progress), “Trig” when a marking process is 
active but the controller waiting for an external trigger signal at the ExtStart-input, “Hold” when a 
marking process is active but the execution was held by the “!” control command or “Run” when a 
marking operation is in progress;

WPos is an optional value which returns the current/last position which was emitted to the scanhead 
at the X, Y and Z channels (using format 0.00);

Pn is an optional value which returns the state of the digital inputs at the digital interface(s); this format 

is slightly different to the GRBL variant, here a hexadecimal number is given which represents the input 
pattern while GRBL lets one single character appear for each known input

!

 - halt the current marking operation at the next suitable position, means the next time when the laser 

is turned off regularly; when this control command is used, the marking state changes from “Run” to 

71

background image

“Hold”

~

 - continue a marking operation which was held with the “!” control command

cstat

 – similar to the 

cstat

-command as described at “8.2 Stand-Alone Control Commands”, this 

command returns the current marking state as textual representation making use of the syntax of the 

cstat

-command as described above

72

background image

10 Programming Interfaces

The e170x.dll / libe170x.so shared library provides an own programming interface that gives the possibility to 
access and control the E1702 scanner controller card.

10.1 E1702 Easy Interface Functions

These functions belong to the native programming interface of E1702 scanner card and should be used 
preferential in order to get access to all features and full performance of the scanner card. Header files and 
additional data required for using this interface can be found online in our public GIT-repository at 

https://sourceforge.net/p/oapc/code/ci/master/tree/libe170x/

.

Functions of E1702 Easy Interface are either stream commands that are executed in the order they are called, 
or functions that are executed immediately.

The E1702 does NOT use the outdated concept of two or more lists that have to be completely managed and 
switched by the calling application. Here all stream commands simply are sent to the card without the need to 
provide some additional management information. Output of data is started only when 

E170X_execute()

 is 

called or when a card-internal threshold is exceeded. This card-internal triggered output of data can be held 
back only by calling function 

E170X_set_trigger_point()

 as very first so that marking starts only after an 

external trigger signal was detected by the card. In this case it is necessary to watch the buffer fill level of the 
card to avoid a buffer-overrun by calling function 

E170X_get_free_space()

.

E1702 Easy Interface uses unit “bits” as base for all units and parameters. Since E1702 card internally uses 26 
bits resolution for a better accuracy and to minimize round off errors, all calculation is done with these 26 bits. 
So the working area always has a size of 26 x 26 bits equal to 67108864 x 67108864. Independent from real 
resolution and output of hardware all calculations have to be done within this 26 bit range.

E1702 Easy Interface provides following general functions:

unsigned char E170X_set_connection(const char *address)

 

This function has to be called as very first. It is used to specify the IP address where the card is 

accessible at (in case of Ethernet connection) or the serial interface (in case of USB connection, “COMx” for 
Windows and “/dev/ttyACMx” for Linux where “x” is the number of its interface). By default IP 192.168.2.254 is 
used. This is the only function that has to be called in case of both, when compatibility functions and when 
E1702 Easy Interface functions are used.
It returns a board instance number that has to be used with all following functions.
Please note: this function does only set the connection information, it does not yet open the connectio nto the 
controller! This happens on first call to 

E170X_load_correction()

.

Parameters:

address

 – a char-array containing the IP in xxx.yyy.zzz.aaa notation or the name of the COM port to be used

Return: the board instance number or 0 in case of an error

void E170X_set_password(const char n,const char *ethPwd)

 

Sets a password that is used for Ethernet connection of E1702 card. The same password has to 

be configured on E1702 configuration file e1702.cfg with parameter "

passwd

" to add an additional level of 

security to an Ethernet controlled card.
PLEASE NOTE: usage of this password does NOT provide enough security to control the card via networks that 
are accessible by a larger audience, publicly or via Internet! Also when this password is set, the card always 
should operate in secured, separated networks only!
Every card and every connection should use an own, unique password that can consist of up to 48 characters 
containing numbers, lower- and uppercase letters and punctuation marks. Due to compatibility reasons no 

73

background image

language-specific special character should be used.
When connected via USB serial interface, this password is ignored. In this case no authentication is done.

Parameters:

ethPwd

 – the password to be used to authorise at an E1702 card. To reset a local password for connecting to a 

card that doesn't has a Ethernet password configured, hand over an empty string "" here

int E170X_load_correction(unsigned char n, const char* filename, unsigned char 
tableNum)

Loads a correction file to be used during vector data output. In case a previously loaded correction 

table has to be flushed and no other correction has to be used, parameter "

filename

" needs to be empty.

This function has to be called for first time on initialisation and before any vector data are sent to the board. It is 
mandatory to call this function at least once since it establishes connection to E1702 card. So when no 
correction file has to be used, this function still has to be called but with an empty filename “”.
This function supports different correction table file formats directly and without previous conversion:

BeamConstruct .bco high resolution files

Scanlab .ctb and .ct5 files

SCAPS .ucf files

Raylase .gcd files

Rofin .fcr files

CTI/GSI .xml files

Sunny .txt 5x5 point correction files

Han’s .crt files

This is not a stream-command, means its data may be applied immediately and independent from current 
stream state.

Parameters:

n

 – the 1-based board instance number as returned by 

E170X_set_connection()

filename

 – the full path to the correction file to be loaded from file system, when "" is specified here, a 

previously used correction file is flushed and no/neutral correction is used as long as no other correction table 
is given

tableNum

 – the 0-based correction table number these data have to be loaded for; it is possible to download 

up to 16 different correction tables and to switch between them during operation using function 

E170X_switch_correction()

Return: 

E170X_OK

 or an 

E170X_ERROR_

- return code in case of an error

void E170X_close(const unsigned char n)

 

Closes the connection to a card and releases all related resources. After this function was 

called, no more commands can be sent to the card until 

E170X_set_connection()

 and 

E170X_load_correction()

/

n_load_correction_file()

/

load_correction_file()/

ScSCIInitInterface() 

is called again.

Parameters:

n

 – the 1-based board instance number as returned by 

E170X_set_connection()

int E170X_switch_correction(unsigned char n, unsigned char tableNum)

 

Switches between up to 16 correction tables on the fly. When a table-number is given where 

no file was downloaded before using function 

E170X_load_correction()

, no correction is performed on all 

following vector data.
This is a stream-command, means the new correction is applied to vector data sent to the card after this 
command but NOT to already sent but not yet processed data. Thus on-the-fly switching between correction 
tables is possible.

74

background image

Parameters:

n

 – the 1-based board instance number as returned by 

E170X_set_connection()

tableNum

 – the 0-based table number of the correction that has to be used for all following vector data

Return: 

E170X_OK

 or an 

E170X_ERROR_

-return code in case of an error

int E170X_set_debug_logfile(const unsigned char n,const char *path,const 
unsigned char flags)

 

This function can be used during development to check an own application regarding called 

commands and their parameters. It lets libe1702 write all function calls into a logfile so that it is possible to 
evaluate the real order of commands.

Parameters:

n

 – the 1-based board instance number as returned by 

E170X_set_connection()

path

 – full path to the file which has to be used as debug log file

flags

 – a bunch of OR-concatenated flags which specify what function calls have to be written into or filtered 

from the log output; when 0x00 is specified here, the log file is kept quite small. When 0x01 is set, all motion-
related function calls are added too, when 0x02 is set, all calls which check the state of the card are added to 
the log file.

Return: 

E170X_OK

 or an 

E170X_ERROR_

-return code in case of an error

int E170X_set_xy_correction(const unsigned char n,const unsigned int flags,const 
double gainX, const double gainY,const double rot,const int offsetX,const int 
offsetY,const double slantX, const double slantY)

Sets size correction factor and offset for X and Y direction of working area as well as a rotation. With 

this command a matrix set with 

E170X_set_matrix()

 will be overwritten.

This is a stream-command, means its parameters are applied at a point in stream that is relative to the other 
stream commands and changed values apply only to these vector data and coordinates, which are sent after 
calling this function.

Parameters:

n

 – the 1-based board instance number as returned by 

E170X_set_connection()

flags

 – following flags can be set:

E170X_COMMAND_FLAG_XYCORR_MIRRORX

 – the output willbe mirrored in X-direction

E170X_COMMAND_FLAG_XYCORR_MIRRORY

 – the output will be mirrored in Y-direction

gainX

 – scale factor in x-direction, 1.0 means no scaling

gainY

 – scale factor in y-direction, 1.0 means no scaling

rot

 – rotation of whole working area in unit degrees

offsetX

 – offset in x-direction in unit bits, 0 means no offset

offsetY

 – offset in y-direction in unit bits, 0 means no offset

slantX

 – trapezoidal correction along X-axis in range -45..45°

slantY

 – trapezoidal correction along Y-axis in range -45..45°

Return: 

E170X_OK

 or an 

E170X_ERROR_

-return code in case of an error

int E170X_set_z_correction(const unsigned char n,const unsigned int h,const 
double xy_to_z_ratio,const int res1)

 

Set additional Z correction parameter. This function may be 

used in cases where third axis is used excessively and with a large Z working range, it has no effect when 
E1702S scanner card is used since it operates in 2D mode only. Otherwise, in real 3D modes, additional 
deviation occurs when no F-Theta lens is used caused by the fact that the beam is always sent from the centre 

75

background image

of the scanhead – which causes some kind of projection resulting in larger or smaller X and Y positions 
depending on the real Z height.
This is a stream-command, means its parameters are applied at a point in stream that is relative to the other 
stream commands and changed values apply only to these vector data and coordinates, which are sent after 
calling this function.

Parameters:

n

 – the 1-based board instance number as returned by 

E170X_set_connection()

h

 – the vertical height from last mirror of the scanhead to the working area (Z-position 0 of working area) in 

unit bits

xy_to_z_ratio

 – factor specifying the ratio between maximal horizontal working area size and maximal 

vertical movement size. As an example: when the working area has a size of 100 x 100 mm and the Z-axis has a 
maximum movement range of -20 mm .. 20 mm, the ratio to be set is 2,5 (100 mm horizontal divided by 40 mm 
vertical)

res1

 – reserved for future use, set to 0

For more details please refer to the image below:

Here “h” is the height from the position where the beam hits the last mirror to the position of the working area 
at z=0 position (in unit bits). “xy” is the width of the working area to be used together with the “z” range from 
“z=min” to “z=max” to calculate the 

xy_to_z_ratio

. All working area parameters like its width “xy” and the 

“z”-range are expected to be the theoretical maximum of the full range, not the – possibly smaller – range used 
in a specific setup.

Return: 

E170X_OK

 or an 

E170X_ERROR_

-return code in case of an error

int E170X_set_speeds(unsigned char n, double jumpspeed,double markspeed)

Set scanner speed values to be used for all following vector data and until not replaced by other speed 

values.
This is a stream-command, means its parameters are applied at a point in stream that is relative to the other 
stream commands and changed values apply only to these vector data and coordinates, which are sent after 
calling this function.

Parameters:

n

 – the 1-based board instance number as returned by 

E170X_set_connection()

jumpspeed

 – scanner movement speed during jumps (movements when laser is off) in unit bits/msec and 

range 1..4294960000

76

background image

markspeed

 – scanner speed during mark (movements when laser is on) in unit bits/msec and range 

1..4294960000

Return: 

E170X_OK

 or an 

E170X_ERROR_

-return code in case of an error

int E170X_set_overspeed(const unsigned char n,const unsigned int flags,const 
double scannerLag,const double jumpFactor,const double reserved);

 

Turns on the overspeed function of the controller card which tries to move the scanhead with a 

multiple of its nominal speed without damaging the marking result by massive distortions. This function call can 
be used to enable and configure or to disable the overspeed-feature. Depending on the type of marking data 
this function can save nameable amounts of marking time. It can be used with any kind of scanhead which meet 
the following requirements:

hardware is a galvo-driven scanhead

is does not contain an internal speed limit that suppresses all speeds beyond an artificial limit

From technical point of view as soon as the overspeed function is enabled, all vector data are analysed by the 
controller card. When vectors are found which are suitable to be driven with overspeed, specific acceleration 
and deceleration ramps are done with these vectors to ensure the marking result itself is not distorted. Next 
these vectors are driven with a multiple of its normal speed. Vectors which are not suitable to be used with the 
overspeed function are left untouched, there neither any speed ramping is done nor is the nominal speed 
changed.

Parameters:

n

 – the 1-based board instance number as returned by 

E170X_set_connection()

flags

 – a set of operational flags that specify how the function has to be used, currently only 

E170X_COMMAND_FLAG_STREAM

 is allowed

scannerLag

 – the lag (“tracking error”) of the scanner in unit msec; this value is predefined by the hardware of 

the scanhead and should be available from its technical data; when this value is equal or less than 0.0, the 
overspeed-function is turned off

jumpFactor

 – the factor the nominal jump speed (as set via function 

E170X_set_speeds()

) is allowed to 

be exceeded during overspeed-drives; when this value is equal or less than 1.0, the overspeed-function is 
turned off

reserved

 – reserved for future use, has to be set to 0

Return: 

E170X_OK

 or an 

E170X_ERROR_

-return code in case of an error

int E170X_set_laser_delays(const unsigned char n,double ondelay,double offdelay)

Set laser delay values to be used for all following vector data and until not replaced by other delay 

values.
This is a stream-command, means its parameters are applied at a point in stream that is relative to the other 
stream commands and changed values apply only to these vector data and coordinates, which are sent after 
calling this function.

Parameters:

n

 – the 1-based board instance number as returned by 

E170X_set_connection()

ondelay

 – laser on delay in unit microseconds, can be a negative or a positive value

offdelay

 – laser off delay in unit microseconds, must be a positive value

77

background image

Return: 

E170X_OK

 or an 

E170X_ERROR_

-return code in case of an error

int E170X_set_scanner_delays(const unsigned char n,const unsigned int 
flags,const double jumpdelay,const double markdelay,const double polydelay)

Set scanner delays in unit microseconds. Smallest possible value and resolution is 0.5 microseconds.

This is a stream-command, means its parameters are applied at a point in stream that is relative to the other 
stream commands. So values set here apply only to these vector data that are sent after this command.

Parameters:

n

 – the 1-based board instance number as returned by 

E170X_set_connection()

flags

 – here some flags can be set which add some further functional specifications and features to this 

function. At the moment following flags are supported and can be OR-concatenated with each other:

E170X_COMMAND_FLAG_SCANNER_VAR_POLYDELAY

 – when this flag is set, the value set via 

polydelay

 is not applied statically to every point within a polygon, but it is set dynamically depending 

on the angle between two lines; no angle (a straight line) results in no delay while a 180 degree angle  
results in a full delay as set by value 

polydelay

jumpdelay

 – the jump delay value in unit microseconds

markdelay

 – the mark delay value in unit microseconds

polydelay

 – the in-polygon delay value in unit microseconds

Return: 

E170X_OK

 or an 

E170X_ERROR_

-return code in case of an error

int E170X_set_laser_mode(unsigned char n, unsigned int mode)

Sets the laser mode to be used for all following operations, this value influences the signals emitted at 

the connectors of the card. This function has to be called prior to setting any other laser parameters (like 
frequency, standby-frequency, power).
This is a stream-command, means its parameters are applied at a point in stream that is relative to the other 
stream commands.

Parameters:

n

 – the 1-based board instance number as returned by 

E170X_set_connection()

mode

 - the laser mode, here one of the following values is possible:

E170X_LASERMODE_CO2

 – for controlling CO2 lasers, this mode supports stand-by frequency at 

LaserA output (to be set with function 

E170X_set_standby()

) and PWM-modulated frequencies 

during marking and for power control (to be set with function 

E170X_set_laser_timing()

)

E170X_LASERMODE_YAG1

 – for controlling YAG lasers, this mode supports stand-by and Q-Switch 

frequency at LaserA output (to be set with function 

E170X_set_standby()

) and a first pulse killer 

signal at output LaserB that is issued on beginning of a mark together with the Q-Switch frequency (to 
be set with function 

E170X_set_fpk()

):

78

background image

Here Q-Switch signal is started together with laser gate and FPK pulse. At end of mark when laser gate 
is turned off stand-by frequency is emitted at LaserA.

E170X_LASERMODE_YAG2

 - for controlling YAG lasers, this mode supports stand-by and Q-Switch 

frequency at LaserA output (to be set with function 

E170X_set_standby()

) and a first pulse killer 

signal at output LaserB that is issued on beginning followed by Q-Switch frequency that starts when 
FPK pulse has finished:

Here FPK and laser gate are started together. Q-Switch signal is started at end of FPK pulse. At end of 
mark when laser gate is turned off, stand-by frequency and pulse-width is emitted at LaserA instead of 
Q-Switch frequency.

E170X_LASERMODE_YAG3

 – for controlling YAG lasers, this mode supports stand-by and Q-Switch 

frequency at LaserA output (to be set with function 

E170X_set_standby()

) and a first pulse killer 

signal at output LaserB that is issued on beginning followed by Q-Switch frequency that starts after a 
freely configurable time period “yag3QTime”:

Here FPK and laser gate are started together. Q-Switch signal is started after yag3QTime has elapsed 
according to the beginning of FPK pulse. This time value can be set using function 

E170X_set_fpk()

.

 

At end of mark when laser gate is turned off, stand-by frequency and pulse-width is emitted at LaserA 
instead of Q-Switch frequency.

E170X_LASERMODE_CRF

 – for controlling lasers that require a continuously running frequency (like 

fiber-lasers), this frequency is emitted at LaserA output and can be set and changed by calling function 

E170X_set_standby()

.

E170X_LASERMODE_DFREQ

 – for controlling special lasers that require two frequencies, the second, 

continuously running frequency is emitted at LaserB output and can be set with function 

E170X_set_laserb()

79

background image

E170X_LASERMODE_MOPA

 – for fiber lasers which are driven by a main oscillator and power amplifier 

and that are power-controlled via LP8 digital port and latch bit

Return: 

E170X_OK

 or an 

E170X_ERROR_

-return code in case of an error

int E170X_set_laser(const unsigned char n,const unsigned int flags,const char 
on)

 

This function switches the laser on or off independent from any mark or jump commands and 

independent fro many other, vector-data related timing.

Parameters:

n

 – the 1-based board instance number as returned by 

E170X_set_connection()

flags

 – handling flags specifying the behaviour of this command, 

E170X_COMMAND_FLAG_STREAM

 to use it 

as stream command, 

E170X_COMMAND_FLAG_DIRECT

 to execute it immediately and independent on current 

stream and execution state; in case 

E170X_COMMAND_FLAG_STREAM

 is used, please ensure this function call is 

followed by other stream commands, elsewhere the laser is turned off for security reasons as soon as no more 
data are available to process in order to not to let the laser fire while the card is waiting

on

 – set to 1 to turn the laser on or to 0 to turn it off

Return: 

E170X_OK

 or an 

E170X_ERROR_

-return code in case of an error

int E170X_set_wobble(const unsigned char n,unsigned int x,unsigned int y,double 
freq)

 

This function gives the possibility to not to let the laser beam follow the given path directly but 

to rotate around the specified path and lasers current position. Depending on chosen wobble-parameters and 
marking speed, this results either in a thick or a sinusoidal line. This call sets wobble parameters to be used for 
all following vector data and until not replaced by other wobble values or by 0 which disables wobble mode.
This is a stream-command, means its parameters are applied at a point in stream that is relative to the other 
stream commands.

Parameters:

n

 – the 1-based board instance number as returned by 

E170X_set_connection()

x

 – wobble amplitude in x direction in units bits and range 1..10000000

y

 – wobble amplitude in y direction in units bits and range 1..10000000

freq – wobble frequency in Hz in range 1..25000

Return: 

E170X_OK

 or an 

E170X_ERROR_

-return code in case of an error

int E170X_jump_abs(const unsigned char n,int x,int y,int z)

 

Perform a jump (movement with laser turned off) to the given position. This causes a galvo 

movement from current position to the one specified by this functions parameters using the jump speed and 
taking the jump delay into account:

80

background image

When laser was turned on before this function is called, laser is turned off at the beginning with a delay 
specified by laser off delay (please refer to description of 

E170X_mark_abs()

 for a diagram showing laser off 

delay too).
This is a stream-command, means it is executed at a point in stream that is relative to the other stream 
commands.

Parameters:

n

 – the 1-based board instance number as returned by 

E170X_set_connection()

x

 – the x-coordinate in unit bits the scanner has to jump to

y

 – the y-coordinate in unit bits the scanner has to jump to

z

 – the z-coordinate in unit bits the scanner has to jump to (not available with E1702S, requires a scanner-

hardware that is equipped with Z- channel)

Return: 

E170X_OK

 or an 

E170X_ERROR_

-return code in case of an error

int E170X_mark_abs(const unsigned char n,int x,int y,int z)

 

Perform a mark (movement with laser turned on) to the given position. This causes a galvo 

movement from current position to the one specified by this functions parameters using the mark speed and 
taking the mark delay into account. When laser was turned off before this function is called, laser is turned on at 
the beginning with a delay specified by laser on delay:

This is a stream-command, means it is executed at a point in stream that is relative to the other stream 
commands.

81

background image

Parameters:

n

 – the 1-based board instance number as returned by 

E170X_set_connection()

x

 – the x-coordinate in unit bits the scanner has to move to

y

 – the y-coordinate in unit bits the scanner has to move to

z

 – the z-coordinate in unit bits the scanner has to move to (not available with E1702S, requires a scanner-

hardware that is equipped with Z- channel)

Return: 

E170X_OK

 or an 

E170X_ERROR_

-return code in case of an error

int E170X_get_pos(const unsigned char n,int *x,int *y,int *z)

 

This function returns the last position of the scanner:

when an XY3-100 scanhead is connected, that provides its actual position, these values are returned

when no such scanhead is connected, the last nominal position sent to the head are returned

The function needs the controller to be in idle-mode, means no marking operation is allowed to run in order to 
get the position information.
Please note: when a correction file is set, and/or a matrix is set and/or an offset is set and/or any other function 
is used which modifies the position data, the coordinates returned here are 

not

 the values which have been sent 

with the last call to 

E170X_jump_abs()

 or 

E170X_mark_abs()

 or 

E170X_set_pos()

 as they have been 

processed and modified by these correction functions. So while the jump/mark functions set position data 
according to the desired coordinate system, the values returned by 

E170X_get_abs()

 are the real-world 

coordinates at the hardware.

Return: 

E170X_OK

 or an 

E170X_ERROR_

-return code in case of an error

int E170X_set_pos(const unsigned char n,int x,int y,int z,unsigned char laserOn)

 

Perform a raw, immediate movement to the given position.

HANDLE WITH CARE! This function causes galvo movement to the given position immediately, without 
respect to any mark or jump speed values, without micro-vectorisation or intermediate steps! This means it can 
result in a very heavy movement for the galvos and in worst case it may cause some damage! Since the resulting 
movement speed may be way too high for the used galvos, they may overshoot and need some time until the 
desired position is reached. So this function is mainly intended to be used for very small position changes in 
respect to the galvos current position.
This is a stream-command, means it is executed at a point in stream that is relative to the other stream 
commands.

Parameters:

n

 – the 1-based board instance number as returned by 

E170X_set_connection()

x

 – the x-coordinate in unit bits the scanner has to jump to

y

 – the y-coordinate in unit bits the scanner has to jump to

z

 – the z-coordinate in unit bits the scanner has to jump to (not available with E1702S, requires a scanner-

hardware that is equipped with Z- channel)

laserOn

 – specifies if the movement has to be done with laser turned on (1) or off (0)

Return: 

E170X_OK

 or an 

E170X_ERROR_

-return code in case of an error

int E170X_set_pixelmode(const unsigned char n,const unsigned int mode,const 
double powerThres,const unsigned int res)

 

Set the operational mode for 

E170X_mark_pixelline()

. This function influences the 

behaviour when marking a pixel line. This is a stream-command, means its parameters are applied at a point in 
stream that is relative to the other stream commands.

Parameters:

n

 – the 1-based board instance number as returned by 

E170X_set_connection()

82

background image

mode

 – pixel marking mode, this parameter can be set to:

0 – default mode, while marking a pixel line the controller tries to perform jumps when power 
is below of the given threshold 

powerThres

 to save marking time

E170X_PIXELMODE_NO_JUMPS

 – no jumps are performed, the given power threshold is 

ignored and the full pixel line is done with marking speed; this mode is slower but can result in 
more accurate and more exact images

E170X_PIXELMODE_JUMP_N_SHOOT

 – marking of the line is no longer done with a 

continuous movement but with a sequence “jump to position   shoot   jump to next position 

 shoot   jump to next position   shoot...”; here the shoot-time is equal to the laser-off-delay 

minus laser-on-delay as set with function 

E170X_set_laser_delays()

E170X_PIXELMODE_HW_POWER_CONTROL

 – when this flag is set, the controller card takes 

care about setting the power for the pixels. This works only when a lasermode is chosen where 
the scanner card supports native power control. When this flag is set, a power-callback, 
handed over together with a call to 

E170X_mark_pixelline()

 is ignored.

E170X_PIXELMODE_GATE_POWER_CONTROL

 – this is a special bitmap marking mode where 

no real power control is supported. When this flag is set, the LaserGate output is toggled 
depending on the required output power. Since this output supports only states LOW and 
HIGH, this bitmap marking mode results in black and white images only

E170X_PIXELMODE_JUMP_LEAVE_POWER

 – during bitmap marking, when no flag 

E170X_PIXELMODE_NO_JUMPS

 is set, below of a specific power threshold a jump is 

performed. By default, prior to such a jump, the laser power is set to 0 to handle faultily lasers 
that have spurious emissions even when LaserGate is at LOW. For laser types, which do not 
suffer from such emissions, this flag can be set. It leaves the last power value active also during 
jumps, which saves some marking time. So this flag can be used for speed-optimising bitmap-
marking.

powerThres

 – this value is used only in default mode, when the marking power for some pixels is below of the 

given value (in unit percent), a jump is performed to save marking time, during this jump the laser is off and no 
marking is done

res

 – reserved, set always to 0

Return: 

E170X_OK

 or an 

E170X_ERROR_

-return code in case of an error

int E170X_mark_pixelline(const unsigned char n,int x,int y,int z,int 
pixWidth,int pixHeight,int pixDepth,unsigned int pixNum,double 
*pixels,E170X_power_callback power_callback,void *userData)

 

This function can be used to mark a single line of a bitmap image. Here horizontal, vertical and 

even 3D bitmap lines (going into depth) can be marked. Direction and orientation of the line to be marked can 
be chosen freely. A full image can be created by concatenating several lines. Power control during marking of 
such a bitmap line is not limited to some specific power outputs, it can be fully customised via a callback 
function.

Parameters:

n

 – the 1-based board instance number as returned by E170X_set_connection()

x, y, z

 – the starting coordinates of the line in unit bits, an output on Z-axis is not available when E1702S is 

used

pixWidth

 – the width of a single pixel (in unit bits), when this is set to a value greater or smaller than 0 while all 

the others are equal 0, a horizontal line is drawn; the sign of the value specifies the marking direction

pixHeight

 – the height of a single pixel (in unit bits), when this is set to a value greater or smaller than 0 while 

all the others are equal 0, a vertical line is drawn; the sign of the value specifies the marking direction

pixDepth

 – the depth of a single pixel (in unit bits, requires a 3D-capable scanhead, not available when 

E1702S is used), when this is set to a value greater or smaller than 0 while all the others are equal 0, line goes 
into depth; the sign of the value specifies the marking direction

pixNum

 – the number of pixel data contained in the array of intensity values handed over with the following 

parameter

pixels

 – an array of double-values with a length equal the number of pixels specified with 

pixNum

 and with 

an allowed range of 0.0..100.0 specifying the intensity; every entry of this array is equal to one pixel of the 

83

background image

bitmap, so a greyscale-pixelline with brightness values in range 0..255 has to be converted to values in range 
0.0..100.0

power_callback

 – this is a callback function of type 

int (*E170X_power_callback)(unsigned char n, double power, void *userData)

which is used to set the power for every pixel. There these 

E170X_

-functions have to be called that belong to 

the used laser type and set the power values according to it's hardware capabilities. Within the power callback 
function only stream commands are allowed to be called. It is not possible to use external devices that are not 
synchronous to E1702 command stream. The power callback has to return with 

E170X_OK

 when setting of 

power was successful. In case of an error the appropriate error code has to be returned, the pixel marking 
function will be cancelled in such a case too and does not finish marking of the line. Parameter 

n

 is the 1-based 

board instance number specifying the board the power has to be changed for, power is the power to be set in 
unit percent and 

userData

 are some free to use, custom data that can be handed over on call to 

E170X_mark_pixelline()

.

userData

 - here some custom data can be handed over which are forwarded on and handed over at every call 

of the power-callback

Return: 

E170X_OK

 or an 

E170X_ERROR_

-return code in case of an error

int E170X_set_matrix(const unsigned char n,const unsigned int flags,const double 
m11,const double m12,const double m21,const double m22)

 

Specify a 2x2 matrix that contains scaling and rotation corrections for the output. When a 

given matrix element parameter has a value smaller or equal -10000000 it is ignored and the previous/default 
value is kept at this position in matrix. With this command any correction set with 

E170X_set_xy_correction2()

 will be overwritten.

This is a stream-command, means its parameters are applied at a point in stream that is relative to the other 
stream commands.

Parameters:

n

 – the 1-based board instance number as returned by 

E170X_set_connection()

flags

 – reserved for future use, set to 0 for compatibility

m11

 – first matrix element in first row

m12

 – second matrix element in first row

m21

 – first matrix element in second row

m22

 – second matrix element in second row

Return: 

E170X_OK

 or an 

E170X_ERROR_

-return code in case of an error

int E170X_set_trigger_point(const unsigned char n)

Specifies a point in data stream where execution has to stop until an external trigger signal (mark start) 

or a manual release of this trigger point is detected. This expects a rising edge on ExtStart input or calling of 
function 

E170X_release_trigger_point()

.

This is a stream-command, means it is executed at a point in stream that is relative to the other stream 
commands.

Parameters:

n

 – the 1-based board instance number as returned by 

E170X_set_connection()

Return: 

E170X_OK

 or an 

E170X_ERROR_

-return code in case of an error

int E170X_release_trigger_point(const unsigned char n)

84

background image

 

This function should be called only when a call to 

E170X_set_trigger_point()

 was done 

before. It acts like an external trigger signal, releases the waiting condition and lets the controller start 
processing. So this function provides some kind of software-simulated external start-signal.
ATTENTION: this command will not arrive at the controller when there is no more space left on it, means when 
all controller-internal buffers are filled. So after a call to 

E170X_set_trigger_point()

 and during sending 

of commands and data to the controller, application has to ensure there is some space left in controller's 
buffers. This can be done by calling 

E170X_get_free_space()

 with flag 

E170X_FREE_SPACE_PRIMARY

 

for checking the available space in primary buffer. It is recommended to leave space for at least 10000 elements 
in primary buffer in order to let a call to 

E170X_release_trigger_point()

 work properly.

When the buffers already have been filled completely, this function will no longer work and marking can be 
started only by applying the ExtStart hardware signal.
This is not a stream-command, it is applied to controller immediately.

Parameters:

n

 – the 1-based board instance number as returned by 

E170X_set_connection()

Return: 

E170X_OK

 or an 

E170X_ERROR_

-return code in case of an error

int E170X_set_sync(const unsigned char n,const unsigned int flags,const unsigned 
int value)

 

This function sends a synchronisation 

value

 to the controller. As soon as marking reaches the 

related position in stream, the value returned by function 

E170X_get_sync()

 changes to the value given 

here.
This command delays execution of the data by 0,5 usec, so it should not be used excessively. A value of 
0xFFFFFFFF disables this function.

Parameters:

n

 – the 1-based board instance number as returned by 

E170X_set_connection()

flags

 – currently unused, set to 0 for future compatibility

value

 – the value to be used as sync-identifier, here on every call a different value should be handed over in 

order to differentiate what is returned by 

E170X_get_sync()

.

Return: 

E170X_OK

 or an 

E170X_ERROR_

-return code in case of an error

unsigned int E170X_get_sync(const unsigned char n)

 

Returns a sync-identifier as set by 

E170X_set_sync()

 as soon as the related position in 

stream was reached.

Parameters:

n

 – the 1-based board instance number as returned by 

E170X_set_connection()

Return: the last sync-identifier which was identified and processed in stream of commands or 0xFFFFFFFF 
when function is not used/turned off

int E170X_execute(const unsigned char n,const unsigned int flags)

 

Starts execution of all previously sent commands in case card is not already outputting these 

data. This function should be called typically once as soon as all vector data have been sent to the controller. It 
should be called in every sequence of commands, even when the controller is already marking to terminate the 
sequence of vectors which have been submitted. This call does not necessarily start the marking operation as 
the controller is free to decide to do this at an earlier point in time but it ensures a proper transmission of all 
data from control-PC to the controller. To exactly define when marking has to start, function 

E170X_set_trigger_point()

 should be used.

85

background image

When parameter 

flags

 is set to 0, the function works asynchronously, means after flushing the marking data it 

returns immediately. In this case, the calling application has to check for the marking states “marking” and “idle” 
to find out if marking is completed (by using function 

E170X_get_card_state()

).

When parameter 

flags

 is set to 

E170X_COMMAND_FLAG_SYNC

, the function blocks, until marking has 

completed or has been stopped. In this case no further calls to 

E170X_get_card_state()

 are necessary, as 

the card state can be assumed to be “idle” when the function returns.
In general and independent from this function, marking is finished only when STOP (ExtStop signal input or 

E170X_stop_execution()

) is invoked or when the internal buffer is empty. When internal buffer runs 

empty because subsequent data are not sent fast enough, an additional call to 

E170X_execute()

 is necessary 

in order to output the remaining data.
This is not a stream command since it controls the already sent stream of commands.

Parameters:

n

 – the 1-based board instance number as returned by 

E170X_set_connection()

Return: 

E170X_OK

 or an 

E170X_ERROR_

-return code in case of an error

int E170X_stop_execution(const unsigned char n)

 

Stops the currently running execution as fast as possible and drops all marking data that still 

may be queued. Calling this function also would drop all laser and scanner parameters that are already sent but 
not yet processed. Thus after calling this function it may be necessary to set scanner and laser parameters again 
in order to ensure they are used for following operations.
This is not a stream command since it controls the current stream of commands.

PLEASE NOTE:

 this function should not be called on the off-chance “to be sure nothing is running”. The 

command works asynchronously and causes a state-change which can have some unwanted side-effects when 
it is used without a specific reason. So calling the function should be done only when the controller is really in 
state marking/running, and after calling it, no other functions have to be used until the state 
(

E170X_get_card_state()

) has changed back to idle. As the stop is done as fast as possible, the point, at 

what the stream is stopped, is undefined. Means any function that has been called between the last call to 

E170X_execute()

 and 

E170X_stop_execution()

 may not have an effect and probably needs to be 

repeated.

Parameters:

n

 – the 1-based board instance number as returned by 

E170X_set_connection()

Return: 

E170X_OK

 or an 

E170X_ERROR_

-return code in case of an error

int E170X_halt_execution(const unsigned char n,const unsigned char halt)

 

Halts or continues the processing and output of marking data. On 

halt=1

 marking is stopped 

next time the laser is off. Different to a full stop no vector data are flushed. On continue (

halt=0

) controller 

continues processing at the point where halt occurred. When marking is stopped with 

E170X_stop_execution()

 the halt-condition is cleared too, means on next transmission of new marking 

data they are processed without the need to explicitly continue last operation.

Parameters:

n

 – the 1-based board instance number as returned by 

E170X_set_connection()

halt

 – 1 to halt operation next time the laser is off, 0 to continue a previously halted operation

Return: 

E170X_OK

 or an 

E170X_ERROR_

-return code in case of an error

unsigned int E170X_get_startstop_state(const unsigned char n)

 

This function returns a bit pattern that informs about state of the start and stop input pins.

86

background image

This is not a stream command since it returns the current state immediately. Here “current state” means the last 
known state. When the state changes during this call, it may be possible the previous, no longer actual state is 
given back since transmission of data from controller to host is done asynchronously and independent from a 
call to this function.

Parameters:

n

 – the 1-based board instance number as returned by 

E170X_set_connection()

Return: a bit pattern specifying the current state:

bit 0 and 1 (0x00000003) specify if the start input was set after last call of this function, when these 

bits are set, a rising edge has been detected at this input; calling this function resets the internal state 
of these bits, means when it is called again and when no new rising edge has been detected meanwhile, 
these bits will be 0

bit 2 and 3 (0x0000000C) specify if the stop input was set after last call of this function, when they are 
set, a rising edge has been detected at this input; calling this function resets the internal state of these 
bits, means when it is called again and when no new rising edge has been detected at top input 
meanwhile, these bits will be low

bit 12 (0x00001000) this bit signals the start input is low, as long as this bit is set no start input signal is 
detected

int E170X_get_card_state(const unsigned char n,unsigned int *value)

This function returns a bit pattern that informs about cards current operational state. Here “current 

state” means the last known state. When the state changes during this call, it may be possible the previous, no 

longer actual state is given back since transmission of data from controller to host is done asynchronously and 
independent from a call to this function.
The card-states are enqueued internally in order to not to lose a “busy”-state which may be available for a very 
short time only in case of very small and fast marking cycles. So every state change caused by the calling 
application results in on state change returned by this function. This means for every marking cycle the 
application has to wait for two state changes: first wait until this function signals “busy” 
(

E170X_CSTATE_PROCESSING

|

E170X_CSTATE_MARKING

) next wait until this function signals “ready” (0).

During transfer of vector data and scanner/laser parameters this function should be called as rarely as possible: 
every call of 

E170X_get_card_state()

 performs a full cycle of transmission and receiving of data to and 

from the controller. Dependent on the current transmission state this may result in submission of a small block 
of data which does not uses the full available bandwidth. On excessive use of this function this can slow down 
the whole transfer of data.
This is not a stream command since it returns the current state immediately.

Parameters:

n

 – the 1-based board instance number as returned by 

E170X_set_connection()

state

 – pointer to a variable where the card state has to be written to: a bit pattern of or-concatenated 

constants specifying the current state:

E170X_CSTATE_MARKING

 – card is currently marking

E170X_CSTATE_PROCESSING

 – card has received some data that are enqueued for marking

E170X_CSTATE_WAS_START_PRESSED

 – the ExtStart input was triggered, this flag is cleared after it 

has bean read and is set again only when ExtStart was triggered again

E170X_CSTATE_WAS_STOP_PRESSED

 – the ExtStop input was triggered, this flag is cleared after it 

has bean read and is set again only when ExtStop was triggered again

E170X_CSTATE_FILE_WRITE_ERROR

 – this flag is returned only in case stand-alone data are written 

to the microSD card and in case an file error occurs during this procedure. As writing an EPR file is done 
as asynchronous stream, errors during this procedure are not announced by the functions which are 
called but only by this error state. For more information about writing of stand alone data please refer 
to section “10.1.5 Writing of stand-alone data

E170X_CSTATE_WAIT_EXTTRIGGER

 – the controller is in state “marking” but is not yet processing 

any data as it is waiting for an external trigger

E170X_CSTATE_HALTED

 – the controller is in state “marking” but is not yet processing any data as it is 

currently halted by function 

E170X_halt_execution()

E170X_CSTATE_WAIT_INPUT

 – the controller is in state “marking” but is not yet processing any data 

as it is waiting for a specific input pattern at the digital inputs

87

background image

E170X_CSTATE_SAC_READY

 – this flag applies only to stand-alone modes; it is similar to output 

DOut0 and signals the controller has loaded a stand-alone file and is ready for marking

E170X_CSTATE_SAC_MARKING

 – this flag applies only to stand-alone modes; it is similar to output 

DOut1 and signals the controller is marking a loaded EPR file

E170X_CSTATE_SAC_CTLXY

 – this flag applies only to stand-alone modes; it signals a “

ctlxy

” 

command was received and the related mode is active

When the function returns an error code instead of E170X_OK, this value is undefined and can't be used.

Return: 

E170X_OK

 or an 

E170X_ERROR_

-return code in case of an error

int E170X_delay(const unsigned char n, double delay)

 

Pause marking for the given time.

This is a stream-command, means it is executed at a point in stream that is relative to the other stream 
commands.

Parameters:

n

 – the 1-based board instance number as returned by 

E170X_set_connection()

delay

 - time to wait until marking continues in unit usec, smallest possible value is 0,500 usecs

Return: 

E170X_OK

 or an 

E170X_ERROR_

-return code in case of an error

int E170X_set_laser_timing(unsigned char n, double frequency, double pulse)

 

Set the frequency and pulse-width to be used during marking at LaserA output.

This is a stream-command, means its parameters are applied at a point in stream that is relative to the other 
stream commands.

Parameters:

n

 – the 1-based board instance number as returned by 

E170X_set_connection()

frequency

 – emitted frequency in unit Hz and in range 25..20000000 Hz

pulse

 – pulse width in usec, this value has to be smaller than period length that results out of frequency

Return: 

E170X_OK

 or an 

E170X_ERROR_

-return code in case of an error

int E170X_set_standby(const unsigned char n,const double frequency,const double 
pulse, const bool force)

Set the frequency and pulse-width to be used during jumps, as stand-by frequency or as continuously 

running frequency at LaserA output.
This is a stream-command, means its parameters are applied at a point in stream that is relative to the other 
stream commands.

Parameters:

n

 – the 1-based board instance number as returned by 

E170X_set_connection()

frequency

 – emitted frequency in unit Hz and in range 25..20000000 Hz. When a value of 0 is given, the 

frequency at LaserA output is turned off at end of mark.

pulse

 – pulse width in usec, this value has to be smaller than period length that results out of 

frequency

force

 – when set to true, the new stand-by frequency is not applied the next time the laser is turned off, but 

immediately

Return: 

E170X_OK

 or an 

E170X_ERROR_

-return code in case of an error

88

background image

int E170X_set_laserb(const unsigned char n,const double frequency,const double 
pulse)

 

Set the frequency and pulse-width to be used at LaserB output. To use LaserB as second 

frequency output, a laser mode with flag 

E170X_LASERMODE_DFREQ

 has to be configured.

This is a stream-command, means its parameters are applied at a point in stream that is relative to the other 
stream commands.

Parameters:

n

 – the 1-based board instance number as returned by 

E170X_set_connection()

frequency

 – emitted frequency in unit Hz and in range 25..20000000 Hz

pulse

 – pulse width in usec, this value has to be smaller than period length that results out of frequency

Return: 

E170X_OK

 or an 

E170X_ERROR_

-return code in case of an error

int E170X_set_fpk(const unsigned char n, double fpk, double yag3QTime)

 

Set the parameters for first pulse killer signal that is emitted via LaserB output whenever the 

laser is turned on; this applies to YAG-modes only and is emitted as one single pulse at LaserB output.
This is a stream-command, means its parameters are applied at a point in stream that is relative to the other 
stream commands.

Parameters:

n

 – the 1-based board instance number as returned by 

E170X_set_connection()

fpk

 – the length of the first pulse killer signal in usec

yag3QTime

 – the length of the first pulse killer signal in usec, this value is used only when laser mode 

E170X_LASERMODE_YAG3

 is set, elsewhere it is ignored

Return: 

E170X_OK

 or an 

E170X_ERROR_

-return code in case of an error

int E170X_get_free_space(const unsigned char n,int buffer)

 

This function returns the space (in unit "commands") that is free in one of the buffers of E1702. 

Here parameter 

buffer

 decides which buffer has to be checked.

Parameters:

n

 – the 1-based board instance number as returned by 

E170X_set_connection()

buffer

 – expects a constant which decides what buffer has to be checked, it has to be set to one of the 

following values:

E170X_FREE_SPACE_PRIMARY

 – return size of the primary buffer; it can be used to avoid memory on 

host system is filled which may happen when vector data are sent to the controller while it's internal 
buffers are already full. In this case these data would have been stored on host side consuming some 
memory there. Using this function this problem can be avoided by sending commands only in case this 
function returns a value that is (much) larger than 0.
The primary buffer that can be checked by using this value is one of two available buffers on E1702 
controller. The primary one has a size of 900000 and is used to feed the secondary buffer (with a size of 
17 million). So when this function returns 900000, this does not mean the buffer is empty and no 
vector data currently processed – they still may be stored in secondary buffer. So to check the 
operational state of the controller, only function 

E170X_get_card_state()

 can be used.

This buffer has also to be checked when function 

E170X_release_trigger_point()

 is used in 

order to ensure the command can arrive at the controller. For a detailed description please refer to 
explanation of 

E170X_release_trigger_point()

 above.

E170X_FREE_SPACE_SECONDARY

 – return size of the secondary buffer; this one is filled by data from 

primary buffer and contains raw commands (like single micro vectors that concatenate to a full vector 
during output).

Return: -1 in case the function failed or the amount of free space in primary buffer.

89

background image

void E170X_get_version(const unsigned char n, unsigned short *hwVersion, 
unsigned short *fwVersion)

 

Get the hardware and software version of the used board. It is recommended to call this 

function after successful connect always and check if used hardware and firmware version is at least a version 
that is known to work with own software.
This is not a stream command, it is executed immediately and independent from all other commands.

Parameters:

n

 – the 1-based board instance number as returned by 

E170X_set_connection()

hwVersion

 – pointer to a variable where the hardware revision/version number is written into

fwVersion

 – pointer to a variable where the revision/version number of the firmware running on the board is 

written into

const int E170X_get_library_version()

 

Returns an integer value which is an identifier specifying the version of this shared library. In 

decimal notation this identifier uses format "Mmmrrr" where "M" is the major version, "m" the minor version 
number and "r" the release count. The bigger the whole returned number is, the newer the library is.

int E170X_get_serial_number(const unsigned char n,char *serial,const int length)

 

Reads the serial number of the used board and returns it as 7 bit ASCII data.

This is not a stream command, it is executed immediately and independent from all other commands.

Parameters:

n

 – the 1-based board instance number as returned by 

E170X_set_connection()

serial

 – pointer to a char-array where the serial number has to be stored into, this memory area needs to 

have a size of at least 40 bytes

length

 – available length of the memory area where 

serial

 points to

Return: 

E170X_OK

 or an 

E170X_ERROR_

-return code in case of an error

10.1.1 Laser Port Specific Functions

This section describes all functions which are related to the LP8 laser port. On the E1702S controller card, this 
port is part of the baseboard, thus these functions always can be used without further precondition.

int E170X_lp8_write(const unsigned char n, unsigned int flags, unsigned char 
value)

 

Sets the LP8_0..LP8_7 outputs of 8 bit laser port without touching the related latch output. 

Total execution time of this command during processing on controller is 1 usec.
Depending on the value of parameter flags this is either a stream-command (means it is executed at a point in 
stream that is relative to the other stream commands) or a direct command (means it is executed immediately 
on calling).

Parameters:

n

 – the 1-based board instance number as returned by E170X_set_connection()

flags

 – handling flags specifying the behaviour of this command, 

E170X_COMMAND_FLAG_STREAM

 to use it 

as stream command, 

E170X_COMMAND_FLAG_DIRECT

 to execute it immediately and independent on current 

stream and execution state

value

 – the 8 bit value to be set at LP8 port

Return: 

E170X_OK

 or an 

E170X_ERROR_

-return code in case of an error

90

background image

int E170X_lp8_write_latch(const unsigned char n, unsigned char on, double 
delay1,unsigned char value, double delay2,double delay3)

Sets the LP8 8 bit laser port with freely definable delays and toggles the related latch output 

automatically; calling this function causes the following sequence of commands:

turn latch bit on/off

wait for 

delay1

 usecs

set LP8

wait for 

delay2

 usecs

turn latch bit off/on

wait for 

delay3

 usecs

The whole execution time of this sequence on the controller is is 1.5 usecs for setting LP8 outputs and toggling 
latch plus 

delay1

 plus 

delay2

 plus 

delay3

. Depending on the value of parameter "

on

" this function may or 

may not set the analogue AOut0 output successfully.
This is a stream-command, means it is executed at a point in stream that is relative to the other stream 
commands.

Parameters:

n

 – the 1-based board instance number as returned by 

E170X_set_connection()

on

 – specifies if the latch bit has to be set to HIGH (on=1) or LOW (on=0) on first step, on second step it will 

toggle to value 

!=on

delay1

 – delay to be issued after setting/clearing the latch bit for the first time

value

 – the 8 bit value to be set at LP8 port

delay2

 – delay to be issued after setting LP8 output and before clearing/setting the latch bit

delay3

 – delay to be issued after clearing/setting the latch bit for the second time

Return: 

E170X_OK

 or an 

E170X_ERROR_

-return code in case of an error

int E170X_lp8_write_mo(const unsigned char n, const unsigned flags, const 
unsigned char on)

Sets or clears the main oscillator output MO to be used with e.g. fiber lasers.

Depending on the value of parameter flags this is either a stream-command (means it is executed at a point in 
stream that is relative to the other stream commands) or a direct command (means it is executed immediately 
on calling).

Parameters:

n

 – the 1-based board instance number as returned by 

E170X_set_connection()

flags

 – handling flags specifying the behaviour of this command, 

E170X_COMMAND_FLAG_STREAM

 to use it 

as stream command, 

E170X_COMMAND_FLAG_DIRECT

 to execute it immediately and independent on current 

stream and execution state

on

 – the state the MO output has to be switched to; PLEASE NOTE: the main oscillator depends on the current 

internal state of the laser. Thus turning it on is always possible but turning off the MO is possible only when the 
controller is not yet handling the laser-off delay, means it is not possible as long as the laser is turned on. In such 
a case this command is ignored.

Return: 

E170X_OK

 or an 

E170X_ERROR_

-return code in case of an error

int32_t E170X_lp8_write_pilot(const uint8_t n,const uint32_t flags,const uint8_t 
on)

Sets or clears the dedicated pilot laser output.

Depending on the value of parameter flags this is either a stream-command (means it is executed at a point in 
stream that is relative to the other stream commands) or a direct command (means it is executed immediately 
on calling).

Parameters:

n

 – the 1-based board instance number as returned by 

E170X_set_connection()

91

background image

flags

 – handling flags specifying the behaviour of this command, 

E170X_COMMAND_FLAG_STREAM

 to use it 

as stream command, 

E170X_COMMAND_FLAG_DIRECT

 to execute it immediately and independent on current 

stream and execution state

on

 – the state the pilot laser output has to be switched to; PLEASE NOTE: pilot laser emission often depends on 

the current internal state of the laser. Thus turning it on may depend on additional conditions and/or a specific 
state of the laser which typically is described in the manual of that laser.

Return: 

E170X_OK

 or an 

E170X_ERROR_

-return code in case of an error

10.1.2 Ditigal IO Functions

In this section all functions are described which make use of the optional digital in- and outputs of the Digi IO 
extension board. When this board is not available, all these functions will fail with an error code 

E170X_ERROR_BORD_NA

.

int E170X_digi_write(const unsigned char n, unsigned int flags, unsigned int 
value, unsigned int mask)

 

Sets the 8 bit digital output port of Digi I/O Extension Board.

Depending on the value of parameter 

flags

 this is either a stream-command (means it is executed at a point in 

stream that is relative to the other stream commands) or a direct command (means it is executed immediately 
on calling).
Parameters:

n

 – the 1-based board instance number as returned by 

E170X_set_connection()

flags

 – handling flags specifying the behaviour of this command, 

E170X_COMMAND_FLAG_STREAM

 to use it 

as stream command, 

E170X_COMMAND_FLAG_DIRECT

 to execute it immediately and independent on current 

stream and execution state

mask

 – specifies which of the bits in "value" have to be used for setting and clearing output data, only these bits 

that are set to 1 in 

mask

 are changed according to the given 

value

value

 – the 8 bit value to be set at digital out port

Return: 

E170X_OK

 or an 

E170X_ERROR_

 return code in case of an error

int E170X_digi_pulse(const unsigned char n, const unsigned int flags, const 
unsigned int in_value, const unsigned int mask, const unsigned int pulses, const 
double delayOn, const double delayOff)

 

Send a sequence of pulses to the 8 bit digital output port of Digi I/O Extension Board. Comparing to a 

self-generated sequence of pulses, this operation causes nearly no data transmission load.
This command is available as stream-command only (means it is executed at a point in stream that is relative to 
the other stream commands).
Parameters:

n

 – the 1-based board instance number as returned by 

E170X_set_connection()

flags

 – currently only 

E170X_COMMAND_FLAG_STREAM

 is supported here

mask

 – specifies which of the bits in "value" have to be used for setting and clearing output data, only these bits 

that are set to 1 in 

mask

 are changed according to the given 

value

value

 – the 8 bit value to be set at digital out port

pulses

 – specifies how often the output has to be set/cleared

delayOn

 – the delay (in unit usec) which has to be issued every time after setting the output, the minimal 

resolution of this value is 0,5 usec

delayOff

 – the delay (in unit usec) which has to be issued every time after clearing the output, the minimal 

resolution of this value is 0,5 usec

Return: 

E170X_OK

 or an 

E170X_ERROR_

 return code in case of an error

92

background image

int E170X_digi_read(const unsigned char n,const unsigned char flags,unsigned int 
*value)

 

Reads the 8 bit digital input port of Digi IO Extension Board.

This is not a stream-command, means it is executed immediately and returns current known state of the digital 
inputs.
When parameter 

flags

 is set to 0, the state of the digital inputs is requested actively which results in a 

separate data transmission to the controller card. On excessive use of this command, that may slow down 
communication with the controller dramatically. Alternatively 

flags

 can be set to 

E170X_COMMAND_FLAG_PASSIVE

 which does not cause such a request. Instead of this the last known state of 

the digital inputs is returned by this function based on the last regular feedback from the controller or based on 
the last call to this function with this passive-flag not set. So when this flags is used, the returned 

value

 may be 

several hundred milliseconds old.
When marking on the fly is enabled using function 

E170X_digi_set_motf()

, digital inputs 0 and 1 and 

optionally also digital inputs 2 and 3  are used for MOTF-encoder and therefore not available as standard 
inputs. In this case state of these bits is undefined and does not reflect the current input state caused by the 
external encoder.

Parameters:

n

 – the 1-based board instance number as returned by 

E170X_set_connection()

value

 – pointer to a variable where the current digital input state has to be written into.

When the function returns an error code instead of E170X_OK, this value is undefined and can't be used.

Return: 

E170X_OK

 or an 

E170X_ERROR_

-return code in case of an error

int E170X_digi_wait(const unsigned char n,unsigned long value,unsigned long 
mask)

 

Stop execution and output of data until the given bitpattern was detected at digital inputs of 

Digit I/O Extension board. Here parameter 

mask

 specifies which of the bits at the input have to be checked, 

they have to be set to 1. These bits within 

mask

 that need to be ignored have to be set to 0. Parameter 

value

 

itself defines the states of the bits that has to be detected at the input to continue processing of data. All bits of 

value

 that correspond to bits of 

mask

, that are 0, are ignored.

Parameters:

n

 - the 1-based board instance number as returned by 

E170X_set_connection()

value

 – the expected bitpattern at digital input

mask

 – specifies which of the input bits and value bits have to be used for comparison

Return: 

E170X_OK

 or an 

E170X_ERROR_

-return code in case of an error

int E170X_digi_set_motf(const unsigned char n, double motfX, double motfY)

 

Disables or enables marking on-the-fly functionality and specifies factors for X- and Y-

direction. When this function is called with values for 

motfX

 or 

motfY

 greather than 0, marking on-the-fly is 

enabled and digital inputs 0 and 1 of DigiIO Extension Board are no longer available as general purpose inputs. 
Now they are used as decoder inputs for a 90 degree phase shifted encoder signal for marking on-the-fly 
applications. When both parameters 

motfX

 and 

motfY

 are set to 0, marking on-the-fly is disabled and inputs 0 

and 1 no longer work as encoder inputs.
When tune flag “2” is set, the two factors for X and Y are assigned to separate encoder inputs. Here factor for X 
applies to values received on digital inputs 0 and 1 and factor for Y applies to values received on digital inputs 2 
and 3.
This is not a stream-command, means it switches states of digital inputs 0 and 1 (plus optionally 2 and 3) and 
marking on-the-fly functionality immediately.
Parameters:

n

 – the 1-based board instance number as returned by 

E170X_set_connection()

motfX

 – marking on-the-fly factor for X-direction in unit bits per encoder increment

motfY

 – marking on-the-fly factor for Y-direction in unit bits per encoder increment

Return: 

E170X_OK

 or an 

E170X_ERROR_

-return code in case of an error

93

background image

int E170X_digi_set_motf_sim(const unsigned char n, double motfX, double motfY)

 

Disables or enables simulated marking on-the-fly functionality and specifies factors for X- and 

Y-direction. When this function is called with values for 

motfX

 or 

motfY

 greather than 0, simulated marking 

on-the-fly is enabled and internal 100 kHz signal generator is used to create static marking on-the-fly pulses in 
positive direction. A possibly enabled on-the-fly operation using external signals on digital inputs 0 and 1 of Digi 
I/O Extension Board is disabled. When both parameters 

motfX

 and 

motfY

 are set to 0, marking on-the-fly 

simulation is disabled completely.
This is not a stream-command, means it enables simulated marking on-the-fly functionality immediately.
Parameters:

n

 – the 1-based board instance number as returned by 

E170X_set_connection()

motfX

 – marking on-the-fly factor for X-direction in unit bits suitable for to be simulated movement-speed on 

100 kHz encoder counting frequency

motfY

 – marking on-the-fly factor for Y-direction in unit bits suitable for to be simulated movement speed on 

100 kHz encoder counting frequency
Return: 

E170X_OK

 or an 

E170X_ERROR_

-return code in case of an error

int E170X_digi_wait_motf(const unsigned char n, const unsigned int flags, const 
double dist)

 

Halts the current marking operation for a given distance of the on-the-fly encoder. Different to 

E170X_delay()

 this function does not use a time to wait until marking is continued but a distance specified 

by parameter 

dist

 and measured by the connected encoder. To use this function marking on-the-fly has to be 

enabled by calling 

E170X_digi_set_motf()

 or 

E170X_digi_set_motf_sim()

 before.

This command is useful for marking on-the-fly applications where several vector data have to be marked which 
in total are larger than the available working area of the scanhead (e.g. when marking long texts on a cable). For 
this the vector data to be marked have to be concatenated in suitable pieces where each piece is smaller than 
the available working area. Then these pieces can be marked consecutively with following sequence of 
commands:

1.

E170X_set_trigger_point()

 (used only once at the very beginning to define the starting point 

and to initialise internal MOTF counters). This trigger point later has to be released either by applying 
an ExtStart signal or by calling function 

E170X_release_trigger_point()

2.

E170X_digi_wait_motf()

 to wait for the beginning of the first piece of vector data to be marked, 

the given distance is equal to the distance from the starting point in 1)

3.

E170X_jump_abs()

/

E170X_mark_abs()

 for vector data of character to be marked; here one piece 

of the whole set of vector data has to be sent to the controller

4.

E170X_digi_wait_motf()

 to wait for the distance until next set of vector data; here the distance 

between the starting points of two pieces of vector data has to be given

5. continue at 3) until all pieces of vector data have been sent

This is a stream-command, means it is executed at a point in stream that is relative to the other stream 
commands.
Parameters:

n

 – the 1-based board instance number as returned by 

E170X_set_connection()

flags

 – specifies how the distance value is handed over, with 

E170X_COMMAND_FLAG_MOTF_WAIT_INCS

 a 

value in unit “encoder increments” is expected, with 

E170X_COMMAND_FLAG_MOTF_WAIT_BITS

 a distance in 

unit “bits” is expected. In second case the X-on-the-fly factor of a preceding call to 

E170X_digi_set_motf()

 

or 

E170X_digi_set_motf_sim()

 is used.

dist

 – the distance to wait for until marking has to be completed, the unit of this value is specified with 

preceding parameter 

flags

Return: 

E170X_OK

 or an 

E170X_ERROR_

-return code in case of an error

int E170X_digi_set_mip_output(const unsigned char n,unsigned int value,unsigned 
int flags)

94

background image

 

This function can be used to specify which of the digital outputs has to be used for signalling 

"marking in progress". When 

value

 is set to 0xFFFFFFF0, this function is disabled and scanner controller card 

does not provide this signal automatically. When the number of the digital output (in range 0..7) is given as 

value

, the related digital output pin is used for "mark in progress" signal. When the given number is 

0xFFFFFFFF and when LaserB output is used as general purpose output (as it can be dine by using the tune-
flags), the LaserB output pin is used as for signalling the marking-state.
PLEASE NOTE: here the number (means the count) of one specific output pin has to be given, not a bitpattern 
specifying one or more pins!
During operation the selected "mark in progress" pin is HIGH as long as the scanner is moving and/or the laser 
is on and/or a delay is processed and when marking parameter are processed between these operations. It 
becomes LOW as soon as no more marking data are available and current operation is stopped or when scanner 
is waiting for an external trigger signal (ExtStart).
This is not a stream-commando, when it is called it is applied to current configuration immediately.

Parameters:

n

 – the 1-based board instance number as returned by 

E170X_set_connection()

value

 – the number of the digital output to be used for this signal

flags

 - currently unused, set always to 0 for compatibility

Return: 

E170X_OK

 or an 

E170X_ERROR_

-return code in case of an error

int E170X_digi_set_wet_output(const unsigned char n,const unsigned int 
value,const unsigned int flags)

 

This function can be used to specify which of the digital outputs has to be used for signalling 

"waiting for external trigger". When 

value

 is set to 0xFFFFFFF0, this function is disabled and scanner 

controller card does not provide this signal automatically. When the number of the digital output (in range 0..7) 
is given as 

value

, the related digital output pin is used for "waiting for external trigger" signal. When the given 

number is 0xFFFFFFFF and when LaserB output is used as general purpose output (as it can be dine by using 
the tune-flags), the LaserB output pin is used as for signalling the marking-state.
PLEASE NOTE: here the number (means the count) of one specific output pin has to be given, not a bitpattern 
specifying one or more pins!
During operation the selected "waiting for external trigger" pin is HIGH as long as the controller is waiting for 
an external trigger to be applied at ExtStart input. It becomes LOW as soon as this signal has been detected or 
when current operation is stopped.
This is not a stream-command, when it is called, it is applied to current configuration immediately.

Parameters:

n

 – the 1-based board instance number as returned by 

E170X_set_connection()

value

 – the number of the digital output to be used for this signal

flags

 – currently unused, set always to 0 for compatibility

Return: 

E170X_OK

 or an 

E170X_ERROR_

-return code in case of an error

10.1.3 Stepper Motor Motion Functions

The E1702S can be used to control up to four stepper motor axes via step/direction signals emitted at fixed 
output of the Digi I/O extension board. The axes and signals are assigned in the following way:

Axis

Step-Output

Direction Output

0

DOut0

DOut4

1

DOut1

DOut5

2

DOut2

DOut6

3

DOut3

DOut7

Start/end of a motion operation can be checked by calling 

E170X_get_card_state()

, here “running motion” 

is signalled as “marking”. When the function returns “idle”, a motion operation has been completed.

95

background image

An example that demonstrates the usage of the stepper motor functions can be found online at 

https://sourceforge.net/p/oapc/code/ci/master/tree/libe170x/libe170x_test_motion/

 

When no Digi I/O extension board is not available, all these functions will fail with an error code 

E170X_ERROR_BORD_NA

.

int E170X_digim_set_accels(const unsigned char n,const unsigned char axis,const 
double accel)

 

With this function an acceleration value can be set which is used whenever a motion starts and 

ends. As these motion functions make use of a logarithmic acceleration mode only, the 

accel

-value is not 

specified by a value which has a defined measurement unit. The value given here is some kind of step-based 
factor. The higher the value is, the stronger the acceleration/deceleration will be. When set to 0, no acceleration 
will take place and all motions will start with full speed immediately.

Parameters:

n

 – the 1-based board instance number as returned by 

E170X_set_connection()

axis

 – the axis identifier in range 0..3

accel

 – the acceleration to be set for this axis

Return: 

E170X_OK

 or an 

E170X_ERROR_

-return code in case of an error

int E170X_digim_set_limits(const unsigned char n,const unsigned char axis,const 
int llimit,const int hlimit,const unsigned int slimit)

 

Set maximum movement range and speed limit for all subsequent motion commands. So no 

matter what following calls to set a speed or to got to a motion position will specify, the limits defined here 
never can be exceeded.

Parameters:

n

 – the 1-based board instance number as returned by 

E170X_set_connection()

axis

 – the axis identifier in range 0..3

llimit

 – the lower motion position (in unit steps) this axis can be moved to

hlimit

 – the upper motion position (in unit steps) this axis can be moved to

slimit

 – the maximum speed (in unit steps/second) this axis can be moved with

Return: 

E170X_OK

 or an 

E170X_ERROR_

-return code in case of an error

int E170X_digim_set_speed(const unsigned char n,const unsigned char axis,double 
speed)

 

Set the speed for the next motion command. This call specifies at which speed the related axis 

will be moved.

Parameters:

n

 – the 1-based board instance number as returned by 

E170X_set_connection()

axis

 – the axis identifier in range 0..3

speed

 – the speed (in unit steps/second) the axis will be moved with on next motion

Return: 

E170X_OK

 or an 

E170X_ERROR_

-return code in case of an error

int E170X_digim_move_abs(const unsigned char n,const unsigned char axis,const 
int pos)

 

This function moves an axis to the given position by using the speed that was defined by a 

preceding call to 

E170X_digim_set_speed()

. This function causes a movement immediately which sets the 

96

background image

controller to state “marking”. So after this call, function 

E170X_get_card_state()

 has to be called to check 

if the controller is active and to check if the controller is back in state “idle”.

Parameters:

n

 – the 1-based board instance number as returned by 

E170X_set_connection()

axis

 – the axis identifier in range 0..3

pos

 – the absolute position (in unit steps) the axis has to be moved to

Return: 

E170X_OK

 or an 

E170X_ERROR_

-return code in case of an error

int E170X_digim_move_rel(const unsigned char n,const unsigned char axis,const 
int pos)

 

This function changes the position of an axis by the given amount by using the speed that was defined 

by a preceding call to 

E170X_digim_set_speed()

. This function causes a movement immediately which 

sets the controller to state “marking”. So after this call, function 

E170X_get_card_state()

 has to be called 

to check if the controller is active and to check if the controller is back in state “idle”.

Parameters:

n

 – the 1-based board instance number as returned by 

E170X_set_connection()

axis

 – the axis identifier in range 0..3

pos

 – the relative position (in unit steps) the axis has to be moved by

Return: 

E170X_OK

 or an 

E170X_ERROR_

-return code in case of an error

int E170X_digim_set_pos(const unsigned char n,const unsigned char axis,const int 
pos)

 

Comparing to the preceding functions, this one does not cause any movement. It sets the internal 

position of the axis to the given value in order to have the controller in a defined state. So this function should 
be called whenever the axis is located at a defined position where a defined position value has to be assgined to.

Parameters:

n

 – the 1-based board instance number as returned by 

E170X_set_connection()

axis

 – the axis identifier in range 0..3

pos

 – the internal position (in unit steps) which has to be set to the current mechanical position of the axis

Return: 

E170X_OK

 or an 

E170X_ERROR_

-return code in case of an error

10.1.4 Miscellaneous functions

int E170X_write(const unsigned char n,unsigned int flags,unsigned int value)

 

Writes some specific data to outputs at E1702S controller. Here 

flags

 decides which 

output to use and 

value

 specifies what has to be written to this output. Additionally 

flags

 decides weather 

this is a stream-command (means it is executed at a point in stream that is relative to the other stream 
commands) or a direct command (means it is executed immediately on calling).

Parameters:

n

 – the 1-based board instance number as returned by 

E170X_set_connection()

flags

 – handling flags specifying the behaviour of this command, when 

E170X_COMMAND_FLAG_STREAM

 is 

set, it is used as stream command, 

E170X_COMMAND_FLAG_DIRECT

 specifies to execute it immediately and 

independent on current stream and execution state. Here exactly one of these two flags can be used, it is not 
allowed to OR-concatenate them. Additionally exactly one of the following flags has to be set to specify which 
output need to be used to send the 

value

 to, this flag has to be OR-concatenated with one of the previously 

described ones:

97

background image

E170X_COMMAND_FLAG_WRITE_LP8MO

 – set or unset MO-output to a value of 1 or 0

E170X_COMMAND_FLAG_WRITE_LP8LATCH

 – set or unset latch-output to a value of 1 or 0

E170X_COMMAND_FLAG_WRITE_LASERA_GPO

 – set or unset LaserA-output to a value of 1 or 0, this 

option requires the LaserA output to be configured as GPO-output; for details please refer to 
description of "tune" parameters

E170X_COMMAND_FLAG_WRITE_LASERB_GPO

 – set or unset LaserB-output to a value of 1 or 0, this 

option requires the LaserB output to be configured as GPO-output; for details please refer to 
description of "tune" parameters

E170X_COMMAND_FLAG_WRITE_LASERGATE

 – set or unset LaserGate-output to a value of 1 or 0, 

this functions should be used with jump or mark operations only since every switch from jump to mark 
(or vice versa) still sets the LaserGate output automatically and therefore would overwrite own values 
set with this function

value

 – the value to be sent to the output specified by flags

Return: 

E170X_OK

 or an 

E170X_ERROR_

-return code in case of an error

10.1.5 Writing of stand-alone data

Using E1702 Easy Programming Interface it is also possible to write stand-alone data which are not marked 
immediately but are stored either locally or on scanner controller's micro-SD-card. In this mode sending of 
vector data, scanner- and laser parameters looks exactly the same as for direct operation mode where data are 
marked immediately. The difference can be found in initialisation (which tells the software to not to mark these 
data but to store them for later use) and when dynamic data are created.

E1702 supports two types of writing of stand-alone data:

sending them to the controller via Ethernet or USB connection where they are written to micro-SD-
card and

writing one or more files to the local file system which later have to be copied to the micro-SD-card of 
the controller manually.

The general procedure for sending stand-alone data to the controller's micro-SD-card has to look as follows:

1. The controller needs to be in idle-state, means it should not mark and should not have loaded an 

already existing .EPR file. This can be ensured by calling stand-alone command 

clepr

 with a filename 

for a file that does not exists on micro-SD-card. For more details please refer to “8.2 Stand-Alone 
Control Commands“

2. Configure the connection to E1702 controller by calling 

E170X_set_connection()

, the returned 

board instance number has to be used for all following function calls.

3. Enable stand-alone write mode and specify the filename of the .EPR file to be created on micro-SD-card 

by calling 

E170X_set_filepath()

 with mode 

E170X_FILEMODE_SEND

.

4. Send all laser- and scanner-parameters as well as vector data as usual.
5. Optionally: send information about dynamic contents of the .EPR file to be created by calling 

E170X_dynamic_data2()

 optionally followed by some vector data followed by an other call to 

function 

E170X_dynamic_data2()

 which ends this section of dynamic data (please refer function 

description below for details).

6. Wait until 

E170X_get_card_state()

 returns “busy”

7. Wait until 

E170X_get_card_state()

 returns “idle” or an error

8. End data transmission and finish created file by calling 

E170X_close()

.

The general procedure for writing stand-alone data to the local filesystem has to look as follows:

1. Since writing of local data does not require a working connection to the controller card, it does not 

need to be configured and the special board instance number 0 has to be used for all following function 
calls.

2. Enable stand-alone write mode and specify the filename of the .EPR file to be created by calling 

E170X_set_filepath()

 with mode 

E170X_FILEMODE_LOCAL

.

3. Send all laser- and scanner-parameters as well as vector data as usual.
4. Optionally: send information about dynamic contents of the .EPR file to be created by calling 

E170X_dynamic_data2()

 optionally followed by some vector data followed by an other call to 

98

background image

function 

E170X_dynamic_data2()

 which ends this section of dynamic data (please refer function 

description below for details).

5. End data transmission and finish created file by calling 

E170X_close()

.

The functions which are specific to writing of stand-alone data have to be used as follows:

int E170X_set_filepath(const unsigned char n,const char *fname,unsigned int 
mode)

This function enables operation mode where all following data are not marked immediately but written 

into an .EPR stand-alone file. This mode stays active until next call of 

E170X_close()

. It has to be called prior 

to 

E170X_load_correction()

. Valid parameters and their meaning depends on the usage scenario:

when sending stand-alone data to a connected controller which writes the .EPR file to the micro-SD-
card directly:

n

 – the 1-based board instance number as returned by 

E170X_set_connection()

fname

 – name of the file as it has to appear on micro-SD-card of the controller in style 

“0:/filename.epr” where “0:/” is a fixed prefix specifying the micro-SD-card, “filename” is a free to 
choose name with recommended 8 characters at max and “.epr” is a fixed, mandatory file extension 
specifying an E1702 stand-alone file

mode

 – set to 

E170X_FILEMODE_SEND

 to specify the data have to be sent to the controller

when writing stand-alone data to the local filesystem (no controller card directly involved):

n

 – board instance number, has to be set to 0 (as well as for all other function calls in this mode)

fname

 – name of the file to be written, this has to be a valid path to a location on a local filesystem 

which is writable and needs to have file extension “.epr”

mode

 – set to 

E170X_FILEMODE_LOCAL

 to specify the data have to be written locally

Return: 

E170X_OK

 or an 

E170X_ERROR_

-return code in case of an error

int E170X_dynamic_data2(const unsigned char n,struct oapc_bin_struct_dyn_data2 
*dynData)

This function can be used to write dynamic data such as texts, serial numbers, barcodes which later can 

be changed during operation in stand-alone mode.
This function always has to be called in fixed sequences:

1. jump to the start position of the dynamic element by calling 

E170X_jump_abs()

2. first call of 

E170X_dynamic_data2(n,dynData)

 with a valid 

dynData

 parameter describing the 

dynamic content and its capabilities

3. optionally and dependent on type of dynamic data that have to be created: some vector data which 

belong to the dynamic content and are required to build it up

4. second call of 

E170X_dynamic_data2(n,NULL)

 with NULL handed over for parameter 

dynData

 to 

finish this element

A stand-alone file can contain up to ten dynamic data elements. So this function can be called up to ten times to 
create a new element on each call.

When this function is called, beside the .EPR-file an additional .DAT file is created which contains some specific 
data. During operation in stand-alone mode an other file with the same name and with extension .SER may be 
created which contains counting information of an included serial number. All these files belong together and 
deleting one or more of them may lead to unexpected results. When writing the data to local filesystem it also 
has to be ensured both, the .EPR and the .DAT fiel are copied to the controller later.

The structure 

oapc_bin_struct_dyn_data2

 is defined in file “oapc_libio.h” which is part of the OpenSDK. 

The general usage is described in OpenSDK manual, both are available for download at 

https://halaser.systems/download.php

.

For E1702 scanner controller card following specific parameters and features of this structure can to be used:

Independent from what kind of dynamic element has to be created, following members of structure 

oapc_bin_struct_dyn_data2

 

always have to be filled

 with data:

99

background image

UID – and unique identifier which can be created out of a plain, human readable text which should be unique 

too and later can be used to access this specific element via stand-alone control commands; this 
identifier has to created out of the 8 bit ASCII character using following CRC-function:

#define

 

POLY

 0x82f63b78

/* CRC-32 (Ethernet, ZIP, etc.) polynomial in reversed bit order. */

unsigned

 

int

 

crc32b

(

const

 

char

 *

buf

)

{
   

int

          

k

;

   

unsigned

 

int

 

crc

=0xFFFFFFFF;

   

size_t

       

len

=

strlen

(

buf

);

   

while

 (

len

--) 

   {
      

crc

^=*

buf

++;

      

for

 (

k

=0; 

k

<8; 

k

++)

       

crc

=

crc

&1 ? (

crc

>>1)^

POLY

 : 

crc

>>1;

   }
   

return

 ~

crc

;

}

uScaleX

 – scaling factor in X-direction in unit 1/1000000

uScaleY

 – scaling factor in Y-direction in unit 1/1000000

res1a

res1b

res2

res3

res4

res5

res6

res7

 – these members are reserved for later use and all have

to be set to 0

Every dynamic element can be a 

serial number

. In such a case the serial number part of structure 

oapc_bin_struct_dyn_data2

 has to be filled with data:

fmtString

 – an ASCII text with a maximum length of 

DYN_DATA_MAX_STRING_LENGTH

 describing the 

format of the serial number/date/time in the dynamic element, here the same notation has to be used 
as it is known from the serial number input element of BeamConstruct (please refer to the related 
manual)

snBeatCount

 – specifies how much numbers of mark operations have to elapse before the serial number has 

to be incremented, here a value of 1 has to be given to increment on every operation

snBeatOffset

 – specifies a counting offset for the beat count parameter

snIncrement

 – specifies the step width by which a serial number has to be incremented

snNumericBase

 – the numeric base of the serial numbers to be displayed, default is 10 for decimal numbers

snResetAtTime

 – the time value at which the serial number has to be reset to it's initial value; set to a 

timestamp (in unit day of week/date/seconds) when it has to be reset at a given time

snResetAtValue

 – the numeric value at which the serial number has to be reset to it's initial value

snFlags

 – a set of OR-concatenated flags which further specifies handling of the serial number:

0x0002 – reset the serial number at a specific counting value specified by 

snResetAtValue

0x0004 – reset the serial number at a specific day of the week specified by 

snResetAtTime

0x0008 – reset the serial number at a specific date specified by 

snResetAtTime

0x0010 – reset the serial number at a specific time of the day specified by 

snResetAtTime

snStartValue

 – the initial- and reset-to-value of the serial number

snMinDigits

 – the minimum number of digits the serial number has to consist of

timeOffset

 – a static offset (in unit seconds) to be added to the time-part of the current element

Dynamic 

text elements

 additionally need to fill following parts of the same structure 

oapc_bin_struct_dyn_data2

:

fmtString

 – an ASCII text with a maximum length of 

DYN_DATA_MAX_STRING_LENGTH

 which contains the

text to be shown and which can be changed by appropriate stand-alone commands later; when used in
combination with serial number data, here a format-string has to be given as described above

100

background image

type

 – a number which specifies the font to be used for creating the dynamic texts, here one of following 

values can be used:

0x01000000

 – use “Rect Single” laser font

0x02000000

 – use “Rect Double” laser font

0x03000000

 – use “Roman Simple” laser font

0x04000000

 – use “Roman Double” laser font

0x05000000

 – use “Script Simple” laser font

0x06000000

 – use “Script Double” laser font

0x07000000

 – use “Script Complex” laser font

0x08000000

 – use “Times Simple” laser font

0x09000000

 – use “Times Bold” laser font

0x0A000000

 – use “Times Italic” laser font

0x0B000000

 – use “Times Italic Bold” laser font

flags

 – some OR-concatenated flags which specify orientation, alignment and style of the text to be

generated, here no two flags of same type are allowed to be combined which would conflict with each 
other:

0x00000000

 – orient text left to right

0x00010000

 – orient text right to left

0x00020000

 – orient text top to bottom

0x00030000

 – orient text bottom to top

0x00000000

 – horizontally align to the left

0x00000100

 – centre-align horizontally

0x00000200

 – horizontally align to the right

0x00000001

 – style fixed char-size – all characters are forced to have same distance

param1

 – kerning value in unit 1/1000%

param2

 – reserved for future use, set to 0

param3

 – spacing in unit 1/1000%

Dynamic 

DataMatrix barcode elements

 require vector data to be sent between two calls of function 

E170X_dynamic_data2()

, these vector data describe the pattern which has to be marked to create one 

single element (means square) of the DataMatrix barcode. Such an element needs to incorporate all that is 
needed including laser- and scannerdata as well as vector data for outline and possible hatches. During stand-
alone operation the barcode itself is created by combining these single elements at these positions, where a bit 
(=square) has to be set).
Additionally following data of the structure 

oapc_bin_struct_dyn_data2

 need to be filled for this type of 

element:

fmtString

 – an ASCII text with a maximum length of 

DYN_DATA_MAX_STRING_LENGTH

 which contains the

text to be encoded as DataMatrix barcode and which can be changed by appropriate stand-alone
commands later; when used in combination with serial number data, here a format-string has to be
given as described above

type

 – set to 71 for DataMatrix barcode

flags

 – some OR-concatenated flags which further specify how the barcode has to be created, currently only 

one flag is supported:
0x0001 – create a square-shaped DataMatrix barcode instead of a rectangular one

param1

 – set to 0

param2

 – set to -1

param3

 – specifies the size to be generated (in range 2..30) and implicitly the error correction level

quietZone

 – zone the barcode has to be surrounded with, the value given here is the multiple of the width of a 

single token multiplied with 1000

10.1.5.1 Example

101

background image

Following a (simplified) example in some pseudo-code is given which demonstrates the correct usage of the 
programming interface to write stand-alone data. The laser- and scanner-parameters are dropped in this 
example since they are not specific to this operation mode and always have to be set.

Example: A serial number in format “000/hh/mm” where “000” is a continuously increased number, “hh” is the 
current hour and “mm” is the current minute has to be encoded into a DataMatrix barcode which has a size of 
25x25 mm and is positioned at -30x30 mm within a 100x100 mm working area that itself is aligned to 
coordinates -50,50

1. not shown here: initialisation of libe1702 (with evaluation of parameter 

boardIdx

), sending of default 

scanner and laser data as usual

2.

E170X_jump_abs(boardIdx, -20132659, 20132659, 0)

 // jump to the starting position of 

the DataMatrix barcode to be created

3.

E170X_dynamic_data2(boardIdx, dynData)

 // initiate the dynamic data sequence, here the 

members of dynData are set to following values:

UID 

  = 2340633892

 – CRC-value of element name “Barcode 1”

fmtString    = "$S/%I/%M"

 – display serial number, hour and minute

type 

  = 71

 – DataMatrix barcode

flags 

  = 1

 – barcode forced to square

param2 

  = 4294967295

param3 

  = 2

uScaleX 

  = 1029654

uScaleY 

  = 1029654

snIncrement   = 1
snNumericBase = 10
snMinDigits   = 3

all other values are set to 0

4.

E170X_jump_abs(boardIdx, 0, 0, 0)
E170X_mark_abs(boardIdx, 1197222, 0, 0)
E170X_mark_abs(boardIdx, 1197222, -1197222, 0)
E170X_mark_abs(boardIdx, 0, -1197222, 0)
E170X_mark_abs(boardIdx, 0, 0, 0)

 // draw a single rectangle which describes one 

DataMatrix cell (in this example only the outline without any hatching is done, hatches would have to 
be added here too

5.

E170X_dynamic_data2(boardIdx, NULL)

 // end the sequence of dynamic data

6.

E170X_execute(boardIdx)

7. Not shown here: waiting for card being busy, waiting for card being idle (which means writing of the Epr 

file to the microSd card has been finished), closing the connection to the controller

10.1.6 Error Codes

Most of the functions described above can return an error code in case an operation could not be completed 
successfully for any reason. So when it does not return with 

E170X_OK

 the error code informs about the 

reason for failure:

E170X_ERROR_INVALID_CARD

 – a wrong or illegal card number was specified with function 

parameter 

n

E170X_ERROR_NO_CONNECTION

 – a connection to card could not be established

E170X_ERROR_NO_MEMORY

 – there is not enough memory available on the host to perform the 

requested operation

E170X_ERROR_UNKNOWN_FW

 – card is running an unknown and/or incompatible firmware version

E170X_ERROR_TRANSMISSION

 – data transmission to card failed

E170X_ERROR_FILEOPEN

 – opening of a file failed

E170X_ERROR_FILEWRITE

 – writing of data into a file failed

E170X_ERROR_BORD_NA

 – a base- or extension board that would be required for a function is not 

available

E170X_ERROR_INVALID_DATA

 – data or parameters handed over to a function are invalid, out of 

range or illegal in current context

102

background image

E170X_ERROR_UNKNOWN_BOARD

 – trying to access a controller board that is not a suitable controller

E170X_ERROR_FILENAME

 – a file name handed over to a function was illegal, it is either too long, has 

an illegal or too long file extension, comes with too much sub-directories or contains illegal characters

E170X_ERROR

 – an other, unspecified error occurred

E170X_ERROR_NOT_SUPPORTED

 – the requested feature or function is not supported by the current 

firmware version

E170X_ERROR_STILL_IN_PROGRESS

 – the requested function could not be executed because the 

controller is still busy, this happens e.g. in cases where a stand-alone operation is running on the 
controller which is not under control of the programming interface

103

background image

APPENDIX A – Wiring between E1702S and specific laser 
types

This appendix describes the wiring between the controller card and specific laser models when the E170Xdock 
(as described in “6.4 E1702Sdock Extension Board”) is not used or when it can’t be used because the laser 
comes with a non-standard, proprietary control interface.

Wiring between E1702S and IPG YLP Series Type B, B1 and B2, GZTech YFPN 

series fiber laser

PLEASE NOTE: this wiring scheme is a non-binding policy, it may be incorrect due to changes in connected 
hardware. So in every case please check this table against specification and wiring documentation of the used 
laser!

Variant using E1702S and optional Digi I/O Extension Board for laser alarms.

Signal Name

Board

Connector / Pin

IPG Pin

LP0

E1702S Baseboard

Pin 9

Pin 1

LP1

Pin 11

Pin 2

LP2

Pin 13

Pin 3

LP3

Pin 15

Pin 4

LP4

Pin 17

Pin 5

LP5

Pin 19

Pin 6

LP6

Pin 21

Pin 7

LP7

Pin 23

Pin 8

LP8 Latch

Pin 25

Pin 9

MO / Main Oscillator

Pin 18

Pin 18

LaserA / Frequency

Pin 22

Pin 20

Laser Gate / Modulation

Pin 20

Pin 19

Pilot

Pin 16

Pin 22 *)

Alarm,
one of DIn0…DIn7

Digi I/O Extension 
Board

Pin 4, 6, 8, 10, 12, 14, 16 or 18

Pin 16

Alarm,
one of DIn0..DIn7

Pin 4, 6, 8, 10, 12, 14, 16 or 18

Pin 21

*) may require additional power driver since some laser variants consume a current at this input which is higher 
than the maximum output allowed

In this wiring-scheme no GND-connections are listed, they have to be added in order to get valid and working 
connections.

104

background image

Wiring between E1702S and JPT YDFLP series fiber laser (“MOPA”) or IPG 

YLP Series Type D fiber laser or Raycus RFL PMX/PQB Series fiber laser

PLEASE NOTE: this wiring scheme is a non-binding policy, it may be incorrect due to changes in connected 
hardware. So in every case please check this table against specification and wiring documentation of the used 
laser!

Variant using E1702S and optional Digi I/O Extension Board for laser alarms.

Signal Name

Board

Connector / Pin

JPT D-SUB25 Pin

LP0

E1702S Baseboard

Pin 9

Pin 1

LP1 / serial data

Pin 11

Pin 2 

2

)

LP2 / serial clock

Pin 13

Pin 3 

2

)

LP3

Pin 15

Pin 4

LP4

Pin 17

Pin 5

LP5

Pin 19

Pin 6

LP6

Pin 21

Pin 7

LP7

Pin 23

Pin 8

LP8 Latch

Pin 25

Pin9

MO / Main Oscillator

Pin 18

Pin 18

LaserA / Frequency

Pin 22

Pin 20

Laser Gate / Modulation

Pin 20

Pin 19

Pilot / serial enable

Pin 16

Pin 22 

1

)

Alarm,
one of DIn0…DIn7

Digi I/O Extension 
Board

Pin 4, 6, 8, 10, 12, 14, 16 or 18

Pin 16

Alarm,
one of DIn0…DIn7

Pin 4, 6, 8, 10, 12, 14, 16 or 18

Pin 21

1

) for details regarding double-usage of this pin, please refer to the manual of the laser

In this wiring-scheme no GND-connections are listed, they have to be added in order to get valid and working 
connections.

105

background image

Wiring between E1702S and IPG YLP Series Type E fiber laser

PLEASE NOTE: this wiring scheme is a non-binding policy, it may be incorrect due to changes in connected 
hardware. So in every case please check this table against specification and wiring documentation of the used 
laser!

Variant using E1702S and Digi I/O Extension Board for laser alarms and pilot laser with support for APD index 
setting via DB-25 serial data interface

Signal Name

Board

Connector / Pin

IPG Pin

LP0

E1702S Baseboard

Pin 9

Pin 1

LP1

Pin 11

Pin 2

LP2

Pin 13

Pin 3

LP3

Pin 15

Pin 4

LP4

Pin 17

Pin 5

LP5

Pin 19

Pin 6

LP6

Pin 21

Pin 7

LP7

Pin 23

Pin 8

LP8 Latch

Pin 25

Pin 9

MO / Main Oscillator

Pin 18

Pin 18

LaserA / Frequency

Pin 22

Pin 20

Laser Gate / Modulation

Pin 20

Pin 19

Pilot

Pin 16

Pin 22 

1

)

Alarm, one of DIn0..DIn7

Digi I/O Extension 
Board

Pin 4, 6, 8, 10, 12, 14, 16 or 18

Pin 16

Alarm, one of DIn0..DIn7

Pin 4, 6, 8, 10, 12, 14, 16 or 18

Pin 21

Serial Enable

Pin 7

Pin 24

Serial Clock

Pin 9

Pin 13

Serial Data

Pin 11

Pin 10

1

) may require additional power driver since some laser variants consume a current at this input which is higher 

than the maximum output allowed

In this wiring-scheme no GND-connections are listed, they have to be added in order to get valid and working 
connections.

106

background image

Wiring between E1702S and IPG YLP Series Type F fiber laser

PLEASE NOTE: this wiring scheme is a non-binding policy, it may be incorrect due to changes in connected 
hardware. So in every case please check this table against specification and wiring documentation of the used 
laser!

Signal Name

Board

E1702 Connector / Pin

D-SUB25

LP0

E1702S Baseboard

Pin 9

Pin 1

LP1

Pin 11

Pin 2

LP2

Pin 13

Pin 3

LP3

Pin 15

Pin 4

LP4

Pin 17

Pin 5

LP5

Pin 19

Pin 6

LP6

Pin 21

Pin 7

LP7

Pin 23

Pin 8

LP8 Latch

Pin 25

Pin 9

MO / Main Oscillator

Pin 18

Pin 18

LaserA / Frequency

Pin 22

Pin 20

Laser Gate / Modulation

Pin 20

Pin 19

Pilot

Pin 16

Pin 22

GND

Pin 10

Pin 14

Alarm, one of DIn0…DIn7

Digi IO Extension Board

Pin 4, 6, 8, 10, 12, 14, 16 or 18

Pin 11

Alarm, one of DIn0…DIn7

Pin 4, 6, 8, 10, 12, 14, 16 or 18

Pin 16

Alarm, one of DIn0…DIn7

Pin 4, 6, 8, 10, 12, 14, 16 or 18

Pin 21

107

background image

Wiring between E1702S and Raycus fiber laser

PLEASE NOTE: this wiring scheme is a non-binding policy, it may be incorrect due to changes in connected 
hardware. So in every case please check this table against specification and wiring documentation of the used 
laser!

Variant using E1702S and optional Digi I/O Extension Board for laser alarms.

Signal Name

Board

Connector / Pin

Raycus DB25 Pin

LP0

E1702S Baseboard

Pin 9

Pin 1

LP1

Pin 11

Pin 2

LP2

Pin 13

Pin 3

LP3

Pin 15

Pin 4

LP4

Pin 17

Pin 5

LP5

Pin 19

Pin 6

LP6

Pin 21

Pin 7

LP7

Pin 23

Pin 8

MO / Main Oscillator

Pin 18

Pin 18

LaserA / Frequency

Pin 22

Pin 20

Laser Gate / Modulation

Pin 20

Pin 19

Alarm,
one of DIn0…DIn7

Digi I/O Extension 
Board

Pin 4, 6, 8, 10, 12, 14, 16 or 18

Pin 16

Alarm,
one of DIn0…DIn7

Pin 4, 6, 8, 10, 12, 14, 16 or 18

Pin 21

In this wiring-scheme no GND-connections are listed, they have to be added in order to get valid and working 
connections.

108

background image

Wiring between E1702S and MaxPhotonics MFP fiber laser

PLEASE NOTE: this wiring scheme is a non-binding policy, it may be incorrect due to changes in connected 
hardware. So in every case please check this table against specification and wiring documentation of the used 
laser!

Variant using E1702S and optional Digi I/O Extension Board for laser alarms.

Signal Name

Board

E1702x Pin

MaxPhotonic

s DB25 Pin

LP0

E1702S Baseboard

Pin 9

Pin 1

LP1

Pin 11

Pin 2

LP2

Pin 13

Pin 3

LP3

Pin 15

Pin 4

LP4

Pin 17

Pin 5

LP5

Pin 19

Pin 6

LP6

Pin 21

Pin 7

LP7

Pin 23

Pin 8

LP8 Latch

Pin 25

Pin 9

MO / Main Oscillator

Pin 18

Pin 18

LaserA / Frequency

Pin 22

Pin 20

Laser Gate / Modulation

Pin 20

Pin 19

Pilot

Pin 16

Pin 22

GND

Pin 10

Pin 10-15

Alarm,
one of DIn0…DIn7

Digi I/O Extension 
Board

Pin 4, 6, 8, 10, 12, 14, 16 or 18

Pin 16

Alarm,
one of DIn0…DIn7

Pin 4, 6, 8, 10, 12, 14, 16 or 18

Pin 21

In this wiring-scheme no GND-connections are listed, they have to be added in order to get valid and working 
connections.

109

background image

Wiring between E1702S and DAVI D-Series RF CO

2

 Laser

PLEASE NOTE: this wiring scheme is a non-binding policy, it may be incorrect due to changes in connected 
hardware. So in every case please check this table against specification and wiring documentation of the used 
laser!

Variant using E1702S and optional Digi I/O Extension Board for laser alarm.

Signal Name

Board

E1702x Pin

DAVI RJ45 Pin

DAVI RJ45 

Wire Colour

LaserA / Frequency

E1702S Baseboard

22

1

orange/white

GND

10

8

brown

Laser Ready input, one of 
DIn0…DIn7

Digi I/O Extension Board

Pin 4, 6, 8, 10, 
12, 14, 16 or 18

3

green/white

GND

2

6

green

110

background image

Wiring between E1702S and GZTECH S355 series DPSS Laser

PLEASE NOTE: this wiring scheme is a non-binding policy, it may be incorrect due to changes in connected 
hardware. So in every case please check this table against specification and wiring documentation of the used 
laser!

Variant using E1701D Baseboard.

Signal Name

Board

E1702S Pin

GZTECH DB9 

connector Pin

GZTECH Signal Name

LaserA / Frequency

E1702S Baseboard

22

3

PWM

GND

10

5

GND

LaserGate

20

2

Gate

Within BeamConstruct following settings have to be done in order to control the laser:

menu “Project”   “Project settings”   tab-pane “Scanner”   button “Configure”   parameter “Laser 

type” has to be set to value “YAG1”

menu “Project”   “Pen settings”   tab-pane “General”: the “Frequency” slider has to be set to an 

appropriate value (typically 30..50 kHz, please refer to the manual of the laser for further details), the 
“Power” slider has no effect as no additional power output was configured in scanner controller 
settings

menu “Project”   “Pen settings”   tab-pane “Laser”: the parameter “Pulse length” has to be set to an 

appropriate value (such as 1 usec, please refer to the manual of the laser for further details)

To use this laser model with BeamConstruct, HALsetup software package version 8.2-07 or newer is required.

111

background image

APPENDIX B – E1701D Compatibility Adaptor

The E1701D-adaptor can be used to provide a pinout which is compatible to a E1701D scanner controller card 
plus its LP8 extension board:

1. Is the connection to the E1702S controller, it has to be plugged into its scanner interface connector 

directly; please note pin 1 / orientation of the connector!

2. Provides an E1701D-compatible scanner interface pinout:

Upper 

Row Of 

Pins

Signal

Remarks

Lower 

Row Of 

Pins

Signal

Remarks

1

CLK- / SYNC-

XY2-100 / XY3-100

2

CLK+ / SYNC+

XY2-100 / XY3-100

3

SYNC- / CLK-

4

SYNC+ / CLK+

5

X-

6

X+

7

Y-

8

Y+

9

Not used

10

Not used

11

LaserA

Laser control 
signals

12

GND

13

Laser Gate

14

GND

15

LaserB

16

ExtStart

Input control signals

17

5V

18

ExtStop

19

do not connect

20

GND

21

GND

22

GND

23

do not connect

24

do not connect

25

Not used

26

Not used

3. Provides an E1701D-LP8-compatible laser interface pinout:

112

background image

Upper 

Row 

Of 

Pins

Signal

Remarks

Lower 

Row Of 

Pins

Signal

Remarks

1

LP8_0

2

GND

3

LP8_1

4

Pilot

Pilot-laser of E1702

5

LP8_2

6

5V

7

LP8_3

8

MO

Main Oscillator

9

LP8_4

10

Not used

11

LP8_5

12

13

LP8_6

14

15

LP8_7

16

17

LP8 Latch

18

5V

19

LaserB

FPK

20

Not used

21

Not used

22

LaserA

PWM, frequency or Q-
Switch

23

GND

24

25

5V

26

LaserGate

4.

For details about the E1701D and the LP8 extension, its interfaces and signals, please refer to the related 
manual from 

https://halaser.systems/manuals/e1701_manual.pdf

113

background image

APPENDIX C – IDC connector pin numbering

Pin numbering of the IDC connectors (according to pinout-tables shown in hardware description sections 
above) can be seen in below image:

The first pin is marked by a small arrow in connector. Second pin is below of it, counting continues column-wise.

These connectrors itself are standard IDC connectors with 2,54 mm contact spacing.

114

background image

APPENDIX D – E1702S XY2-100 protocol description

The data submitted at 26 pin connector of E1702S are conform to XY2-100 specification:

CLK+

SYNC+

X+, Y+ Data

In standard 16 bit operating mode first three bits are set to 001, then 16 bit position data followed by a parity 
bit (even parity) are transmitted:

19

18

17

16

15

14

13

12

11

10

9

8

7

6

5

4

3

2

1

0

0

0

1

D15..D0 position data

Pe

In enhanced XY2-100 18 bit operating mode first bit is set to 1, then 18 bit position data followed by a parity bit 
(odd parity) are transmitted:

19

18

17

16

15

14

13

12

11

10

9

8

7

6

5

4

3

2

1

0

1

D17..D0 position data

Po

To use this mode, the related tune-value has to be set in configuration file (please refer to section “6.1.8 
microSD-Card
”)

115

background image

APPENDIX E – E1702S XY3-100 protocol description

Depending on the actual configuration, the data submitted at 26 pin connector of E1702S are conform to XY3-
100 specification. For details about the XY3-100 protocol, please check the standard specification from 

https://lasia.org/documents.php

.

116

background image

APPENDIX F – E1702S SL2-100 protocol description

For information about the SL2-100 scanner protocol, please refer to information given online at 

https://halaser.systems/compare.php#XY3

117

background image

APPENDIX G – Board dimensions

E1702S board dimension drawings (baseboard plus optional extension boards), all values are given in unit mm.

Connectors, bottom view:

Connectors, top view:

Board type

C

D

E1702S Baseboard

40 mm 7,3 mm

Digi I/O Extension Board

34 mm 10,3 mm

Secondary Head Extension Board 40 mm 7,3 mm

Dimensions, top view:

X

 – for future compatibility leave additional space of 10 mm at Ethernet connector 

side of the controller

E170Xbase dimension drawing, all values are given in unit mm.

118

background image

119

background image

Index
1

16-bit IO port - 24
18 bit - 23, 115

2

2D marking on-the-fly - 39
2D on-the-fly - 22

A

Alive - 17
ASCII - 50
autofile - 20, 33

B

BeamConstruct PRO license - 12, 16
BNC - 45f.
boot - 25
Boot - 17

C

C45 rail - 48
C45 rail adapter - 48
C45 rail lock - 48
cdepr - 53
cdser - 55
cecho - 50
cfror - 54
cftim - 56
cgbds - 50
cgbsr - 51
cgbuf - 53
cgcor - 52
cgepr - 52
cginp - 58
cglog - 50
cgmtx - 54
cgser - 55
cgsta - 56
cgtim - 56
cgtin - 52
cgtxt - 57f.
chalt - 51
ciser - 55
cjsor - 20, 53
clepr - 34, 52, 98
CLK - 28
cmsor - 20, 53
CO2 - 10
corrtable - 19, 52
corrtable0 - 19
cpuor - 54
cpwor - 20, 54
crotx - 58
croty - 58
crotz - 58
crrrr - 57
crser - 55

120

background image

crtim - 56
csbuf - 53
csclx - 58
cscly - 58
csclz - 58
cscor - 19, 52
csele - 57
cslgt - 58
cslmo - 59
cslp8 - 59
cslxy - 58
cslxz - 58
cslyx - 58
cslyz - 58
cslzx - 58
cslzy - 58
csmtx - 54f.
csout - 58
cspil - 59
cspof - 55
csser - 55
cssta - 22, 57
cstat - 51, 72
cstdy - 56
csthr - 56
cstim - 55
cstmi - 56
cstmo - 56
cstop - 51
cstrt - 51
cstsc - 56
cstxt - 57f.
cstyr - 56
cswaf - 25, 54
ctrig - 51
ctrnx - 57
ctrny - 57
ctrnz - 57
cvers - 50
CW - 10, 26
cxcnc - 25, 51, 67, 70

D

D-SUB15 - 28
D-SUB25 - 27f.
DataMatrix - 101
DAVI D-Series RF CO2 - 110
Digi I/O - 43
digidebc - 21
digiinit - 21
digimask - 21
digital in- and outputs - 36
dimension drawing - 118
dimensions - 118
DIN rail - 48
DIN/C45 rail adapter - 48
DIN/C45 rail lock - 48
Download new firmware - 65
DYN_DATA_MAX_STRING_LENGTH - 100f.

121

background image

E

e1702.cfg - 18, 73
e1702.dat - 18
e1702.fwi - 18
E1702S - 117
E170X_close() - 74, 98f.
E170X_COMMAND_FLAG_DIRECT - 80, 90ff., 97
E170X_COMMAND_FLAG_MOTF_WAIT_BITS - 94
E170X_COMMAND_FLAG_MOTF_WAIT_INCS - 94
E170X_COMMAND_FLAG_PASSIVE - 93
E170X_COMMAND_FLAG_SCANNER_VAR_POLYDELAY - 78
E170X_COMMAND_FLAG_STREAM - 80, 90ff., 97
E170X_COMMAND_FLAG_SYNC - 86
E170X_COMMAND_FLAG_WRITE_LASERA_GPO - 98
E170X_COMMAND_FLAG_WRITE_LASERB_GPO - 98
E170X_COMMAND_FLAG_WRITE_LASERGATE - 98
E170X_COMMAND_FLAG_WRITE_LP8LATCH - 98
E170X_COMMAND_FLAG_WRITE_LP8MO - 98
E170X_COMMAND_FLAG_XYCORR_MIRRORX - 75
E170X_COMMAND_FLAG_XYCORR_MIRRORY - 75
E170X_CSTATE_FILE_WRITE_ERROR - 87
E170X_CSTATE_HALTED - 87
E170X_CSTATE_MARKING - 87
E170X_CSTATE_PROCESSING - 87
E170X_CSTATE_SAC_CTLXY - 88
E170X_CSTATE_SAC_MARKING - 88
E170X_CSTATE_SAC_READY - 88
E170X_CSTATE_WAIT_EXTTRIGGER - 87
E170X_CSTATE_WAIT_INPUT - 87
E170X_CSTATE_WAS_START_PRESSED - 87
E170X_CSTATE_WAS_STOP_PRESSED - 87
E170X_CSTATE_WRITING_DATA - 65
E170X_CSTATE_WRITING_DATA_ERROR - 65
E170X_delay() - 88, 94
E170X_digi_pulse() - 92
E170X_digi_read() - 93
E170X_digi_set_mip_output() - 20, 94
E170X_digi_set_motf_sim( - 94
E170X_digi_set_motf_sim() - 94
E170X_digi_set_motf() - 93f.
E170X_digi_set_wet_output() - 21, 95
E170X_digi_wait_motf() - 94
E170X_digi_wait() - 93
E170X_digi_write() - 92
E170X_digim_move_abs() - 96
E170X_digim_move_rel() - 97
E170X_digim_set_accels() - 96
E170X_digim_set_limits() - 96
E170X_digim_set_pos() - 97
E170X_digim_set_speed() - 96f.
E170X_dynamic_data2() - 98f.
E170X_ERROR - 103
E170X_ERROR_BORD_NA - 92, 96, 102
E170X_ERROR_FILENAME - 103
E170X_ERROR_FILEOPEN - 102
E170X_ERROR_FILEWRITE - 102
E170X_ERROR_INVALID_CARD - 102
E170X_ERROR_INVALID_DATA - 102
E170X_ERROR_NO_CONNECTION - 102

122

background image

E170X_ERROR_NO_MEMORY - 102
E170X_ERROR_NOT_SUPPORTED - 103
E170X_ERROR_STILL_IN_PROGRESS - 103
E170X_ERROR_TRANSMISSION - 102
E170X_ERROR_UNKNOWN_BOARD - 103
E170X_ERROR_UNKNOWN_FW - 102
E170X_execute() - 73, 85f.
E170X_FILEMODE_LOCAL - 98f.
E170X_FILEMODE_SEND - 98f.
E170X_FREE_SPACE_PRIMARY - 85, 89
E170X_FREE_SPACE_SECONDARY - 89
E170X_get_card_state() - 86f., 95, 97
E170X_get_free_space() - 73, 85, 89
E170X_get_library_version() - 90
E170X_get_pos() - 82
E170X_get_serial_number() - 90
E170X_get_startstop_state() - 86
E170X_get_sync() - 85
E170X_get_version() - 90
E170X_halt_execution() - 86f.
E170X_jump_abs() - 80, 94
E170X_LASERMODE_CO2 - 78
E170X_LASERMODE_CRF - 79
E170X_LASERMODE_DFREQ - 79, 89
E170X_LASERMODE_MOPA - 70, 80
E170X_LASERMODE_YAG1 - 78
E170X_LASERMODE_YAG2 - 79
E170X_LASERMODE_YAG3 - 79, 89
E170X_load_correction() - 73f., 99
E170X_lp8_write_latch() - 91
E170X_lp8_write_mo() - 91
E170X_lp8_write_pilot() - 91
E170X_lp8_write() - 90
E170X_mark_abs() - 81, 94
E170X_mark_pixelline() - 83f.
E170X_OK - 102
E170X_PIXELMODE_GATE_POWER_CONTROL - 83
E170X_PIXELMODE_HW_POWER_CONTROL - 83
E170X_PIXELMODE_JUMP_LEAVE_POWER - 83
E170X_PIXELMODE_JUMP_N_SHOOT - 83
E170X_PIXELMODE_NO_JUMPS - 83
E170X_power_callback - 84
E170X_release_trigger_point() - 84f., 89, 94
E170X_set_connection() - 73, 82, 97ff.
E170X_set_debug_logfile() - 75
E170X_set_filepath() - 98f.
E170X_set_fpk() - 89
E170X_set_laser_delays() - 77, 83
E170X_set_laser_mode() - 78
E170X_set_laser_timing() - 88
E170X_set_laser() - 80
E170X_set_laserb() - 79, 89
E170X_set_matrix() - 75, 84
E170X_set_overspeed() - 77

E170X_set_password() - 19, 73
E170X_set_pixelmode() - 82
E170X_set_pos() - 82
E170X_set_scanner_delays - 78
E170X_set_scanner_delays() - 78
E170X_set_speeds() - 76

123

background image

E170X_set_standby() - 88
E170X_set_sync() - 85
E170X_set_trigger_point() - 73, 84f., 94
E170X_set_wobble() - 80
E170X_set_xy_correction() - 75
E170X_set_xy_correction2() - 84
E170X_set_z_correction() - 75
E170X_stop_execution() - 86
E170X_switch_correction() - 74
E170X_write() - 97
electrically insulated - 36
electrostatic sensitive device - 9
enhanced XY2-100 - 23, 115
EPR - 30, 52f.
Error - 18
ESD - 9
eth - 24
Ethernet - 10, 13ff., 19, 24f.
extension - 29
ExtStart - 45, 84f., 95
ExtStop - 45, 86

F

fiber laser - 105
Firmware - 25
FPK - 10, 45, 113

G

G-Code - 51
G0 - 68, 70
G1 - 68, 70
G2 - 68
G3 - 68
G4 - 68
G70 - 70
G71 - 70
g718 - 1
gateway - 24
GRBL - 71
grid correction - 10
GZTECH S355 series DPSS - 111
GZTech YFPN - 44, 104

H

HALnode Compact Ethernet IO - 24
haltedloop - 20, 33
haltedlooptimeout - 20, 33

I

idxselect - 20, 34, 52f.
in-polygon delay - 78
iobuff - 20, 34, 53
iohaltedloop - 20, 33f., 52f.
iolatch - 19, 34
ioselect - 20, 30, 33ff., 52f.
iothres - 20
IP - 13, 19
ip0 - 19
IPG - 10, 44
IPG YLP - 44, 104ff.

124

background image

J

JPT - 44
JPT YDFLP - 44, 105
jump delay - 78, 80

L

Laser LED - 18
Laser LEDs - 13
laser off delay - 81
laser on delay - 81
LaserA - 113
LaserB - 113
lasergate - 21
Latch - 26f., 113
LED - 17
load_correction_file() - 74
loop - 33
LP8 - 23, 26f.

M

M2 - 51, 69
M3 - 69
M5 - 69
M704 - 68
M707 - 70
M709 - 68ff.
M715 - 69
m718 - 1
M718 - 69
machine network - 13
main oscillator - 23
mark delay - 78, 81
Marking Active - 18
marking on-the-fly - 11, 36f.
Marking On-The-Fly - 38
Master Oscillator - 10, 113
MaxPhotonics - 44, 109
MaxPhotonics MFP - 44, 109
MFP - 44
Micro-SD - 18
Micro-SD-card - 13
Micro-SD-Card - 18
microUSB - 16
mipout - 20
MO - 23, 113
MOPA - 44, 105
MOPA alarm - 45

N

n_load_correction_file() - 74
netmask - 24
node0 - 24
node1 - 24

NOTE - 13
NTP - 23
NX-02 - 10, 13, 27, 41

O

Opto-Configuration - 36, 39

125

background image

opto-insulated - 37

P

passwd - 19
pethd - 25
polydelay - 78
Power - 13
Power LED - 13, 17f.
Power supply - 17
PWM - 45, 113
PWM frequency - 10

Q

Q-Switch - 10, 113
quadrature encoder - 11

R

Raycus - 44, 108
Raycus RFL-PMX - 44
Raycus RFL-PQB - 44
Reset - 13, 18
RFL-PMX - 44
RFL-PQB - 44

S

ScSCIInitInterface() - 74
SL2-100 - 117
SNTP - 23
Stand-Alone - 32
Stand-Alone Control - 35
standalone - 19
Stop - 18
SYNC - 28

T

T1 - 69, 71
tune - 21
tunemarkout - 21ff., 35
tunereadyout - 21ff., 35
Type B - 104
Type D - 105
Type E - 106
Type F - 107

U

USB - 13
USB 2.0 - 10
User LEDs - 13

V

value - 97

W

wetout - 21

Windows - 14f.

X

XY2-100 - 10, 44
XY2/100 - 13, 27f.
XY3-100 - 10, 13, 23, 26, 28, 44, 116

126

background image

Y

YAG - 10
YAG/CO2 - 45
YDFLP - 44
YLP - 44

.

.bco - 74
.crt - 74
.ct5 - 74
.ctb - 74
.fcr - 74
.gcd - 74
.txt - 74
.ucf - 74
.xml - 74

127